Control unit S20_20211119_100905 - 第7页

Control unit S20 Page 7 / 7 19.11.2021 Pos. Item no. Description Part marking 29 00324351-01 TCP/IP-CONNECTION KSP COM290 00327933-01 BNC-CABLE 2,5M SPARE 00321869-01 BNC T-ADAPTER (B/S/B) 30 00386353-01 GER_FLOPPY_D353G…

100%1 / 7
Control unit S20
Page 5 / 7 19.11.2021
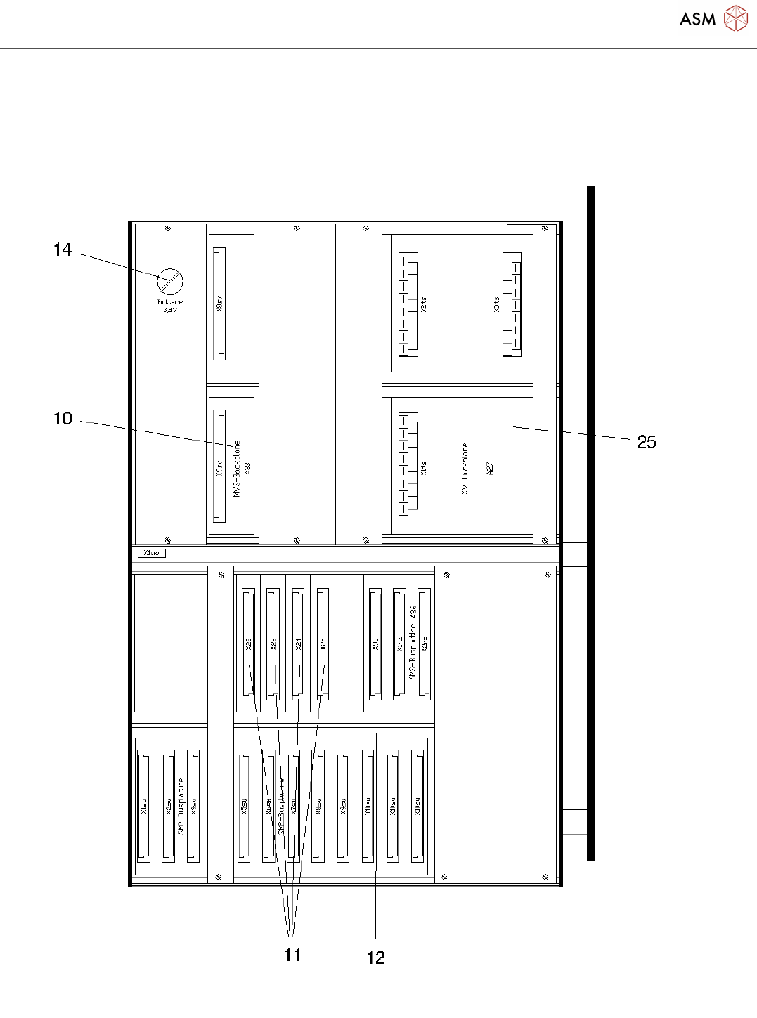
Control unit S20
Page 6 / 7 19.11.2021
Pos. Item no. Description Part marking
1 00324087-07 CONTROL UNIT S20
2 00344769S02 MVS200/EDA1(ICOS) V2185E XC75 SPARE PART
3 00324143S06 CONTROL UNIT S20 B
00347286S01 CONTROL UNIT S20B/F4B BASIC SPARE
5 00352477-01 CONTROL UNIT S20B/F4B RACK
6 00342582-01 BACKPLANE POWER SUPPLY S23
7 00324117-01 BACKPLANE SMP16-SYS402 SPARE
8 00324118-01 REAR PANEL ASSEMBLY
SMP16-SYS40 2
9 00305443-01 REAR PANEL ASSEMBLY
10 00335540-01 MVS-BACKPLANE Spare Part
11 00329179-01 EMV-BACKPLANE AXIS
12 00335535-01 EMV-BACKPLANE COM
00345028-01 FAN UNIT S23
13 00310847-02 FAN 4414F / 24VDC / 240MA SPARE PART
14 00336392-01 BATTERY LITHIUM 3.6V MIGNON
15 00320927S10 MACHINE CONTROLLER SPARE PART
16 00320312-01 INPUT-OUTPUT-BOARD (MIXED) Spare Part
17 00321617S05 AXIS TURRET Spare
18 00314849S06 AXIS KSP-A361 V001.81 SPARE
19 00321036-01 AXIS REAR PANEL Spare Part
20 00321037-01 AXIS REAR PANEL SPARE PART
22 00335526S06 MASS STORAGE KSP-M351 SPARE PART
23 00326142-07 COMMUNICATION UNIT KSP-
COM351
24 00320924-03 TCP/IP-SWITCHING KSP-COM223 Spare Part
25 00344771S04 POWER SUPPLY S23 SPARE PART
26 00322551-03 TRANSCEIVER 10 MBPS AUI TO BNC
00324196-02 TRANSCEIVER CABLE SPARE
00325061-01 CABLE TREE CONTROL UNIT
S20GEM
00116063-01 GEM INTERFACE SI80 S-20/F4/F5
405.XX/M44
27 00327321S03 GEM-COMPUTER KSP-M44GEM
28 00343252S03 FLOPPY / WINCHESTER FOR CPU
M44
SPARE PART
Control unit S20
Page 7 / 7 19.11.2021
Pos. Item no. Description Part marking
29 00324351-01 TCP/IP-CONNECTION KSP COM290
00327933-01 BNC-CABLE 2,5M SPARE
00321869-01 BNC T-ADAPTER (B/S/B)
30 00386353-01 GER_FLOPPY_D353G_`1/1,6/2MB Spare Part
Powered by TCPDF (www.tcpdf.org)