JM-100_维修调整要领书 - 第22页
维修调整要领书 1- 16 2 ) 卸下可动部分侧 CABLE_CLAMP_ X2 ,并切除束线带。 3 ) 拆下固定端侧 CABLE_CLAMP_ X 。 4 ) 删除 XY 拖链的电缆和光缆 7M 的固定面的 Y 轴电缆托盘连接器。 图 1 -4 -1- 3 图 1 -4 -1- 4 图 1 -4 -1- 5 图 1 -4 -1- 6

维修调整要领书
1-15
1-4 XY拖链电缆束线的更换要领说明
1-4-1 拆下X电缆
1) 取下贴装头顶盖,卸下与 XY 拖链电缆相连的各类插接器和 OPTICAL FIBER CABLE 7M。
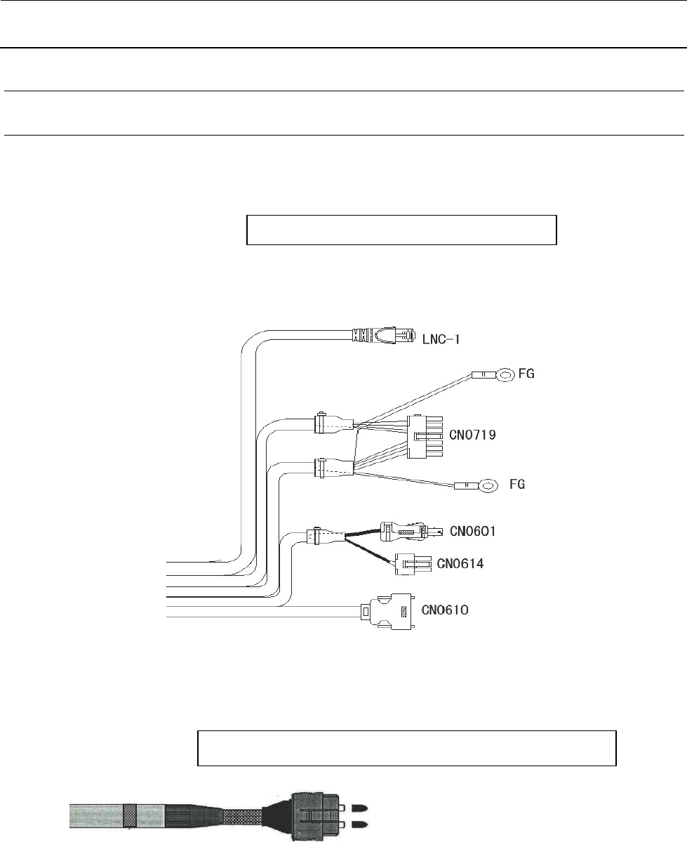
XY 拖链电缆
XY
拖链电缆(
40205709
)
OPTICAL FIBER CABLE 7M
OPTICAL FIBER CABLE 7M(40048070)
图 1-4-1-1
图 1-4-1-2

维修调整要领书
1-16
2) 卸下可动部分侧 CABLE_CLAMP_X2,并切除束线带。
3) 拆下固定端侧 CABLE_CLAMP_X。
4) 删除 XY 拖链的电缆和光缆 7M 的固定面的 Y 轴电缆托盘连接器。
图 1-4-1-3
图 1-4-1-4
图 1-4-1-5
图 1-4-1-6

维修调整要领书
1-17
5) 卸下可动侧 FC_SUPPORT_Y_V2,并切除束线带。
6) 卸下固定侧 FC_SUPPORT_Y_V2,并切除束线带。
7) 拆下电缆载体的盖,并取出 XY 电缆。
图 1-4-1-7
图 1-4-1-8