Basic module_20211122_064210 - 第6页
Basic module Page 6 / 7 22.11.2021 Pos. Item no. Description Part marking 1 03089330-01 MACHINE BASE PRE-INSTALLED SX4A 2 03089331-01 MACHINE BASE SX4A 3 03041021-02 SETTING SCREW M24X2X120 4 03002561-01 MACHINE BASE HF …

Basic module
Page 5 / 7 22.11.2021

Basic module
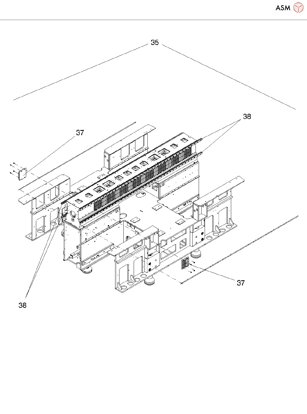
Page 6 / 7 22.11.2021
Pos. Item no. Description Part marking
1 03089330-01 MACHINE BASE PRE-INSTALLED
SX4A
2 03089331-01 MACHINE BASE SX4A
3 03041021-02 SETTING SCREW M24X2X120
4 03002561-01 MACHINE BASE HF SPARE PART
5 03000890-02 MACHINE BASE SPARE PART
6 00845057-01 DIN912-M6 X 12-8.8
7 03002282-01 SPACER THREAD SPARE PART
8 03089470-01 STRIATION INBOARD
9 03095260-02 ASSEMBLY PARTS FRAME SX4A
10 03084404-01 COVERPLATE INSIDE PLACEMENT
AREA 1 SX4
11 03080534-01 COVER PLATE INTERIOR BB2 SX4
12 03095110-03 SUPPORT SHEET CPL. SX4
13 03082150-02 DRAWER GCU SX4 CPL.
14 03075240-02 SLIDING PLATE GCU SX4
15 03075236-02 GCU SLIDER PLATE
16 03075254-02 BRACKET FOR GCU POSITION
17 03056913-01 ISO 4762 - M 4 X 5-A2-70 STANDARD PARTS
18 03082140-01 HOLDER FOR GCU BEHIND CPL.
19 03082142-02 HOOK FOR HOLDER GCU BEHIND
20 03066810-01 ISO 7092 - 4 - 200 HV - A2 STANDARD PARTS
21 03091958-01 SHEET METAL PARTS GCU SPARE PART
22 03091934-01 HOOK FOR HOLDER GCU
23 03077784-01 LOCKING DEVICE DISTRIBUTOR
PLATE LEFT
24 03077806-01 CLOSING BAIL DISTRIBUTOR PLATE
25 03077713-01 BRACKET BOXPC CPL SX4
26 03042542-01 ISO 4762 - M 3 X 8-A2-70 STANDARD PARTS
27 03002842S01 KLETTOSTAR FLEECE 20X80 STANDARD PARTS
28 03082074-01 BRACKET FOR SUPPORTPLATE 2
29 03084417-01 CABLE DUCT
30 03096340-01 INTERFACE, Y TRAILING CABLE CPL.,
VAR.2
31 03096323-01 M3 THREADED ROD CPL.
32 03008162-01 ISO 4032 - M3-A2-70 STANDARD PARTS
