KD-2077-Rev03PD.pdf - 第56页
- - 27.P WB CO N VE Y O R COM P ONEN T S (7) 2 4 2 2 4 4 4 3 2 3 3 9 4 2 A 3 8 4 1 4 1 A 3 4 4 0 1 4 1 7 1 8 2 1 3 7 2 5 2 6 2 7 2 8 2 9 3 0 3 1 3 2 3 5 3 6 6 7 8 9 1 0 1 1 1 3 1 2 B B 3 3 8 5 1 4

- -
REF.NO NOTE PART NO D E S C R I P T I O N Qty
1 400-50344 CONVEYOR MOTOR ASM L 1
2 400-50345 CONVEYOR MOTOR C ASM L 1
3 400-01009 MOTOR BRAKET C(L) (1)
4 400-00869 MOTOR ADJUST PLATE (1)
5 E9431-729-0A0 CENT MOTOR ASM. (1)
6 SL-6041242-TN BOLT (4)
7 400-00870 MOTOR PULLEY C (1)
8 SM-8030602-TP SCREW M3X0.5 L=6 (3)
9 SL-6051292-TN BOLT (2)
10 400-54802 CONVEYOR MOTOR LR ASM(L) (2)
11 E9431-729-0A0 CENT MOTOR ASM. (1)
12 SM-4054501-SC SCREW M5X0.8 L=45 (4)
13 WS-0510002-KN SPRING WASHER (4)
14 400-00870 MOTOR PULLEY C (1)
15 SM-8030602-TP SCREW M3X0.5 L=6 (2)
16 400-46034 MOTOR BRACKET S(6) (1)
17 SL-6051092-TN BOLT (8)
18 SL-6051492-TN BOLT (2)
19 400-80299 PUSHER PLATE ASM (L) 1
20 E4055-725-000 PUSHER PLATE(E) (1)
21 E2165-721-000 PUSHER SPACER (4)
22 WP-0430801-SC WASHER 4.3X9X0.8 (4)
23 WS-0410002-KN SPRING WASHER (4)
24 NM-6040001-SC NUT M4 (4)
25 400-80300 Y PUSHER ASM (5)
26 PJ-0460525-01 ELBOW (1)
27 PJ-0460590-05 CONNECTOR (4)
28 HX-0029400-00 FIXED BASE (1)
29 BT-0400251-EA TUBE HOSE, BLUE (0.3)
30 400-01010 WAIT SENSOR BRACKET ASM(L) 1
31 HX-0034400-00 HARNESS PARTS (3)
32 SL-6030692-TN BOLT (1)
33 SL-6031092-TN SCREW (2)
34 E2090-725-000 WEIGHT SENSOR BLOCK (1)
35 SL-6031492-TN SCREW (2)
36 SL-6041092-TN SCREW (2)
37 400-19162 WAIT SENSOR BRACKET A (1)
38 E4092-725-000 WEIGHT SENSOR BRACKET B(E) (1)
39 SL-6030592-TN SCREW M3 L=5 (2)
40 400-01071 ADJUST BELT ASM(L) 1
41 400-00880 FIXED BELT (1)
42 400-00881 ADJUST BELT CLAMP (1)
43 SL-6030892-TN SCREW (2)
44 400-00882 ADJUST BELT PLATE (1)
45 400-01072 PIN ADJUST BELT(L) (1)
46 400-01067 RAIL SUPPORT(L) 1
47 SL-6041092-TN SCREW 2
48 400-62328 GUIDE BLOCK ST ASM 1
49 400-00887 GUIDE BLOCK A ASM (1)
50 400-00888 GUIDE BLOCK (1)
51 SB-7040001-00 BEARING (2)
52 E2122-715-000 GB SLEEVE (1)
53 400-00889 GUIDE BLOCK B ASM (1)
54 400-00890 GUIDE BLOCK B (1)
55 SB-7040001-00 BEARING (2)
56 E2122-715-000 GB SLEEVE (1)
57 400-00877 GUIDE BLOCK CLAMP (1)
58 SM-6041602-TN SCREW M4 X 16 (1)

- -
27.PWB CONVEYOR COMPONENTS (7)
2 4
2 2
4 4
4 3
2 3
3 9
4 2
A
3 8
4 1
4 1
A
3 4
4 0
1 4 1 7
1 8 2 1
3 7
2 5
2 6
2 7
2 8
2 9
3 0
3 1
3 2
3 5
3 6
6
7
8
9
1 0
1 1
1 3
1 2
B
B
3 3
8
5
1 4

- -
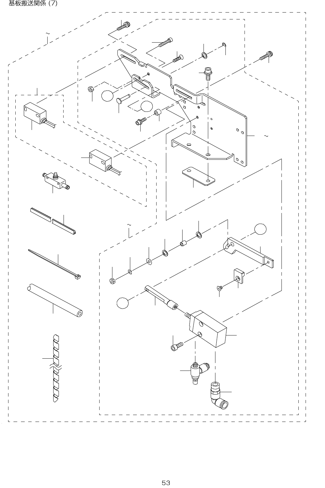
REF.NO NOTE PART NO D E S C R I P T I O N Qty
1 400-69585 STOPPER FR SENSOR ASM 1
2 400-69586 STOPPER FL SENSOR ASM 1
3 400-69593 STOPPER RR SENSOR ASM 1
4 400-69594 STOPPER RL SENSOR ASM 1
5 400-00964 STOPER SENSOR ASM (1)
6 400-02214 STOP SENS ASM (1)
7 400-02235 C.OUT SENS ASM. (1)
8 SL-4031291-SC SCREW M3X12 (2)
9 PC-0124010-00 SPEED CONTROLLER (1)
10 HX-0036700-0A BUSH (0.1)
11 EA-9500B00-00 CLIP CV-70S (4)
12 BT-0400251-EA TUBE HOSE, BLUE (4)
13 HX-0031400-00 SPIRAL TABE (0.4)
14
#01
400-69595 STOPPER FR 77 (L) ASM (1)
15
#02
400-69596 STOPPER FL 77 (L) ASM (1)
16
#03
400-69597 STOPPER RR 77 (L) ASM (1)
17
#04
400-69598 STOPPER RL 77 (L) ASM (1)
18
#01
400-69341 STOPPER FRAME 77 F LR (L) (1)
19
#02
400-69342 STOPPER FRAME 77 F RL (L) (1)
20
#03
400-69343 STOPPER FRAME 77 R LR (L) (1)
21
#04
400-69344 STOPPER FRAME 77 R RL (L) (1)
22 NM-6030001-SC NUT M3 (1)
23 400-23788 STOPER SPACER (1)
24 SL-6030842-TN SCREW M3 L=8 (1)
25 400-00910 STOPER PIN (1)
26 RE-0200000-K0 E-RING (1)
27 WP-0320501-SC WASHER M3 (1)
28 400-00911 STOPER CONNECT (1)
29 PA-1002008-A0 AIR CYLINDER (1)
30 SM-6031402-TN SCREW M3X0.5 L=8 (2)
31 PC-0105080-00 SPEED CONTROLLER (1)
32 PJ-3040405-11 ELBOW UNION (1)
33 SL-6041292-TN SCREW (2)
34 E2169-721-000 HOLD PLATE (1)
35 SM-6031502-UZ SCREW M3 L=15 (1)
36 NM-6030002-SC NUT M3 (1)
37 400-00909 STOPPER (1)
38 E2233-725-000 STOPPER CHIP (1)
39 SM-1030401-SE SCREW M3 L=4 (1)
40 SM-1031201-SC SCREW M3X0.5 L=12 (1)
41 E2039-721-000 WASHER A (2)
42 E2038-721-000 STOPPER COLLAR (1)
43 WP-0330516-SC WASHER 3.3X8X0.5 (1)
44 WS-0310002-KN SPRING WASHER M3 (1)