BM123 Mechanical 20160307 - 第79页
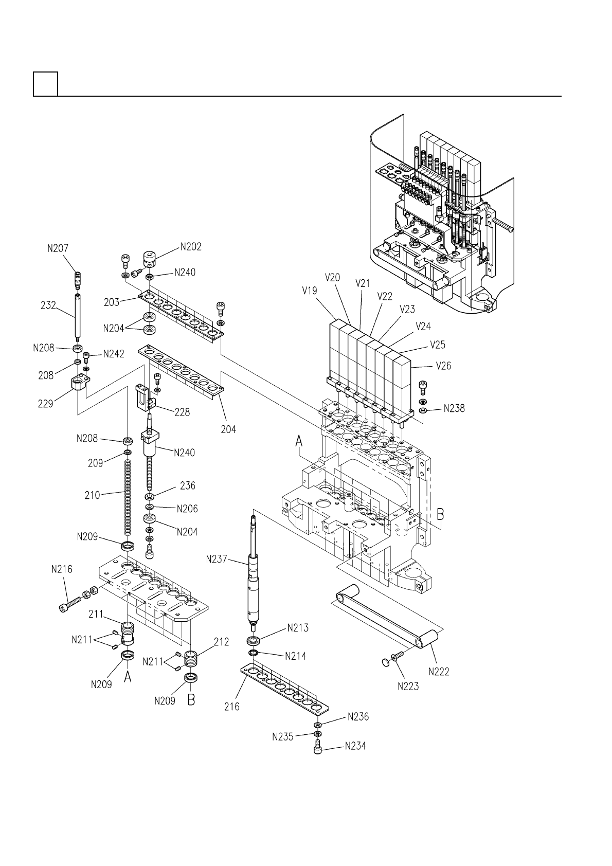
PART NAME REMARKS Q'TY 7 ヘッ ド 部( 駆動部1 ) HEAD SECT.( DRIVING S ECT.-1) イラスト No. REF No. PART No. 部 品 名 品 番 個数 備 考 R 1 R 2 1 N610014576AA HEAD DRIVING UNIT ヘッドクドウユニット 1 A001 N610015275AA VALVE バルブ 1 202 N21002450…

ヘッド部(駆動部1)
HEAD SECT.(DRIVING SECT.-1)
7
FN610014576AA_01_B-1
M53

PART NAME
REMARKS
Q'TY
7
ヘッド部(駆動部1)
HEAD SECT.(DRIVING SECT.-1)
イラスト
No.
REF
No.
PART No.
部 品 名 品 番 個数 備 考
R
1
R
2
1 N610014576AA
HEAD DRIVING UNIT ヘッドクドウユニット
1
A001
N610015275AA
VALVE バルブ
1
202 N210024501AA
MAIN BODY メインボディ
2213 108620996101
PULLEY プーリー
4214 108620996201
FLANGE フランジ
1
217 1086209217
PLATE プレート
2
218 108620921802
SHAFT シャフト
2219 108620921901
SHAFT シャフト
1220 108620907901
BRACKET(CONNECTOR) ブラケット(コネクタ)
1
223 108620922303
BRACKET ブラケット
1233 1086289462
BRACKET ブラケット
8234 N210025995AA
BUSHING ブッシュ
1
237 108622923701
BRACKET ブラケット
1
238 108622923801
BRACKET ブラケット
625ZZ
2
N210
XLC625ZZ
BALL BEARING ボールベアリング
M3X3-45H A2J (Trivalen
12
N211
N510018358AA
HEX. SOCKET SET SCREW ロッカクアナツキトメネジ
192-2GT-9
4
N215
N6411922GT9
BELT ベルト
6X15,m6A,STEEL
2
N217
XPJ6A15FW
PARALLEL PIN ヘイコウピン
605ZZ
8
N218
XLC605ZZ
BALL BEARING ボールベアリング
5,STEEL,P.C
4
N219
XUB5FP
RETAINING RING C-TYPE, SHAF C ガタジクヨウトメワ
E39-S63
1
N224
N310E39S63
SLIT PLATE スリット
E3T-ST11
1
N225
N310E3TST11
SENSOR センサ
KQ2H06-08
2
N230
N431KQ2H0608
FITTING ツギテ
TU0604B
1
N231
N434TU0604B
TUBE チューブ
TU0425B
1
N232
N434TU0425B
TUBE チューブ
VV3QZ15-08-X86
1S 1 N510010900AA
VALVE バルブ
HSV1/1
1V 1 308620901303
CABLE ケーブル
HSV2/1
1
V 2 308620901403
CABLE ケーブル
8
V 3 108111011902
PIN ピン
8V 4 108111001801
FILTER フィルタ
M4-6H-4T A2J (Trivalen
8V 5 N510017855AA
NUT ナット
BP-4-L
8
V 6 N510011397AA
PLUNGER プランジャー
VV3QZ15-08M5C-R-X88
1
V 7 N510012401AA
MANIFOLD マニホールト
VQZ115R-5LO-CP-X6
16V 8 N510012402AA
SOLENOID ソレノイド
KJS04-M5
8V 9 N431KJS04M5
FITTING ハーフユニオン
KQS08-01S
1
V10 N431KQS0801S
FITTING ツギテ
KJS06-01S
1
V11 N431KJS0601S
FITTING ツギテ
KJS06-M5
1V12 N431KJS06M5
FITTING ハーフユニオン
M-5P
1V13 N431M5P
PLUG プラグ
KQ2VS08-01S
1
V14 N431KQ2V-181
FITTING ツギテ
AXT661-14A-6
16V15 N411AXT6-410
CONNECTOR コネクタ
PT1/8
1V16 N42201
PLUG プラグ
HC-KFS053
1V17 308620903901
MOTOR モータ
HC-KFS053
1
V18 308620904001
MOTOR モータ
M54
FN610014576AA_01_B-1

ヘッド部(駆動部2)
HEAD SECT.(DRIVING SECT.-2)
7
FN610014576AA_01_B-2
M55