BM123 Mechanical 20160307 - 第200页
CNTノズル部(専用部) CNT NOZZLE SECT.(EXC LUSIVE SE CT.) 24 F10807-88-170 M175

PART NAME
REMARKS
Q'TY
24
ノズル部(共通部)
NOZZLE SECT.(COMMON SECT.)
イラスト
No.
REF
No.
PART No.
部 品 名 品 番 個数 備 考
R
1
R
2
1 1081709810
NOZZLE UNIT ノズルユニット
1
811 1080729975
FILTER フィルタ
1
S 1 10817S0022
NOZZLE FLANGE SET ノズルフランジセット
M174
F10817-09-810-AF

CNTノズル部(専用部)
CNT NOZZLE SECT.(EXCLUSIVE SECT.)
24
F10807-88-170
M175

PART NAME
REMARKS
Q'TY
24
CNTノズル部(専用部)
CNT NOZZLE SECT.(EXCLUSIVE SECT.)
イラスト
No.
REF
No.
PART No.
部 品 名 品 番 個数 備 考
R
1
R
2
NON SUPPLY
1 1080788170
NOZZLE UNIT(CNT) ノズルユニット(CNT)
1
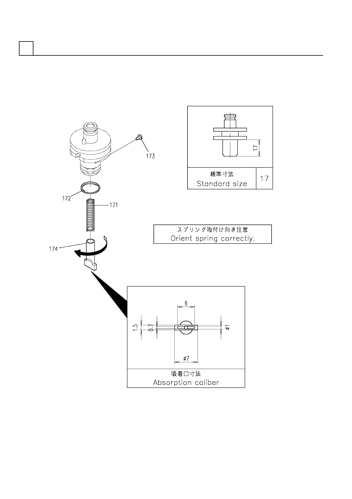
171 1081789830
SPRING バネ
1
172 1080708602
RING リング
1173 108070860301
GUIDE PIN ガイドピン
1174 104590821405
NOZZLE(CNT S) ノズル(CNT S)
M176
F10807-88-170