BM123 Mechanical 20160307 - 第246页
プリント基板搬送部(自動幅 寄せ部) P.C.B. TRAN SFER SECT .(AUTO WI DTH ADJUSTMEN T SECT.) 26 F10862-05-750-AC_B M221

PART NAME
REMARKS
Q'TY
25
本体部(チップ厚み検出センサ取付対応)
MAIN BODY SECT.(SPECIFICATION FOR CHIP THICKNESS DETECTOR SENSOR)
イラスト
No.
REF
No.
PART No.
部 品 名 品 番 個数 備 考
R
1
R
2
1 1086201260
SENSOR ATTACHMENT UNIT センサトリツケユニット
1
261 N210048629AA
BRACKET ブラケット
M220
F10862-01-260-AA_02

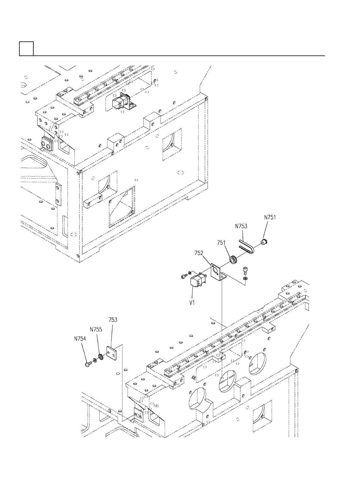
プリント基板搬送部(自動幅寄せ部)
P.C.B. TRANSFER SECT.(AUTO WIDTH ADJUSTMENT SECT.)
26
F10862-05-750-AC_B
M221

PART NAME
REMARKS
Q'TY
26
プリント基板搬送部(自動幅寄せ部)
P.C.B. TRANSFER SECT.(AUTO WIDTH ADJUSTMENT SECT.)
イラスト
No.
REF
No.
PART No.
部 品 名 品 番 個数 備 考
R
1
R
2
1 1086205750
AUTO WIDTH CONTROL UNIT ジドウハバヨセユニット
1
751 108620575101
PULLEY プーリー
1
752 108620575201
BRACKET ブラケット
1753 1086205753
PLATE プレート
SCE201 8X21
1
N751
N645SCE2-029
CLAMP ELEMENT クランプエレメント
2100-3GT-9
1
N753
N64121003GT9
BELT ベルト
M5X16-4.8 A2J (Trivale
2
N754
N510018290AA
TRUSS HEAD SCREW トラスコネジ
5 External toothed Ste
2
N755
N510018765AA
TOOTHED LOCK WASHER ハツキザガネ
HC-KFS053 S
1V 1 308620610301
MOTOR モータ
M222
F10862-05-750-AC_B