BM123 Mechanical 20160307 - 第267页
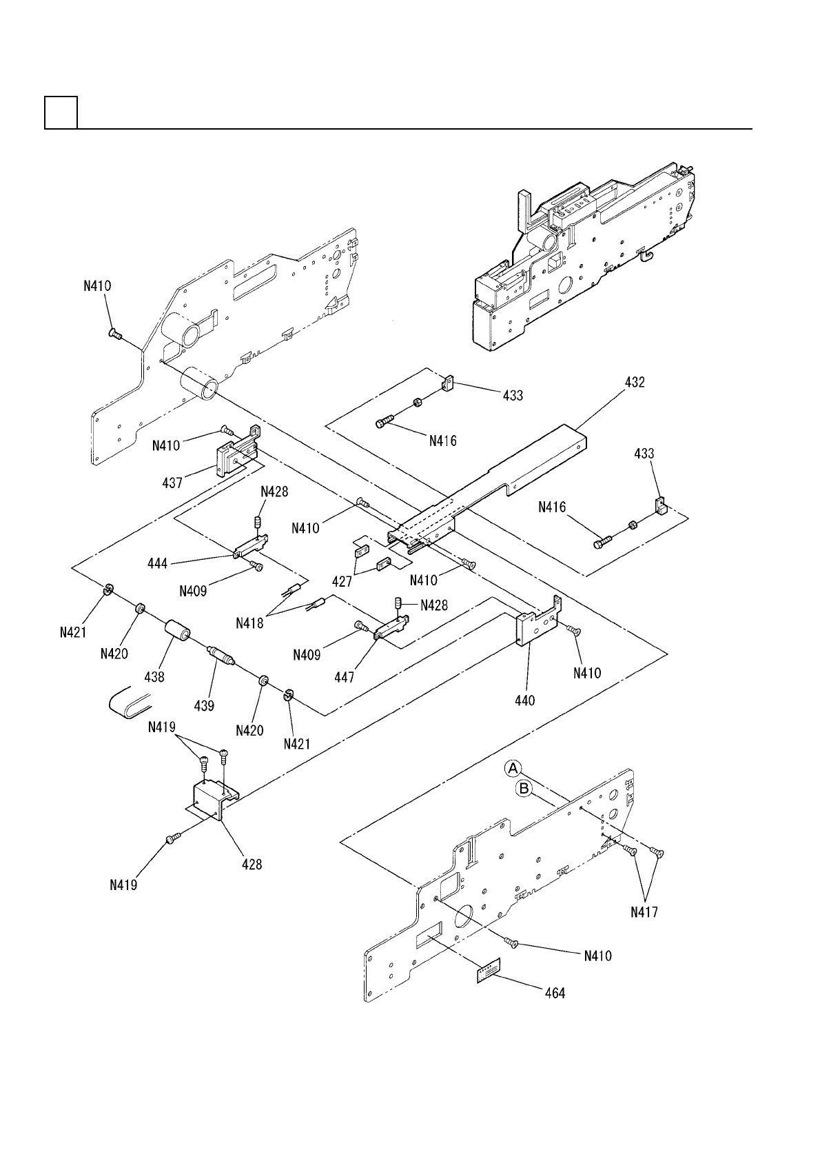
PART NAME REMARKS Q'TY 32 回収コンベア部(2<32mm>) RECOVERY CO NVEYER SE CT.(2<32m m>) イラスト No. REF No. PART No. 部 品 名 品 番 個数 備 考 R 1 R 2 2 427 1089680027 PLATE プレート 1 428 108968022801 COVER カバー 1 432 1089680…

回収コンベア部(2<32mm>)
RECOVERY CONVEYER SECT.(2<32mm>)
32
F10896-80-400-AD_A-2
M241

PART NAME
REMARKS
Q'TY
32
回収コンベア部(2<32mm>)
RECOVERY CONVEYER SECT.(2<32mm>)
イラスト
No.
REF
No.
PART No.
部 品 名 品 番 個数 備 考
R
1
R
2
2427 1089680027
PLATE プレート
1
428 108968022801
COVER カバー
1
432 1089680432
RAIL レール
2433 1089680033
BLOCK ブロック
1437 1089680537
PLATE プレート
1
438 1089680438
PULLEY プーリー
1
439 1089680039
SHAFT シャフト
1440 1089680540
PLATE プレート
1444 1089680544
BLOCK ブロック
1
447 1089680547
BLOCK ブロック
1464 1089698232
LABEL ラベル
FHHSM12AAGZC2M3X4M
4
N409
N986FHHS-H72
SCREW ネジ
M3X6-4.8 A2J (Trivalen
10
N410
N510018158AA
FLUSH HEAD SCREW サラコネジ
M3X16,STEEL,Z.C.T
2
N416
XVGN3A16FYZ
HEXAGON HEAD BOLT ロッカクボルト
M4X8-4.8 A2J (Trivalen
4
N417
N510018180AA
FLUSH HEAD SCREW サラコネジ
FU-16
2
N418
N310FU16
OPTICAL FIBER CABLE UNIT ファイバユニット
M2X4-4.8 A2J (Trivalen
4
N419
N510018027AA
PAN HEAD SCREW ナベコネジ
R-1980HH
2
N420
XLCNR1980HH
BALL BEARING ボールベアリング
ISTW-8
2
N421
XUBN1STW8
RETAINING RING C-TYPE,SHAFT C ガタジクヨウトメワ
M3X6,STEEL,T.T.C
4
N428
XXE3D6FT
SET SCREW ロッカクアナツキトメネジ
M242
F10896-80-400-AD_A-2

回収コンベア部(3<32mm>)
RECOVERY CONVEYER SECT.(3<32mm>)
32
F10896-80-400-AD_A-3
M243