BM123 Mechanical 20160307 - 第42页
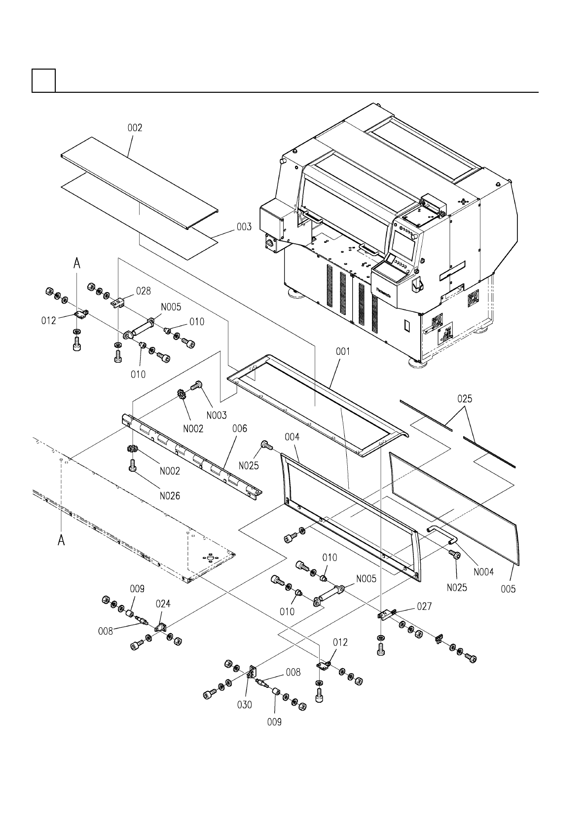
カバー部(5) COVER SECT. (5) 2 FN610031683AA_03-5 M17

PART NAME
REMARKS
Q'TY
2
カバー部(4)
COVER SECT.(4)
イラスト
No.
REF
No.
PART No.
部 品 名 品 番 個数 備 考
R
1
R
2
1001 1086202602
UPPER COVER カバー(UPPER)
1
002 1086202203
UPPER COVER カバー(UPPER)
1
003 1086202204
SEAL シール
1004 108620220502
FRONT COVER カバー(FRONT)
1005 1086202206
FRONT COVER カバー(FRONT)
1
006 1086202214
HINGE ヒンジ
2
008 1086202231
PIN(ROLLER) ピン(ローラ)
2009 1086202232
ROLLER ローラ
4010 1086202235
BUSHING ブッシュ
2
012 N210060812AA
BRACKET ブラケット
1024 1086202533
BRACKET ブラケット
1025 1086207121
LABEL ラベル
1
027 108620261701
BRACKET ブラケット
1
028 1086202518
BRACKET ブラケット
1030 1086202551
BRACKET ブラケット
5 External toothed Ste
12
N002
N510018765AA
TOOTHED LOCK WASHER ハツキザガネ
M5X8-4.8 A2J (Trivalen
6
N003
N510018302AA
TRUSS HEAD SCREW トラスコネジ
THA-31-13-TAP LEG
2
N004
N982THA3413A
DRAWER PULL トッテ
KSF50-10
2
N005
N510012927AA
GAS SPRING ガススプリング
M6X10
2
N025
N986YYYY-K24
SCREW ネジ(ゴクテイトウロッカクアナツキ)
M5X20-4.8 A2J (Trivale
6
N026
N510018292AA
TRUSS HEAD SCREW トラスコネジ
M16
FN610031683AA_03-4

カバー部(5)
COVER SECT.(5)
2
FN610031683AA_03-5
M17

PART NAME
REMARKS
Q'TY
2
カバー部(5)
COVER SECT.(5)
イラスト
No.
REF
No.
PART No.
部 品 名 品 番 個数 備 考
R
1
R
2
1001 1086202602
UPPER COVER カバー(UPPER)
1
002 1086202203
UPPER COVER カバー(UPPER)
1
003 1086202204
SEAL シール
1004 108620220502
FRONT COVER カバー(FRONT)
1005 1086202206
FRONT COVER カバー(FRONT)
1
006 1086202214
HINGE ヒンジ
2
008 1086202231
PIN(ROLLER) ピン(ローラ)
2009 1086202232
ROLLER ローラ
4010 1086202235
BUSHING ブッシュ
2
012 N210060812AA
BRACKET ブラケット
1024 1086202533
BRACKET ブラケット
1025 1086207121
LABEL ラベル
1
027 108620261701
BRACKET ブラケット
1
028 1086202518
BRACKET ブラケット
1030 1086202551
BRACKET ブラケット
5 External toothed Ste
12
N002
N510018765AA
TOOTHED LOCK WASHER ハツキザガネ
M5X8-4.8 A2J (Trivalen
6
N003
N510018302AA
TRUSS HEAD SCREW トラスコネジ
THA-31-13-TAP LEG
2
N004
N982THA3413A
DRAWER PULL トッテ
KSF50-10
2
N005
N510012927AA
GAS SPRING ガススプリング
M6X10
2
N025
N986YYYY-K24
SCREW ネジ(ゴクテイトウロッカクアナツキ)
M5X20-4.8 A2J (Trivale
6
N026
N510018292AA
TRUSS HEAD SCREW トラスコネジ
M18
FN610031683AA_03-5