BM123 Mechanical 20160307 - 第91页
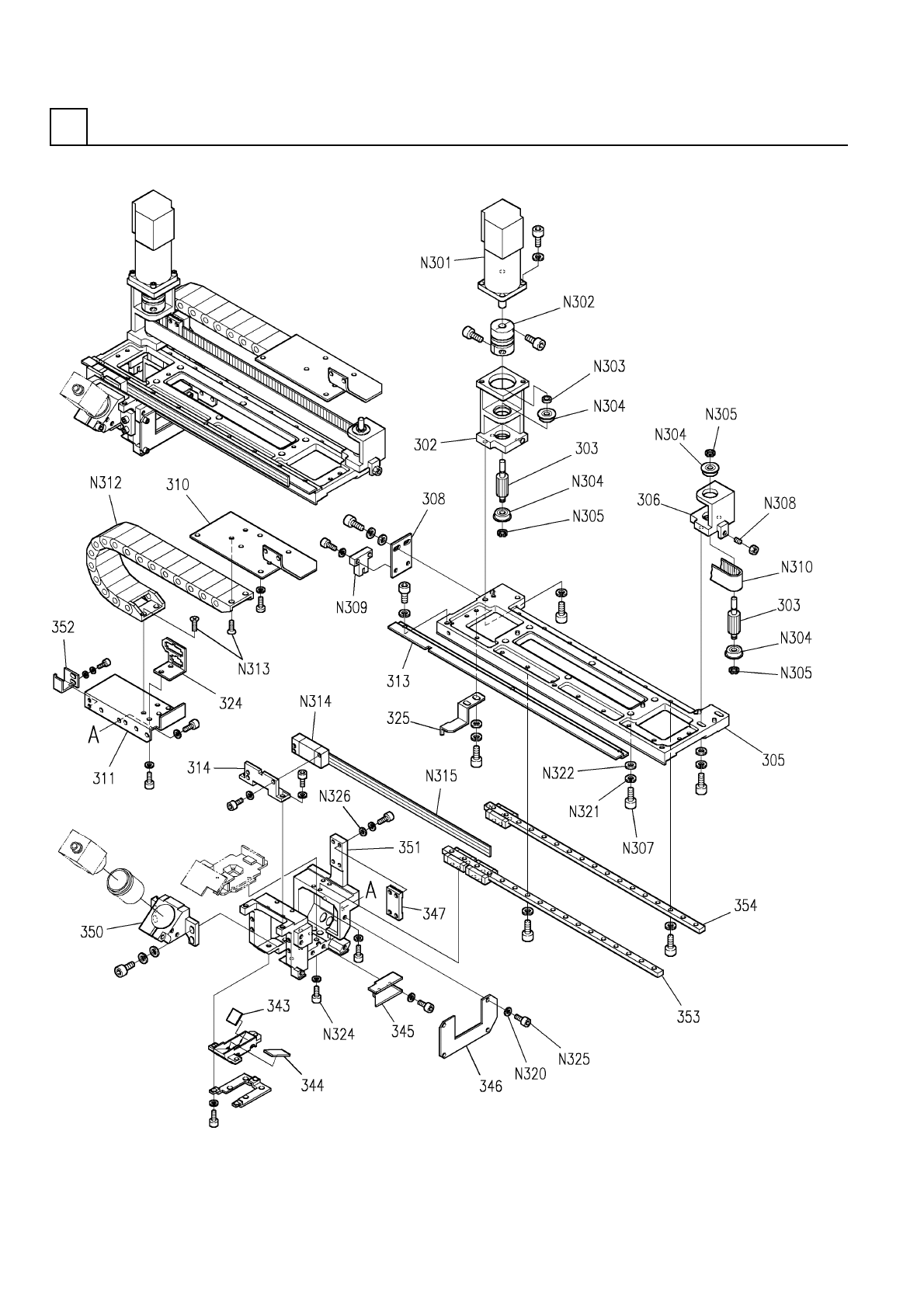
PART NAME REMARKS Q'TY 7 ヘッド部(S軸部) HEAD SECT.( S-AXIS SE CT.) イラスト No. REF No. PART No. 部 品 名 品 番 個数 備 考 R 1 R 2 1 N610013920AA HEAD DRIVING UNIT ヘッドクドウユニット 1 302 108620913401 BRACKET ブラケット 2 303 108620913702 PU…

ヘッド部(S軸部)
HEAD SECT.(S-AXIS SECT.)
7
FN610013920AA_00_A
M65

PART NAME
REMARKS
Q'TY
7
ヘッド部(S軸部)
HEAD SECT.(S-AXIS SECT.)
イラスト
No.
REF
No.
PART No.
部 品 名 品 番 個数 備 考
R
1
R
2
1 N610013920AA
HEAD DRIVING UNIT ヘッドクドウユニット
1
302 108620913401
BRACKET ブラケット
2
303 108620913702
PULLEY プーリー
1305 108620930505
PLATE プレート
1306 108620913602
BRACKET ブラケット
1
308 108620907603
BRACKET ブラケット
1
310 108620915902
BRACKET ブラケット
1311 108620931103
BRACKET ブラケット
1313 108620913303
COVER カバー
1
314 108620931401
BRACKET ブラケット
1324 108620932402
BRACKET ブラケット
1325 108620939001
BRACKET ブラケット
1
343 108620934301
MIRROR ミラー
1
344 108620934401
MIRROR ミラー
1345 1086209345
GUIDE ガイド
1346 108620934601
COVER カバー
1
347 108620934701
CLAMP クランプ
1
350 N210024182AA
HOLDER ホルダ
1351 108620935102
HOLDER ホルダ
1352 1086209352
DOG FOR SENSOR ドグ
1
353 108620935301
LINEAR MOTION UNIT リニアモーションユニット
1
354 108620935401
LINEAR MOTION UNIT リニアモーションユニット
HC-KFS13
1
N301
N606HCKFS13
MOTOR モータ
SFC-020DA-T015
1
N302
N644SFC0-197
COUPLING カップリング
WSSB10-6-3
1
N303
N986WSSB1063
WASHER ザガネ
F606ZZ
4
N304
KXF020KAA00
BALL BEARING ボール ベアリング
6,STEEL,P.C
4
N305
XUB6FP
RETAINING RING C-TYPE,SHAFT C ガタジクヨウトメワ
CBS6-20
6
N307
N986CBS620
BOLT ボルト
M4X10-45H A2S (Trivale
1
N308
N510018365AA
HEX. SOCKET SET SCREW ロッカクアナツキトメネジ
P923S1
1
N309
N310P923S1
SENSOR センサ
687-3GT-20
1
N310
N6416873GT20
BELT ベルト
07-30-038-0-16-060.30.
1
N312
N9860730-R33
FLEXIBLE DUCT フレキシブルダクト
M3X5-4.8 A2S (Trivalen
4
N313
N510018157AA
FLUSH HEAD SCREW サラコネジ
LIDA47HEAD3M5F
1
N314
N903L1DA-250
SCALE スケール
LIDA409SCALEML=270MMZ=
1
N315
N903L1DA-251
SCALE スケール
No.2 3 S A2S (Trivalen
4
N320
N510018328AA
SPRING WASHER バネザガネ
No.2 6 S A2S (Trivalen
6
N321
N510018335AA
SPRING WASHER バネザガネ
6 10H A2S (Trivalent)
6
N322
N510018502AA
ROUND PLAIN WASHER ミガキマルヒラザガネ
CBS3-8
4
N324
N986CBS38
HEX. SOCKET HEAD CAP BOLT ロッカクアナツキボルト
M3X8-10.9 A2S (Trivale
4
N325
N510017342AA
HEX. SOCKET HEAD CAP BOLT ロッカクアナツキボルト
3 10H A2J (Trivalent)
4
N326
N510018478AA
ROUND PLAIN WASHER コガタマルヒラザガネ
M66
FN610013920AA_00_A

ノズルホルダ部(フィルタ部)
NOZZLE HOLDER SECT.(FILTER SECT.)
8
F10862-09-530
M67