Components carriage - feed device and safety cover_20211123_100010
Components carriage - feed device and safety cover Page 1 / 13 23.11.2021

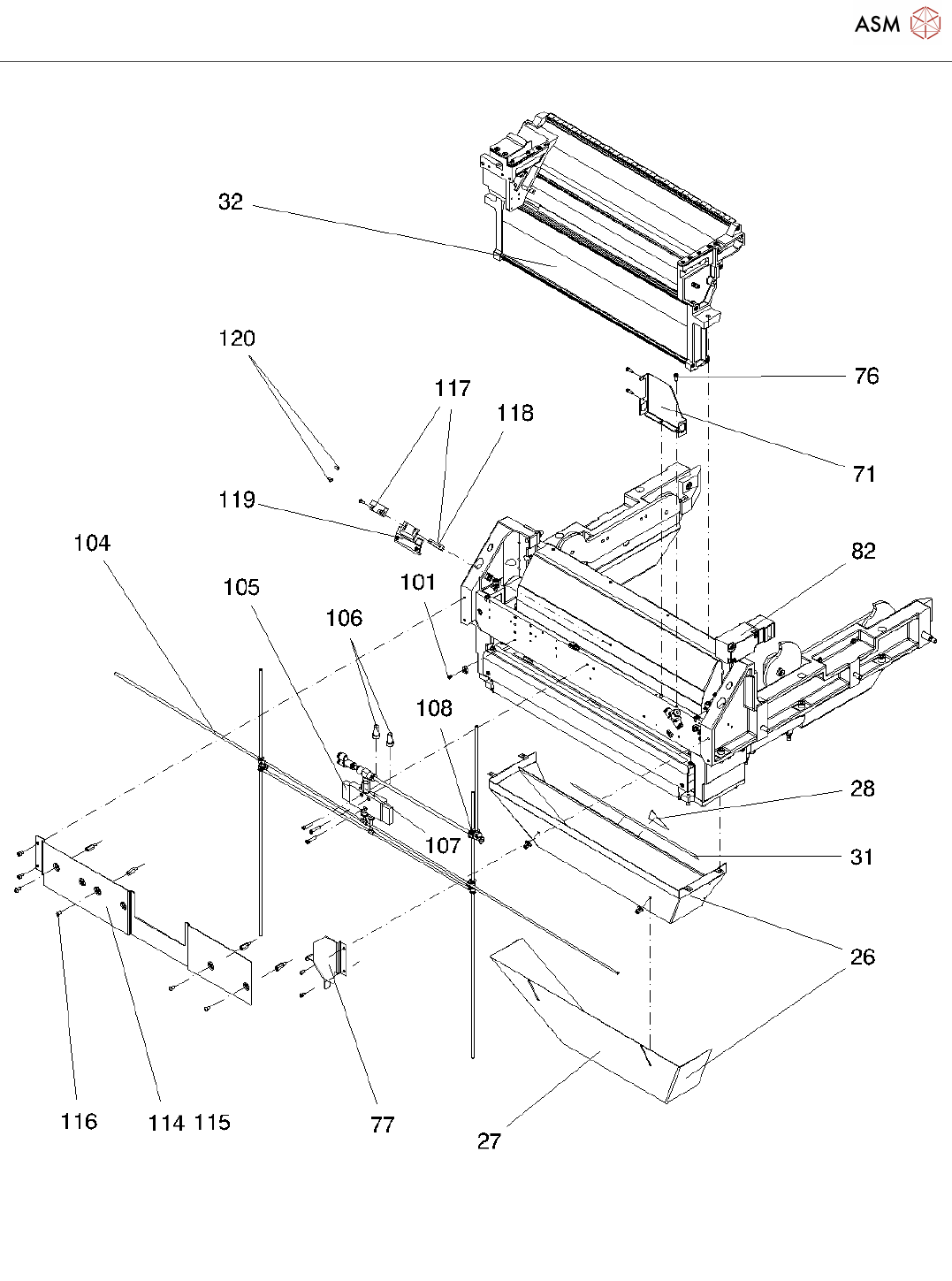
Components carriage - feed device and safety cover
Page 1 / 13 23.11.2021

Components carriage - feed device and safety cover
Page 2 / 13 23.11.2021

Components carriage - feed device and safety cover
Page 3 / 13 23.11.2021