AltaPail II Bulk Melters Product Manual - 第179页
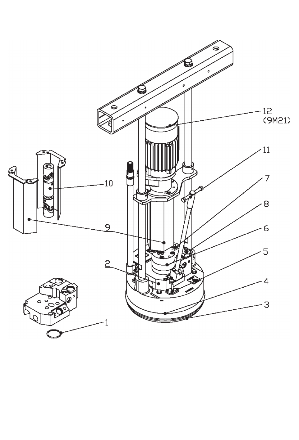
Parts 1 1 -9 Part 1121836_03 E 1 1/2014 Nordson Corporation Platen Assembly Figure 11-5

Parts
11-8
Part 1121836_03
E 11/2014 Nordson Corporation
This page intentionally left blank.

Parts
11-9
Part 1121836_03
E 11/2014 Nordson Corporation
Platen Assembly
Figure 11-5

Parts
11-10
Part 1121836_03
E 11/2014 Nordson Corporation
Item Part Description Quantity Note Melter
1 250273 o-ring 44x3 Viton 1
2 7407066 SERVICE KIT,ADAPTER,ALTA PAIL II 1
3
7116858 melting plate,smooth,VP,GP,D280,VX 1
7407039
7407041
7407664
7407666
7116879 melting plate,smooth,VP,GP,D286,VX 1
7407040
7407042
7407665
7407667
7407668
7407669
7116860
Melting plate, axial, VP, GP, D286, VX 1 7407670
7407671
4
7407068
SERVICE
KIT,SEAL,PLATEN,
280MM,
5
GALLON
1
7407039
7407041
7407664
7407666
7407069
SERVICE
KIT,SEAL,PLATEN,
286MM,
5
GALLON
1
7407040
7407042
7407665
7407667
7407668
7407669
7407670
7407671
5 7403823
PLUG ASSY,PUNCH,ALTAPAIL II
O-RING 11x2 VITON
1
6
729107
gear
pump
SN0773
1
7407041
7407042
7407666
7407667
7407668
7407669
7407670
7407671
729106
gear
pump
SN0371
1
7407039
7407040
7407664
7407665
7 973591 PLUG,O RING,STR THD,1 1/16-12 1
8 7403875 hose connect.ftg.a9/16UNF-a1 1/16UNF 1
9 --- protection cover VP coupling 2
10 7403865 Shaft Joint,Extractable Type:2ga D12,7 1
11 7403871 deaeration handle VP/VD 1
12 7407067 SERVICE KIT,MOTOR,
BG06-31/D06LA4-TOF-D/UL
1