OM-1074-001.pdf - 第85页
Tg0436-PM-CL 㧔 2 㧕 ࠼ࠣ࡞ࡊޓᣇะ 㨇 ° 㨉 ࠼ࠣ࡞ࡊߩᣇะ㧔ⷺᐲ㧕ࠍ⸳ቯߒ߹ߔޕ ޓޓ • IC 㧔න⚐㧕 ޔࠦࡀࠢ࠲㧔න⚐㧕 ޔߘߩઁ࠼ઃ߈㧔න⚐㧕ߩ႐ว એਅ߆ࠄㆬᛯߒ߹ߔޕ 㧔 0 ° 㧕 ޓᏀ㧔 90 ° 㧕 ޓਅ㧔 80 ° 㧕 ޓฝ 㧔 270 ° 㧕 • IC 㧔ⶄ㔀㧕 ޔࠦࡀࠢ࠲㧔ⶄ㔀㧕 ޔߘߩઁ࠼ઃ߈㧔ⶄ㔀㧕ߩ႐ว න㧦 ° 㧔ᐲ㧕 ࠺࠲ߩ⸳ቯ▸࿐㧦 0 㨪 359 …

Tg0436-PM-CL
㧔B0_0㧕࠼ࠣ࡞ࡊ࠺࠲
หߓ࠼࠲ࠗࡊߩ࠼ߢᒻᚑߐࠇߚ࠼ࠣ࡞ࡊߩ⟎ޔᣇ
ะޔ㈩ߥߤߩ⸳ቯࠍⴕ߹ߔޕ
㧔㧕࠼ࠣ࡞ࡊޓ࠲ࠗࡊ No
ߎߩࠣ࡞ࡊߦᒰߔࠆ࠼࠲ࠗࡊ࠺࠲ߩ No. ࠍ⸳ቯߒ߹ߔޕ
න㧦࠲ࠗࡊ
࠺࠲ߩ⸳ቯ▸࿐㧦 㨪4
ኻ⽎ㇱຠ㧦 IC㧔න⚐㧕ޔIC㧔ⶄ㔀㧕ޔࠦࡀࠢ࠲㧔න⚐㧕ޔ
ࠦࡀࠢ࠲㧔ⶄ㔀㧕ޔߘߩઁ࠼ઃ߈㧔න⚐㧕ޔ
ߘߩઁ࠼ઃ߈㧔ⶄ㔀㧕
0107-001 2-62
B0 ᒻ⁁࠺࠲ 㧔B0_0㧕
Fig.B39
࠲ࠗࡊNo
࠼
No
Fig.B38ޓ✬㓸↹㕙[IC㧔න⚐㧕ㇱຠ]

Tg0436-PM-CL
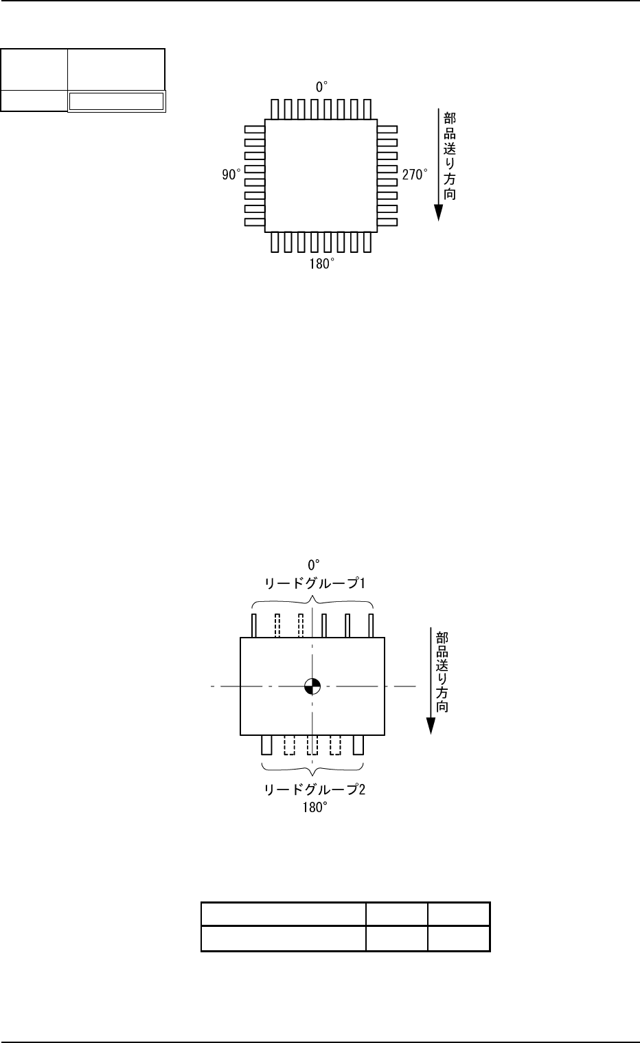
㧔2㧕 ࠼ࠣ࡞ࡊޓᣇะ㨇°㨉
࠼ࠣ࡞ࡊߩᣇะ㧔ⷺᐲ㧕ࠍ⸳ቯߒ߹ߔޕ
ޓޓ
• IC㧔න⚐㧕ޔࠦࡀࠢ࠲㧔න⚐㧕ޔߘߩઁ࠼ઃ߈㧔න⚐㧕ߩ႐ว
એਅ߆ࠄㆬᛯߒ߹ߔޕ
㧔0°㧕ޓᏀ㧔90°㧕ޓਅ㧔80°㧕ޓฝ㧔270°㧕
• IC㧔ⶄ㔀㧕ޔࠦࡀࠢ࠲㧔ⶄ㔀㧕ޔߘߩઁ࠼ઃ߈㧔ⶄ㔀㧕ߩ႐ว
න㧦°㧔ᐲ㧕
࠺࠲ߩ⸳ቯ▸࿐㧦0 㨪 359
㧦
Table B6-
࠼ࠣ࡞ࡊ࠺࠲ 2
ࠣ࡞ࡊᣇะ 0° 80°
ኻ⽎ㇱຠ㧦 IC㧔න⚐㧕ޔIC㧔ⶄ㔀㧕ޔࠦࡀࠢ࠲㧔න⚐㧕ޔ
ࠦࡀࠢ࠲㧔ⶄ㔀㧕ޔߘߩઁ࠼ઃ߈㧔න⚐㧕ޔ
ߘߩઁ࠼ઃ߈㧔ⶄ㔀㧕
B0 ᒻ⁁࠺࠲ 㧔B0_0㧕
0110-002 2-63
Fig.B40
ᣇะ㨇
°
㨉
000
࠼
No
ㇱຠ㕙࿑
Fig.B4
ㇱຠ㕙࿑
Fig.B4-

Tg0436-PM-CL
㧔3㧕࠼ࠣ࡞ࡊޓᧄᢙ㨇ᧄ㨉
࠼ࠣ࡞ࡊౝߩ࠼ᧄᢙࠍ⸳ቯߒ߹ߔޕ
ޓශߩਛᔃߪޔᄖᒻኸᴺ⸳ቯၮḰ⟎ߢߔޕ
࠼ᛮߌᧄᢙߪ࠼ᧄᢙߦߺ߹ߖࠎޕ
න㧦ᧄ
࠺࠲ߩ⸳ቯ▸࿐㧦 㨪255
ኻ⽎ㇱຠ㧦IC㧔න⚐㧕ޔIC㧔ⶄ㔀㧕ޔࠦࡀࠢ࠲㧔න⚐㧕ޔ
ࠦࡀࠢ࠲㧔ⶄ㔀㧕ޔߘߩઁ࠼ઃ߈㧔න⚐㧕ޔ
ߘߩઁ࠼ઃ߈㧔ⶄ㔀㧕
B0 ᒻ⁁࠺࠲ 㧔B0_0㧕
0107-001 2-64
Fig.B42
ᧄᢙ㨇ᧄ㨉
005
࠼
No
ㇱຠ㕙࿑
Fig.B43