00193801-01 - 第174页
6 BE-Handling Betriebsanleitung SIPLACE CF 6.7 Halterung für Flächenmagazine (Manuelles Tr ay) Softwareversion S R.101.xx Ausgabe 06/2003 D E 174

Betriebsanleitung SIPLACE CF 6 BE-Handling
Softwareversion SR.101.xx Ausgabe 06/2003 DE 6.7 Halterung für Flächenmagazine (Manuelles Tray)
173
6.7.3 Wechseln des Niederhalters
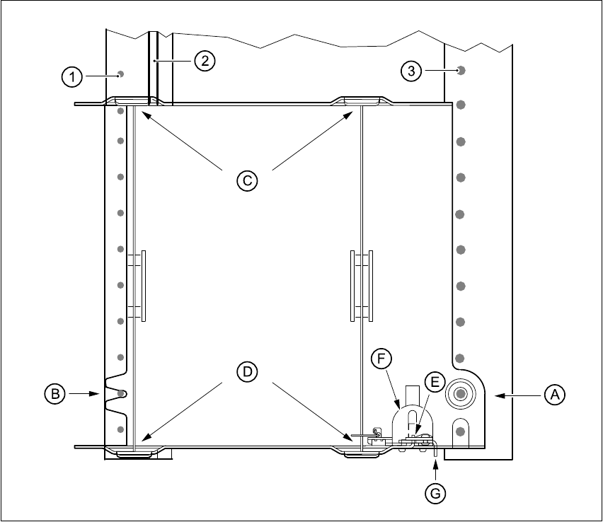
Æ Halten Sie den Niederhalter (G in Abb. 6.7 - 1) fest. Drücken Sie das Druckstück (F in Abb. 6.7
- 1) nach unten und entfernen Sie den Niederhalter, indem Sie ihn seitlich herausdrücken.
Abb. 6.7 - 1 Ein/Ausbau
6
(1) Zentrierstifte
(2) Magnetleiste
(3) Kalotten
6.7.4 Dateneingabe
Definieren Sie die Flächenmagazine wie dies in der Softwareanleitung SIPLACE C Pro beschrie-
ben ist.
6 BE-Handling Betriebsanleitung SIPLACE CF
6.7 Halterung für Flächenmagazine (Manuelles Tray) Softwareversion SR.101.xx Ausgabe 06/2003 DE
174

Betriebsanleitung SIPLACE CF 7 Stationserweiterungen
Softwareversion SR.101.xx Ausgabe 06/2003 DE 7.1 Pipettenwechsler für den Pick&Place-Kopf
175
7 Stationserweiterungen
7.1 Pipettenwechsler für den Pick&Place-Kopf
7.1.1 Übersicht
Abb. 7.1 - 1 Einbauort des Pipettenwechslers für den Pick&Place-Kopf
(1) Magazin für 5 Pipetten
(2) Abwurfbehälter
(3) Trägerplatte