4OM-1001-008_w - 第151页
1 .4 メンテナンス方法 0304-001 1 - 84 AHM01JTRP (5) ヘッド清掃用紙を以下のように反対側まで通過させ、 ヘッド清掃 用紙のストロークを十分使用しながら左右に 1 0 ~ 20 回往復させ てください。 Fig.4A89 (6) ヘッド清掃用紙を引き抜く際には、 以下のように最後に折り目部 分が、 エンコーダヘッドとスケールホルダの間を通過するように 引き抜いてください。 Fig.4A90 (7) 新しい…

1.4 メンテナンス方法
0304-001 1-83 AHM01JTRP
•
リニアスケールエンコーダヘッドの清掃リニアスケールエンコーダヘッドの清掃
リニアスケールエンコーダヘッドの清掃リニアスケールエンコーダヘッドの清掃
リニアスケールエンコーダヘッドの清掃
(1) 電源ブレーカは、必ず、OFF の状態で作業してください。
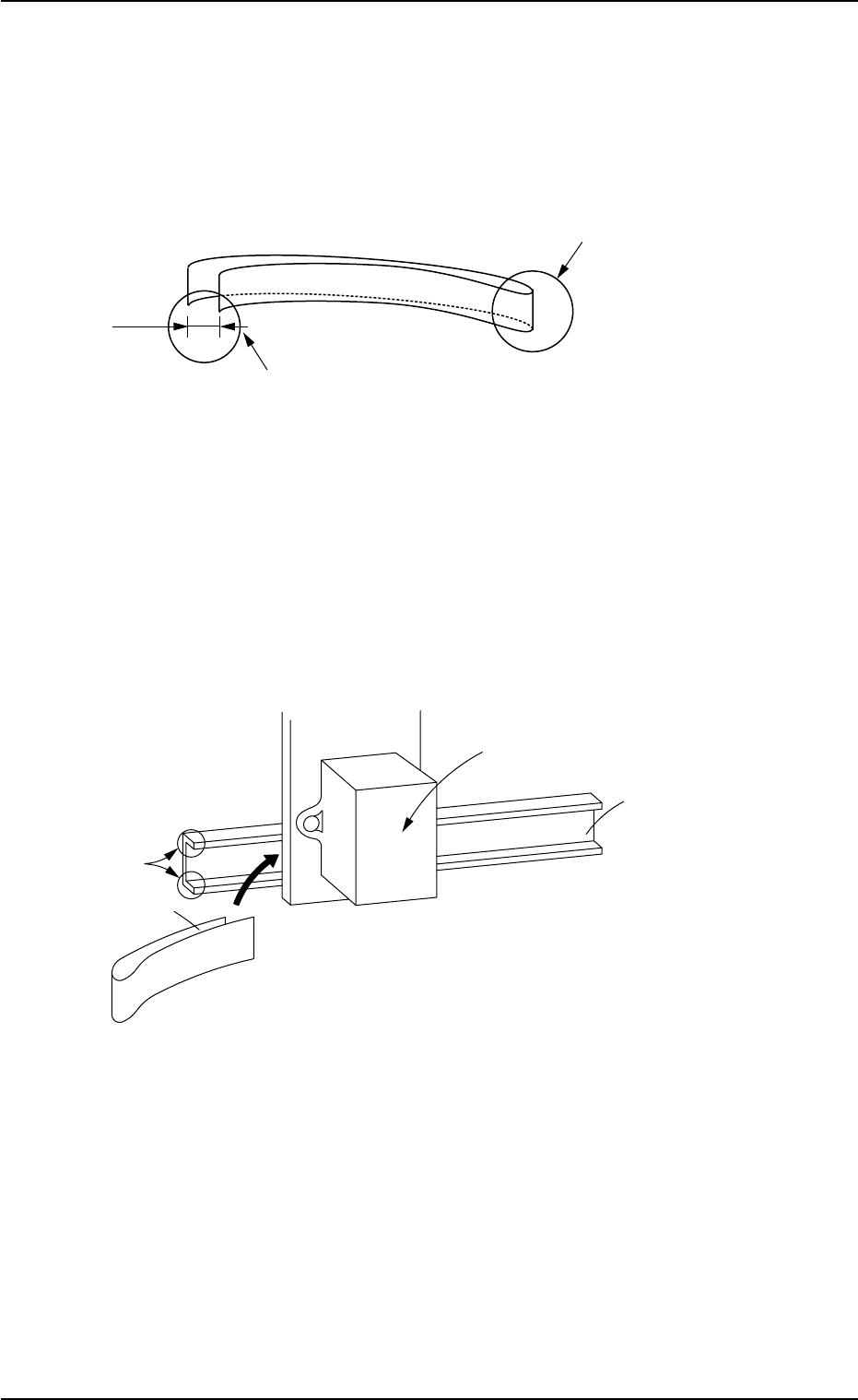
(2) ヘッド清掃用紙を以下のように二つ折りにしてください。
Fig.4A87
(3) ヘッド清掃用紙の A 側と B 側の表 / 裏両面をアルコール(無水エタ
ノール)で十分濡らしてください。
(4) ヘッド清掃用紙をエンコーダヘッドの横から、スケールホルダの
上下ツメの間に B 側が、エンコーダヘッド側になるように差し込
んでください。
Fig.4A88
㨪
᛬ࠅ⋡߆ࠄߩ㐳ߐࠍ#ߣ$ߢ㨪OO㐳ߐࠍᄌ߃ࠆ
シߊ᛬ࠅ⋡߇ઃߊ⒟ᐲߦᦛߍࠆ
#
$
ࠛࡦࠦ࠳ࡋ࠶࠼
ࡎ࡞࠳
ਅ࠷ࡔ
࠾ࠕࠬࠤ࡞߮
ࠬࠤ࡞ࡎ࡞࠳
#
$

1.4 メンテナンス方法
0304-001 1-84 AHM01JTRP
(5) ヘッド清掃用紙を以下のように反対側まで通過させ、ヘッド清掃
用紙のストロークを十分使用しながら左右に 10 ~ 20 回往復させ
てください。
Fig.4A89
(6) ヘッド清掃用紙を引き抜く際には、以下のように最後に折り目部
分が、エンコーダヘッドとスケールホルダの間を通過するように
引き抜いてください。
Fig.4A90
(7) 新しいヘッド清掃用紙にて、(2)~(6)をもう一度行ってください。
(8) エンコーダヘッドの清掃終了後、フィーダキャリッジを横に移動
させ、綿棒にアルコール(無水エタノール)をつけ、リニアスケー
ルを清掃してください。
(9) 操作電源を入れ、“参照マーク検出”を実施して、フィーダキャ
リッジの動作確認をしてください。
లಽߦࠬ࠻ࡠࠢࠍ߁
ࡋ࠶࠼
ࠬࠤ࡞ࡎ࡞࠳
ᴦౕ
⍫ශᣇะߦ
ᒁ߈ᛮߊ

1.4 メンテナンス方法
0304-001 1-85 AHM01JTRP
•
参照マークの検出参照マークの検出
参照マークの検出参照マークの検出
参照マークの検出
(1)“フィーダキャリッジ”タブシートで“参照マーク検出”タブを押
すと、以下の画面が表示されます。
Fig.4A91-1 “参照マーク検出”タブシート
(2)“参照マーク検出”タブシートで[参照マーク検出開始]ボタンを押
すと、以下の画面が表示されます。
Fig.4A91-2