4OM-1001-008_w - 第80页
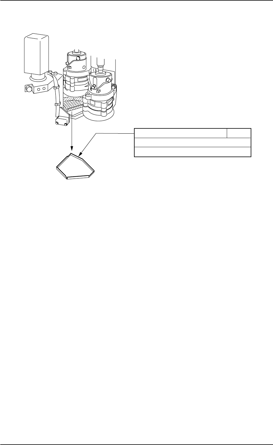
(6) (6) (6) (6) (6) カッタ部 部品落下防止カバー カッタ部 部品落下防止カバー カッタ部 部品落下防止カバー カッタ部 部品落下防止カバー カッタ部 部品落下防止カバー ᒁ߈ᛮߊ ࠟࠗ࠼ㇱ ࠟࠗ࠼ㇱ ࡞ㇱ ࡠ࠶࠻ࡀࠫ ⷺⓣઃ߈ࡏ࡞࠻ / ㇱຠ⪭ਅ㒐ᱛࠞࡃ & Ფᣣޓᷡ ࠞࡃߩߦㇱຠ߇ᢔੂߒߡࠆ႐วߪޔ એਅߩᚻ㗅ߢᷡߒߡߊߛߐޕ…

0304-001 1-15 AHM01JTRP
1.3 メンテナンスか所
Fig.4A14-1 装置前面側
ㇱຠฃߌ▫ޓޓ&
Ფᣣޓᷡ
㒰ᯏߢᷡߒߡߊߛߐޕ

(6)(6)
(6)(6)
(6)
カッタ部 部品落下防止カバーカッタ部 部品落下防止カバー
カッタ部 部品落下防止カバーカッタ部 部品落下防止カバー
カッタ部 部品落下防止カバー
ᒁ߈ᛮߊ
ࠟࠗ࠼ㇱ
ࠟࠗ࠼ㇱ
࡞ㇱ
ࡠ࠶࠻ࡀࠫ
ⷺⓣઃ߈ࡏ࡞࠻
/
ㇱຠ⪭ਅ㒐ᱛࠞࡃ&
Ფᣣޓᷡ
ࠞࡃߩߦㇱຠ߇ᢔੂߒߡࠆ႐วߪޔ
એਅߩᚻ㗅ߢᷡߒߡߊߛߐޕ
ࡠ࠲࠲࠶࠻ߩ࠲ࠗࡒࡦࠣ
ⷺᐲࠍ⚂ᐲߦߒߡޔ㔚Ḯࠍಾߞߡ
߆ࠄᬺߒߡߊߛߐޕ
ⷺⓣઃ߈ࡏ࡞࠻/ᧄߣࡠ࠶࠻
ࡀࠫᧄࠍขࠅᄖߒߡޔࠞࡃࠍⵝ⟎
ᓟᣇߦᒁ߈ᛮߡߊߛߐޕ
㒰ᯏߥߤߢᷡߒߡߊߛߐޕ
ࠞࡃߩ࡞ㇱ߇ޔⵝ⟎ߩࠟࠗ࠼ㇱ
ߦᱜߒߊᏅߒㄟ߹ࠇࠆࠃ߁ߦߒߡޔࠞ
ࡃࠍⵝ⟎ߦขࠅઃߌߡߊߛߐޕ
ࡠ࠶࠻ࡀࠫࠍขࠅઃߌߚᓟޔⷺ
ⓣઃ߈ࡏ࡞࠻/ᧄࠍขࠅઃߌ߹ߔޕ
1.3 メンテナンスか所
0409-002 1-16 AHM01JTRP
Fig.4A15 装置上面図

(7)(7)
(7)(7)
(7)
XYXY
XYXY
XY
テーブル部テーブル部
テーブル部テーブル部
テーブル部
1.3 メンテナンスか所
0308-002 1-17 AHM01JTRP
:;ࡏ࡞ࡀࠫޓ;ゲޓޓޓޓ ޓޓ/
߆ߏߣޓ⛎ᴤ
㧔࠳ࡈ࠾ࠛࡐࡀ࠶ࠢࠬࠣࠬ0Q㧕
ฎࠣࠬࠍ࠙ࠛࠬߢ߰߈ขߞߡޔࠣ
ࠬࠟࡦߢᣂߒࠣࠬࠍࠣࠬ
࠾࠶ࡊ࡞ߦᵈߒߡߊߛߐޕ
㧖↪ߔࠆࠕ࠲࠶࠴ࡔࡦ࠻ߪޔ7ᒻߣ2ᒻ
ޓߢߔޕ
ޓޓޓޓ7ᒻޓޓޓޓޓޓޓޓ2ᒻ
⛎ᴤߪޔೋ࿁߆ᓟޔએ㒠߆ߏߣߦ
ⴕߞߡߊߛߐޕ
:;ࡌࠬㄝ ޓޓޓޓޓޓޓޓ9
Ფㅳޓᷡ
:;࠹ࡉ࡞ㄝࠍ㒰ᯏߢᷡߒߡߊ
ߛߐޕ
:;࠹ࡉ࡞㕙ޓޓޓޓޓ9
Ფㅳޓᷡ
㒰ᯏߢᷡߒߡߊߛߐޕ
㧖⛘ኻߦࠛࠕࡉࡠߪߒߥߢߊߛߐޕ
:;ࠪࡘ࠻ਅ࠾ࠕࠟࠗ࠼ޓޓ/
ߩ࡞ޓޓ
߆ߏߣޓ⛎ᴤ
㧔࠳ࡈ࠾ࠛࡐࡀ࠶ࠢࠬࠣࠬ0Q㧕
ฎࠣࠬࠍ࠙ࠛࠬߢ߰߈ขߞߡޔᣂߒ
ࠣࠬࠍᚻ߆ࡂࠤߢႣߞߡߊߛߐޕ
߆ᚲࠅ߹ߔޕ
⛎ᴤߪޔೋ࿁㧝߆ᓟޔએ㒠㧟߆ߏߣߦ
ⴕߞߡߊߛߐޕ
:;ࡏ࡞ࡀࠫޓ:ゲޓ ޓޓޓ/
߆ߏߣޓ⛎ᴤ
㧔࠳ࡈ࠾ࠛࡐࡀ࠶ࠢࠬࠣࠬ0Q㧕
ฎࠣࠬࠍ࠙ࠛࠬߢ߰߈ขߞߡޔࠣ
ࠬࠍᚻ߆ࡂࠤߢႣߞߡߊߛߐޕ
⛎ᴤߪޔೋ࿁߆ᓟޔએ㒠߆ߏߣߦ
ⴕߞߡߊߛߐޕ
:;ࡏ࡞ࡀࠫࠞࡃ㕙 ޓޓ9
Ფㅳޓᷡ
㒰ᯏߢᷡߒߡߊߛߐޕ
㧖⛘ኻߦࠛࠕࡉࡠߪߒߥߢߊߛߐޕ
Fig.4A16