4OM-1001-008_w - 第93页
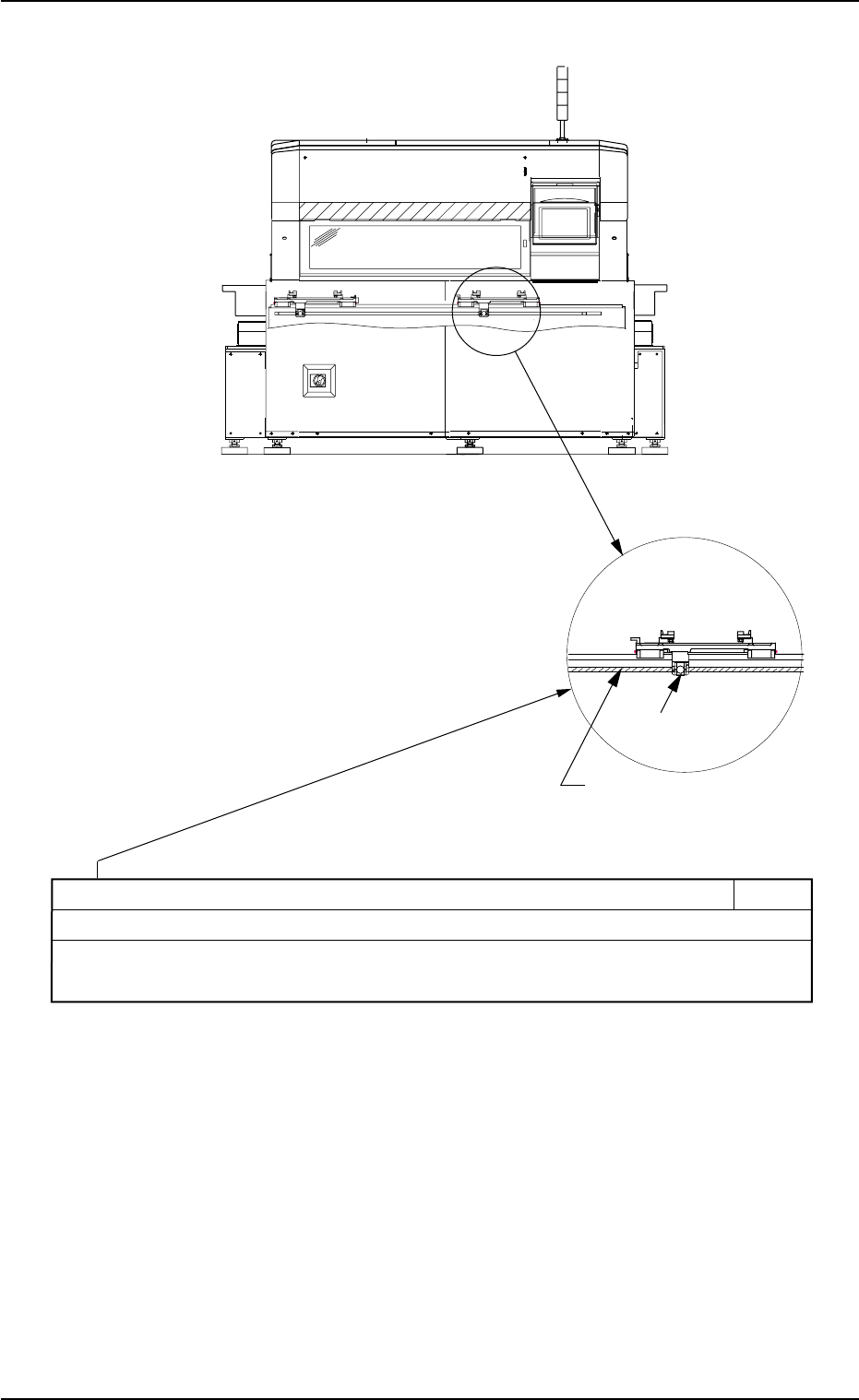
ࠣࠬ࠾࠶ࡊ࡞ ࡈࠖ࠳ࠠࡖ࠶ࠫᄢ࿑ ࠾ࠕࠟࠗ࠼ߩ ࠬࠗ࠼ࡉࡠ࠶ࠢ ࠾ࠕࠟࠗ࠼ߩࠬࠗ࠼ࡉࡠ࠶ࠢ೨ / ߆ߏߣޓ⛎ᴤ࠳ࡈ࠾ࠛࡐࡀ࠶ࠢࠬࠣࠬ0Q ⛎ᴤߪޔೋ࿁߆ᓟޔએ㒠߆ߏߣߦⴕߞߡߊߛߐޕ 㧖↪ߔࠆࠕ࠲࠶࠴ࡔࡦ࠻ߪޔ(.ᒻߣ2ᒻޔ߹ߚߪޔ7ᒻߣ2ᒻߢߔޕ ޓޓޓޓޓޓޓޓ (.ᒻޓޓޓޓޓޓ…

ࠛࡦࠦ࠳ࡋ࠶࠼
࠾ࠕࠬࠤ࡞
࠾ࠕࠬࠤ࡞ࠛࡦࠦ࠳ࡋ࠶࠼/
߆ߏߣޓᷡ
߆ߏߣޔ߹ߚߪޔ࠾ࠕࠟࠗ࠼ߦ⛎ᴤߒߚᓟߦᷡߒߡߊߛߐޕ
⚦ߦߟߡߪޔ̌࠾ࠕࠬࠤ࡞ㇱߩᷡ̍ࠍෳᾖߒߡߊߛߐޕ
1.3 メンテナンスか所
0509-004 1-28 AHM01JTRP
Fig.4A28-1 装置前面

ࠣࠬ࠾࠶ࡊ࡞
ࡈࠖ࠳ࠠࡖ࠶ࠫᄢ࿑
࠾ࠕࠟࠗ࠼ߩ
ࠬࠗ࠼ࡉࡠ࠶ࠢ
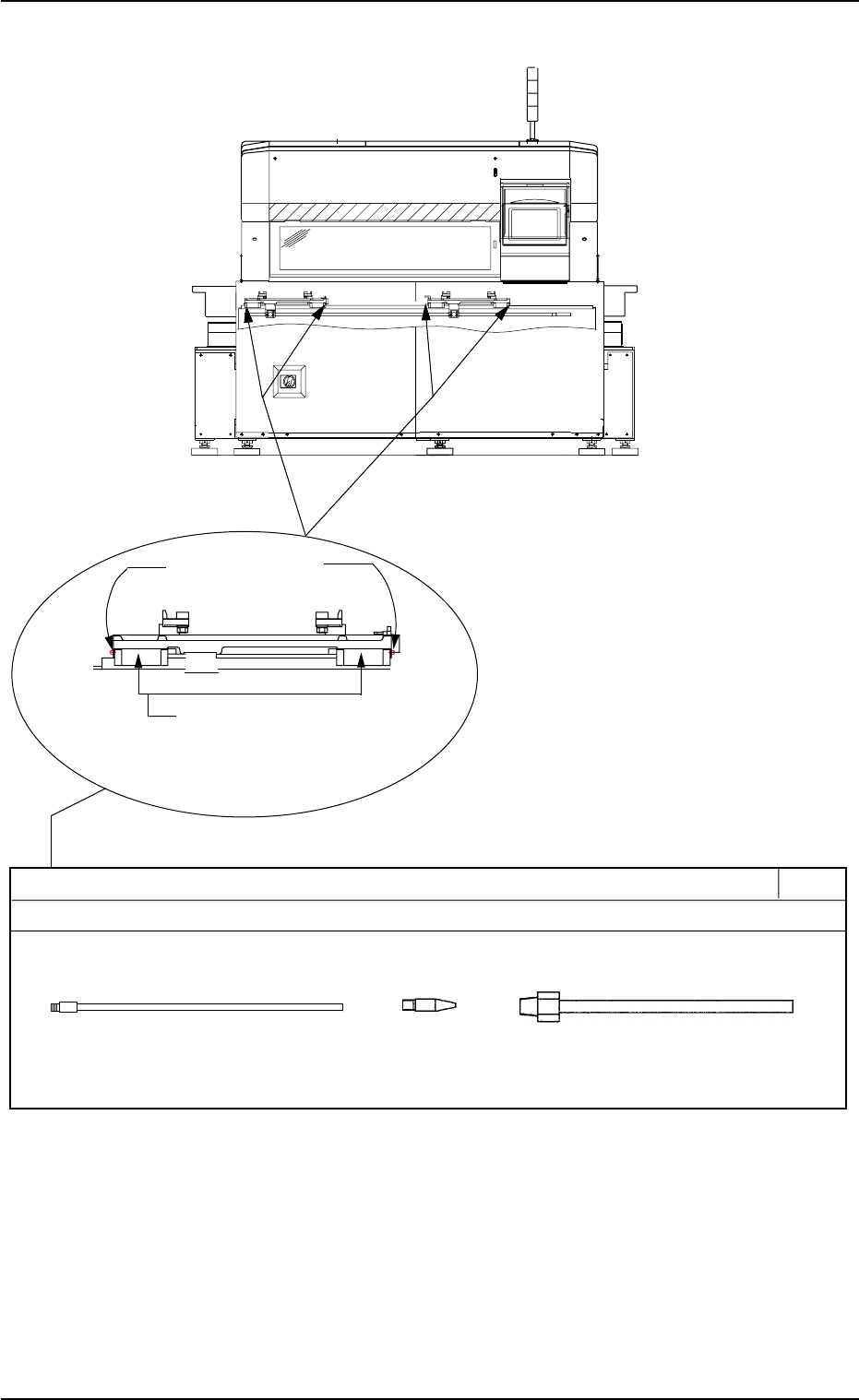
࠾ࠕࠟࠗ࠼ߩࠬࠗ࠼ࡉࡠ࠶ࠢ೨/
߆ߏߣޓ⛎ᴤ࠳ࡈ࠾ࠛࡐࡀ࠶ࠢࠬࠣࠬ0Q
⛎ᴤߪޔೋ࿁߆ᓟޔએ㒠߆ߏߣߦⴕߞߡߊߛߐޕ
㧖↪ߔࠆࠕ࠲࠶࠴ࡔࡦ࠻ߪޔ(.ᒻߣ2ᒻޔ߹ߚߪޔ7ᒻߣ2ᒻߢߔޕ
ޓޓޓޓޓޓޓޓ(.ᒻޓޓޓޓޓޓޓޓޓޓޓ2ᒻ7ᒻ
⚦ߦߟߡߪޔ̌ࡈࠖ࠳ࠠࡖ࠶ࠫㇱ࠾ࠕࠟࠗ࠼ߩ⛎ᴤ̍ࠍෳᾖߒߡߊߛߐޕ
1.3 メンテナンスか所
0509-003 1-29 AHM01JTRP
Fig. 4A29 装置前面

ࠣࠬ࠾࠶ࡊ࡞
ࡈࠖ࠳ࠠࡖ࠶ࠫᄢ࿑
࠾ࠕࠟࠗ࠼ߩ
ࠬࠗ࠼ࡉࡠ࠶ࠢ
࠾ࠕࠟࠗ࠼ߩࠬࠗ࠼ࡉࡠ࠶ࠢᓟ/
߆ߏߣޓ⛎ᴤ࠳ࡈ࠾ࠛࡐࡀ࠶ࠢࠬࠣࠬ0Q
⛎ᴤߪޔೋ࿁߆ᓟޔએ㒠߆ߏߣߦⴕߞߡߊߛߐޕ
㧖↪ߔࠆࠕ࠲࠶࠴ࡔࡦ࠻ߪޔ(.ᒻߣ2ᒻޔ߹ߚߪޔ7ᒻߣ2ᒻߢߔޕ
ޓޓޓޓޓޓޓޓ(.ᒻޓޓޓޓޓޓޓޓޓޓޓ2ᒻ7ᒻ
⚦ߦߟߡߪޔ̌ࡈࠖ࠳ࠠࡖ࠶ࠫㇱ࠾ࠕࠟࠗ࠼ߩ⛎ᴤ̍ࠍෳᾖߒߡߊߛߐޕ
Fig.4A32 装置後面
1.3 メンテナンスか所
0509-002 1-30 AHM01JTRP