CP-643E-08 PART LIST - 第191页
R e f . 3 3 - 7 R e f . 3 1 - 1 R e f . 3 1 - 1 R e f . 3 1 - 1 R e f . 3 1 - 1 2 0 2 1 6 0 2 1 2 1 5 8 2 0 2 2 2 1 6 0 5 9 2 2 4 0 3 7 3 3 3 7 3 1 4 0 3 7 4 5 4 0 3 7 4 5 3 7 3 1 4 0 3 7 3 3 4 9 2 6 2 7 2 7 5 3 6 3 9 4 …

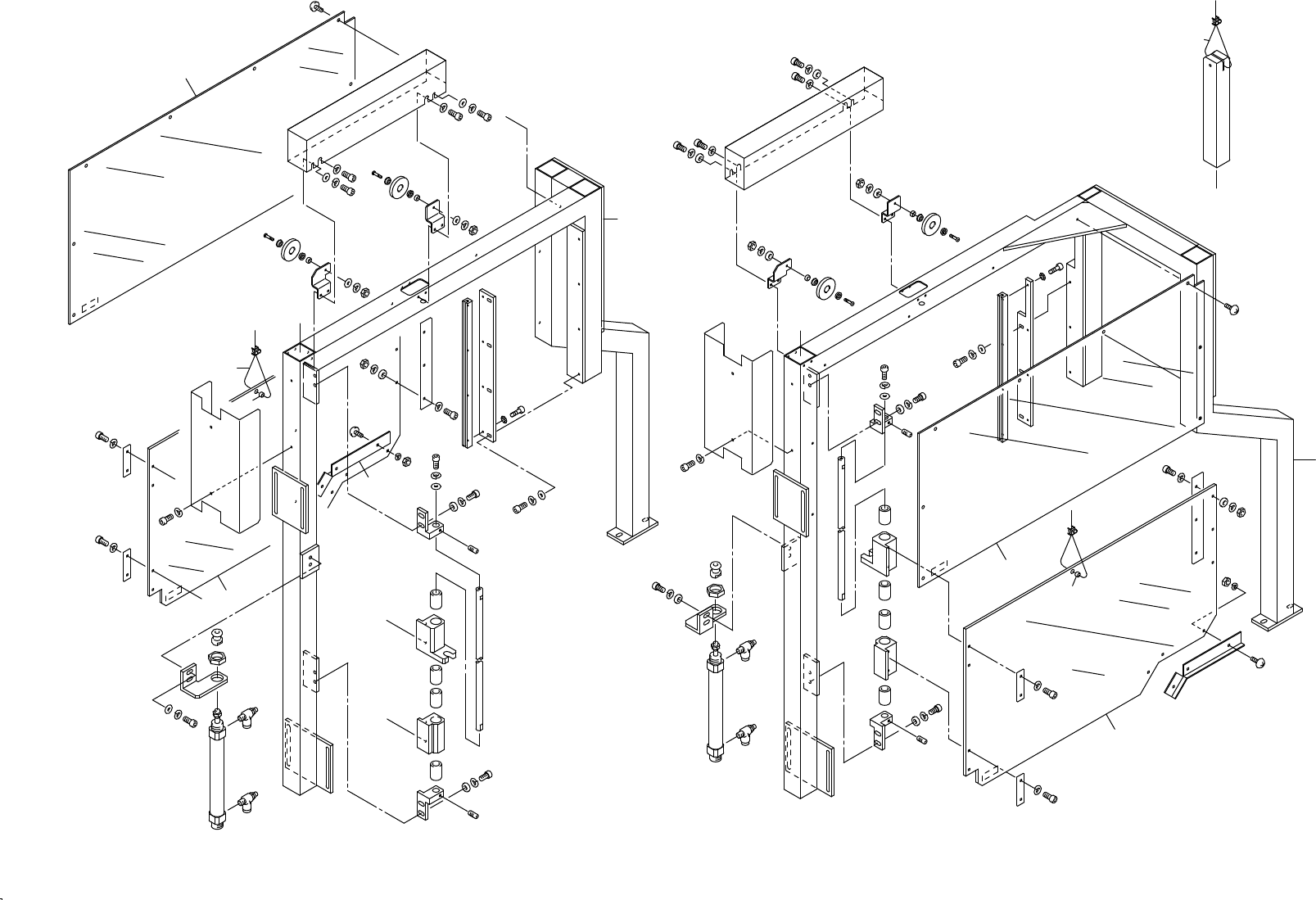
35.リールセット台(CSPJ)
35.Feeder setting jig(CSPJ)
番号 図番 & コード番号 個数 品名 規格 備考 材質
No. Drg.No. & Code No. QTY Description Rating Remarks Materials
1 WPJ0681 1 BASE ベース FE
2 WPJ0690 1 PLATE, REFERENCE プレート 基準 FE
3 WPJ0700 1 PLATE, REFERENCE プレート 基準 FE
4 WPJ0710 1 CLAMPER クランパ FE
5 WPJ0721 1 GUIDE, HOLDER ガイド 受け FE
6 WSD0013 2 CLAMPER クランパ FE
7 WSD0641 2 BOLT ボルト FE
8 WSD0652 2 SPRING スプリング FE
9 H4435T 2 BEARING, MINIATURE ベアリング ミニチュア L-1150ZZ FE
10 R5025T 2 ROLLER, NEEDLE ローラ ニードル 5゚X10 OT
11 W1013A 2 WASHER, CONICAL ワッシャ 皿 M-6-H FE
12 W1012A 2 WASHER, CONICAL ワッシャ 皿 M-5-L FE
13 W1011A 12 WASHER, CONICAL ワッシャ 皿 M-4-L FE
14 H5321A 2 BOLT, HEX SOCKET ボルト 六角穴 M6X12 FE
15 H5300A 2 BOLT, HEX SOCKET ボルト 六角穴 M5X15 FE
16 H5289A 12 BOLT, HEX SOCKET ボルト 六角穴 M4X12 ・ FE
CP-643E PARTS LIST
35 - 2
35.リールセット台(CSPJ)
35.Feeder setting jig(CSPJ)

Ref.33-7
Ref.31-1
Ref.31-1
Ref.31-1
Ref.31-1
20
21
60
21
21
58
20
22
21
60
59
22
40
37
33
37
31
40
37
45
40
37
45
37
31
40
37
33
49
26
27
27
5
36
39
42
28
66
37
46
13
15
16
9
47
64
30
33
37
40
36
39
42
44
3
29
38
63
23
4
24
25
24
24
11
24
36
39
42
44
32
37
19
32
37
19
61
52
8
14
17
15
16
37
62
45
37
65
18
37
33
2
43
21
60
21
21
60
20
21
20
56
22
57
22
45
37
40
31
37
33
37
40
45
37
40
40
37
33
31
37
48
8
46
32
37
19
66
3732
37
19
28
6
36
39
42
26
27
27
3
24
25
24
24
12
24
44
36
39
42
23
4
51
61
62
37
44
36
39
42
29
38
63
33
37
40
30
64
10
9
33
37
18
65
37
45
17
15
16
14
43
1
x8
C
C
A
C
B
A
B
36 - 1
36.シャッタ(オプション)(CSAF)
36.Shutter(Option)(CSAF)
36.シャッタ(オプション)(CSAF)
36.Shutter(Option)(CSAF)
CP-643E PARTS LIST

36.シャッタ(オプション)(CSAF)
36.Shutter(Option)(CSAF)
番号 図番 & コード番号 個数 品名 規格 備考 材質
No. Drg.No. & Code No. QTY Description Rating Remarks Materials
1 WAF1275 1 BKT, FENCE BKT フェンス FE
2 WAF1266 1 BKT, FENCE BKT フェンス FE
3 WAF2040 2 BKT BKT FE
4 WAF2050 2 BKT BKT FE
5 WAF2062 1 BKT, CYLINDER BKT シリンダ FE
6 WAF2072 1 BKT, CYLINDER BKT シリンダ FE
8 AWAF8550 2 PLATE プレート OT
9 WAF1210 2 RAIL レール AL
10 WAF1220 1 RAIL レール AL
11 WAF1521 1 HOLDER ホルダ AL
12 WAF1531 1 HOLDER ホルダ AL
13 WAF1571 2 BALANCER バランサ FE
14 AWAF8560 2 COVER カバー OT
15 WAF2430 2 WIRE, STAINLESS STEEL ワイヤ ステンレス OT
16 K3017A 4 CLIPPER, WIRE クリッパ ワイヤ For ゚1.5 OT
17 GXZ0230 2 COLLAR カラー FE
18 GXZ0251 2 PLATE プレート FE
19 GXZ0240 4 PLATE プレート FE
20 GXZ0350 4 PIN ピン FE
21 H4134X 8 BEARING ベアリング F604ZZ FE
22 GXZ0360 4 COLLAR カラー FE
23 GXZ0300 2 BAR バー FE
24 H4282A 8 BEARING, SLIDE ベアリング スライド KH1228 FE
25 GXZ0181 2 HOLDER ホルダ AL
26 S2099T 2 CYLINDER, AIR シリンダ エアー CDM2B-20-D7481-250 OT
27 K5330B 4 CONTROLLER, SPEED コントローラスピード SC6-01-B OT
28 GXZ0270 2 BOLT, JOINT ボルト ジョイント FE
29 GXZ0310 2 WASHER ワッシャ FE
30 H5274A BOLT, HEX SOCKET ボルト 六角穴 M3X6L FE
31 H5288A BOLT, HEX SOCKET ボルト 六角穴 M4X8L FE
32 H5289A BOLT, HEX SOCKET ボルト 六角穴 M4X12L FE
33 H5290A BOLT, HEX SOCKET ボルト 六角穴 M4X15L FE
35 H5304A BOLT, HEX SOCKET ボルト 六角穴 M5X25L FE
36 H5322A BOLT, HEX SOCKET ボルト 六角穴 M6X15L FE
37 W1022A WASHER, LOCK ワッシャ スプリング 4M/M FE
38 W1023A WASHER, LOCK ワッシャ スプリング 5M/M FE
39 W1024A WASHER, LOCK ワッシャ スプリング 6M/M FE
40 W1043A WASHER, FLAT ワッシャ 平 4W-4 FE
42 W1045A WASHER, FLAT ワッシャ 平 4W-6 FE
43 K5207A SCREW, TRUSS 小ネジ トラス M4X5L FE
44 N4036A SCREW, HEX SOCKET SET ネジ 六角穴止め M5X5L FE
CP-643E PARTS LIST
36 - 2
36.シャッタ(オプション)(CSAF)
36.Shutter(Option)(CSAF)