NXT-II 机械手册 - 第120页
QD145-21 4. 传感器配置图 NXT II 机械手册 93 4.17.3 往返搬运轨 No. 地址 信号名 1 OUT20 往返搬运轨开关夹紧 2 IN10 往返搬运轨 后退端 3 IN12 往返搬运轨 打开确认 4 IN11 往返搬运轨 夹紧确认 5 IN14 往返搬运轨 料盘高度监视 (中) 6 IN13 往返搬运轨 料盘高度监视 (下) 01MEC-0503a 1 2 3 4 T ray unit-L TC 6 5

4. 传感器配置图 QD145-21
92 NXT II 机械手册
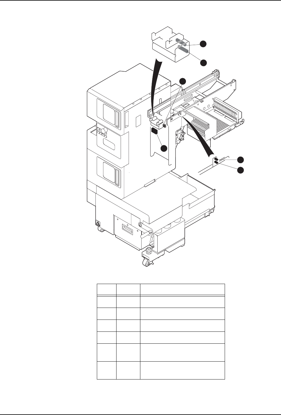
4.17.2 料盘塔
No. 地址 信号名
1 IN1F 下部料盘箱锁定确认
2 IN1E 上部料盘箱锁定确认
3 IN1C 上部料盘箱锁定确认
4 IN1D 下部料盘箱锁定确认
5 IN22 上部料盘箱料盘高度确认
6 IN24 下部料盘箱料盘高度确认
7 IN21 托架收存确认
8 IN20 料盘箱干涉确认
9 - 往返搬运轨料盘高度监视 (中)
10 - 往返搬运轨料盘高度监视 (下)
01MEC-0502a
1
2
9
10
Tray unit-LTC
5
6
7
7
3
4
8

QD145-21 4. 传感器配置图
NXT II 机械手册 93
4.17.3 往返搬运轨
No. 地址 信号名
1 OUT20 往返搬运轨开关夹紧
2 IN10 往返搬运轨后退端
3 IN12 往返搬运轨打开确认
4 IN11 往返搬运轨夹紧确认
5 IN14 往返搬运轨料盘高度监视
(中)
6 IN13 往返搬运轨料盘高度监视
(下)
01MEC-0503a
1
2
3
4
Tray unit-LTC
6
5

4. 传感器配置图 QD145-21
94 NXT II 机械手册
4.17.4 抛料轨
No. 地址 信号名
1 IN02 JOG 模式
2 IN04 不良元件排出许可确认 (旁侧)
3 IN03 不良元件排出许可确认 (中央)
4 IN05 不良元件 C/V 送料记数
Tray unit-LTC
4
1
3
2
01MEC-0504