00192673-01 - 第161页
Driftsvejledning SIPLACE F5/F5 HM 4 Hvad skal man gøre, hvis . .. Softwareversion SR.407.xx Udgave 01/2001 DK 4.9 Vær at vide for at undgå sporfejl 161 4.9.2 ... ved 8 mm-S t apetilførselsmodul Å Besky ttelsesfo lieaftræ…

4 Hvad skal man gøre, hvis ... Driftsvejledning SIPLACE F5/F5 HM
4.9 Vær at vide for at undgå sporfejl Softwareversion SR.407.xx Udgave 01/2001 DK
160
4.9 Vær at vide for at undgå sporfejl
4.9.1 Generelt
Å Vær opmærksom på, at området omkring tilførselsmodulerne er rene og at der ikke findes løse
komponenter i transportområdet eller under tilførselsmodulerne.
Å Sørg for at tilførselsmodulernes placeringsflader og især magnetlisten på komponent-bordene
er rene og lige.
Å Påfyld komponenter rettidigt.
Å Splejs tapene rettidigt. Normalt betyder dette, at De skal forberede splejsematerialet, når der
er ca. 1,5 m tape tilbage på rullen.
Å Håndtér tilførselsmodulerne forsigtigt, når De anbringer disse på eller fjerner disse fra
komponent-bordet, da det drejer sig om præcisionsapparater.
Å Når tilførselsmodulerne isættes, skal De være opmærksom på, at De ikke ved et tilfælde
kommer til at trykke på programtasterne. Derved kan takten (f.eks. ved 8 mm S-
tilførselsmoduler) skifte fra
4 mm til 2 mm.
Å Tilslut klapperne til tilførselsmodulerne, da disse beskadiges noget hurtigere i åben tilstand.
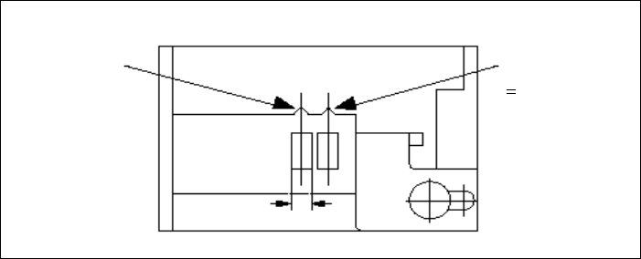
Å Kontrollér om alle komponenterne ved S-tilførselsmodulerne (afhængigt af deres størrelse)
hentes fra den rigtige position (se efterfølgende eksempel).
4
Eksempel på 8 mm S-tilførselsmoduler 4
4
Å Kontrollér om stikkene til tilførselsmodulerne er tilsluttet til de rigtige bøsninger.
Henteposition for
Henteposition for
> 3 mm
komponenter
<
3 mm
komponenter
Bredde
Driftsvejledning SIPLACE F5/F5 HM 4 Hvad skal man gøre, hvis ...
Softwareversion SR.407.xx Udgave 01/2001 DK 4.9 Vær at vide for at undgå sporfejl
161
4.9.2 ... ved 8 mm-S tapetilførselsmodul
Å
Beskyttelsesfolieaftrækket skal altid være aflastet, før beskyttelsesklappen åbnes.
Å Indstil afhentningspositionen og delingen af tapen ved hjælp af den korte vejledning, som er
vedlagt hvert tapetilførselsmodul.
Å Før tapematerialet ind i tapetilførselsmodulet via fjederen.
4.9.3 ... ved tapecontainer
Å Anbring afstandspladerne rigtigt (se Fig. 4.5 - 2).
Å Forsyn store taperuller med stikakser.

4 Hvad skal man gøre, hvis ... Driftsvejledning SIPLACE F5/F5 HM
4.9 Vær at vide for at undgå sporfejl Softwareversion SR.407.xx Udgave 01/2001 DK
162
4.9.4 Komponent-koordinatsystem og hentevinkel
4
Fig. 4.9 - 1 Komponentens placering og hentevinkel
Hus-type
0°-beskrivelsesposition
Placering i tilførslen
Hentevinkel/
pipettevinkel
Chip-
komponenter
polet
Anoden skal være
rettet hen imod den
positive X-akse.
Tape
Stang-
magasin
Tape
Tape
Stang-
magasin
Tape
Huller
Special-
komponent