80S-2080F480F4-680F5 User’s Manual - 第50页
1 Operational Safety SIPLACE 80S-20/F4/F4-6/F5 User’s Manual 1.1 Information on safety Edition 03/98 from SW S R.404.xx 1 - 8 The illust ration bel ow shows the loc ation of the sa fety infor mation for operating the co …

SIPLACE 80S-20/F4/F4-6/F5 User’s Manual 1 Operational Safety
Edition 03/98 from SW SR.404.xx 1.1 Information on safety
1 - 7
1.1.6 Safety instructions for the coplanarity laser module
DANGER
You must not make any modifications whatsoever to or tamper with the safety features or coplanarity laser
module (see Fig. 1.1.2).
The coplanarity laser module - without safety
features - corresponds to Laser class 3B (see
Fig. 1.1.3)
This means danger to eyes and skin!
For this reason the safety features
should under no circumstances
be
circumvented.
Fig. 1.1.3 Identification label for Laser class 3B
To enable the laser module in Laser class 1 to be operated with no danger to eyes and skin the following
safety features have been installed in the machine:
The interlock line is connected in series with the
switches for the protective cover. Even if the
key-operated switch is used to circumvent the
protective devices this particular protective fea-
ture will not be disabled. This means that the
laser module can be operated only within the
closed machine.
Fig. 1.1.4 Identification label for Laser class 1
DANGER
In the event of any modifications or tampering with the module the factory safety warranty will be rendered null
and void. In addition, the user shall be obliged to comply with the guidelines of the Union of Employers’ Liabil-
ity Insurance Associations [Hauptverband der Berufsgenossenschaften] -VBG 93. In other words:
- Registration with the liability insurance association
- Appointment of a laser safety officer
- Drawing up guidelines for the use of the module
Laser Class 1

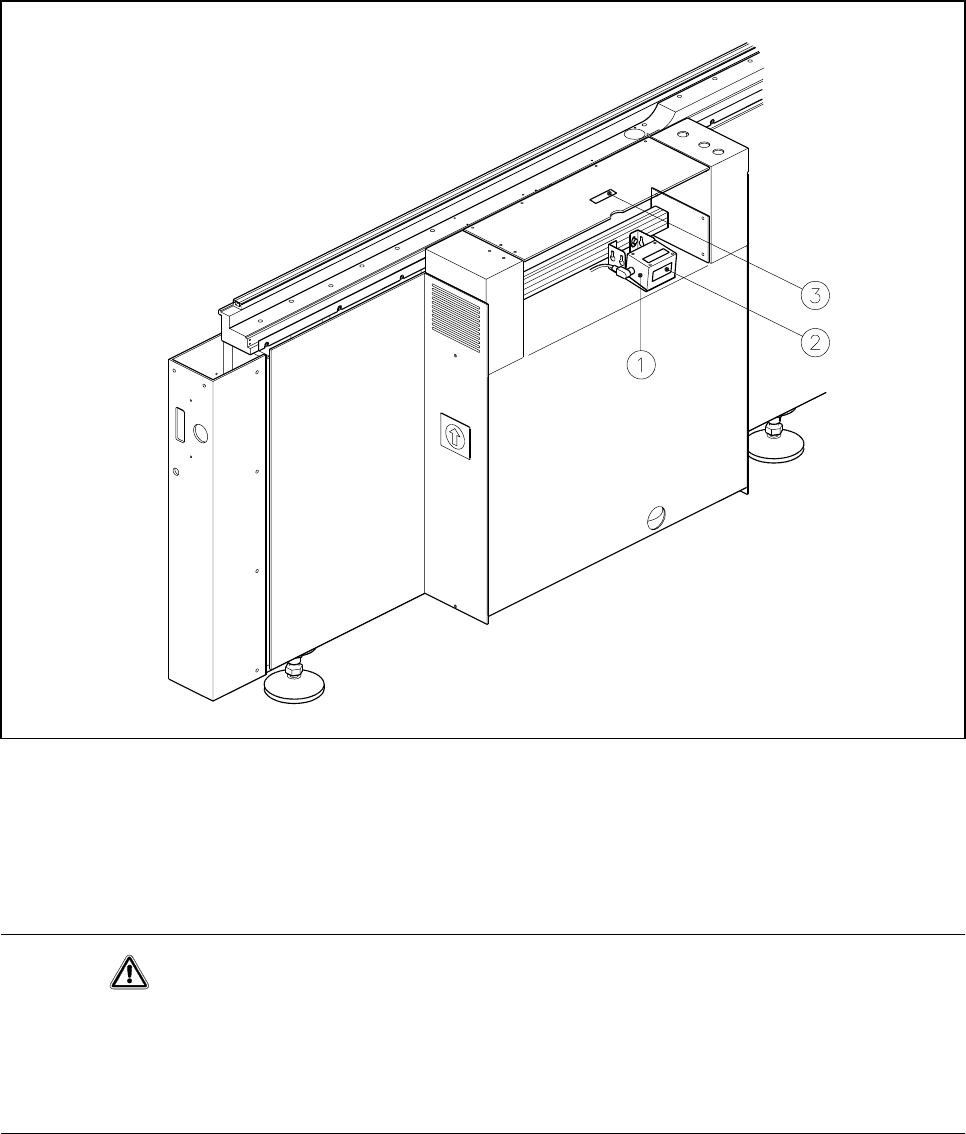
1 Operational Safety SIPLACE 80S-20/F4/F4-6/F5 User’s Manual
1.1 Information on safety Edition 03/98 from SW SR.404.xx
1 - 8
The illustration below shows the location of the safety information for operating the coplanarity laser module of
the SIPLACE 80F
4
, 80F
4
-6 or 80F
5
. This information must be glued onto the cover in the places which are
indicated by arrows so that it is clearly visible (see Fig. 1.1.5).
Fig. 1.1.5 Safety instructions on the SIPLACE 80F
4
/ F
4
-6 / F
5
- Key to Fig. 1.1.5
Laser Class 1
Caution
Invisible laser radiation if the cover is opened
and safety interlock is bypassed
Do not stand in front of the beam
1
2

SIPLACE 80S-20/F4/F4-6/F5 User’s Manual 1 Operational Safety
Edition 03/98 from SW SR.404.xx 1.1 Information on safety
1 - 9
1.1.7 Safety instructions for the PCB barcode reader (option)
Fig. 1.1.6 PCB barcode reader (bottom)
- Key to Fig. 1.1.6
1 PCB barcode reader (bottom) 2 Label: ’laser radiation...’ (Fig. 1.1.7)
3 Label: ’Caution ...’ (see Fig. 1.1.8)
CAUTION
The radiant power of the barcode reader‘s scanning beam is less than 1mW. This means that the barcode
reader conforms to laser class 2 and, according to DIN EN 60825-1, requires no special safety equipment or
protective measures. NEVER look into the laser beam. There is also a safety circuit that switches off the laser
diode if the polygon wheel stops or turns too slowly.