Dual conveyor fixed conveyor side left side_20211119_083156 - 第19页
Dual conveyor fixed conveyor side left side Page 19 / 45 19.11.2021

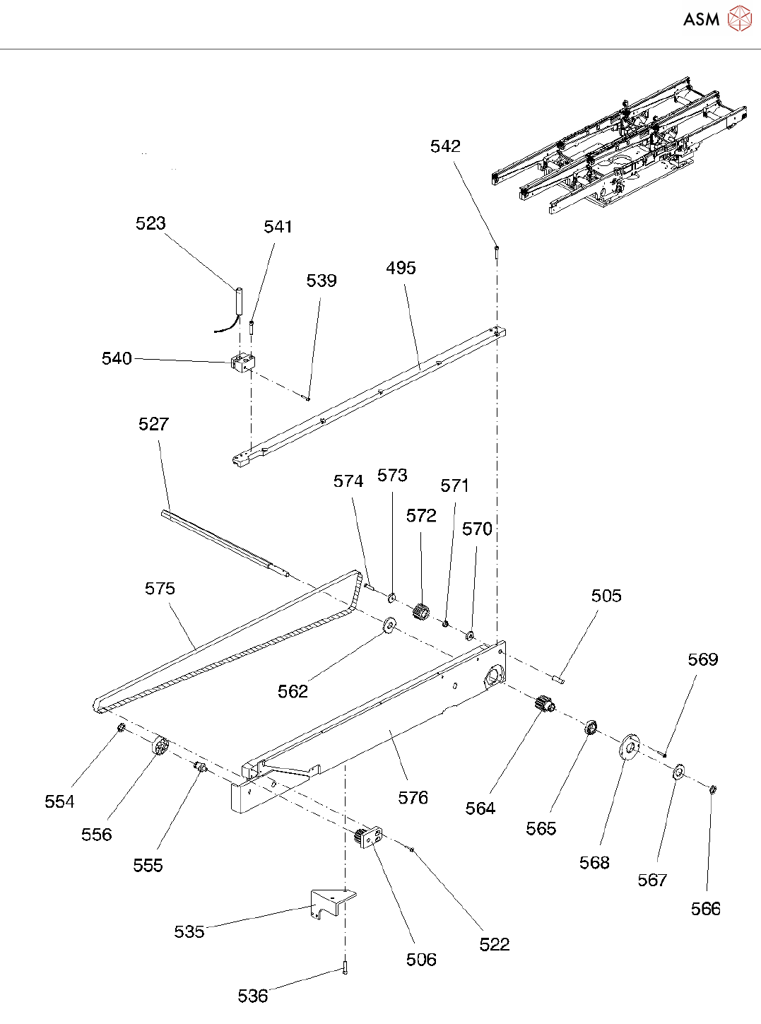
Dual conveyor fixed conveyor side left side
Page 18 / 45 19.11.2021

Dual conveyor fixed conveyor side left side
Page 19 / 45 19.11.2021

Dual conveyor fixed conveyor side left side
Page 20 / 45 19.11.2021