Dual conveyor fixed conveyor side left side_20211119_083156 - 第22页
Dual conveyor fixed conveyor side left side Page 22 / 45 19.11.2021

Dual conveyor fixed conveyor side left side
Page 21 / 45 19.11.2021

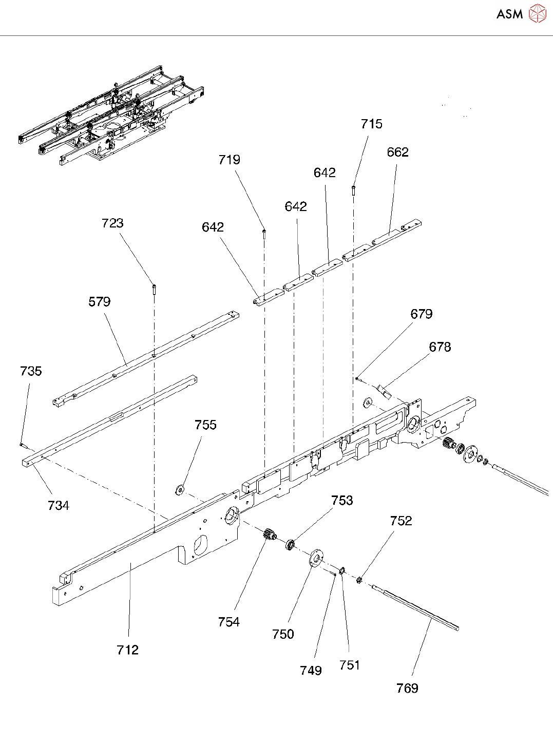
Dual conveyor fixed conveyor side left side
Page 22 / 45 19.11.2021

Dual conveyor fixed conveyor side left side
Page 23 / 45 19.11.2021