00197498-03_UM_SiplaceCA-Serie_EN - 第287页
User Manual SIPLACE CA-Series 5 Setting up and Commissioning From software version SC.708.0 Edition 12/20 14 EN -DRAFT 5.5 Setting Up the Placement Machine 287 5.5.4.2 Presetting the Height of the Outer Machine Feet 5 Fi…

5 Setting up and Commissioning User Manual SIPLACE CA-Series
5.5 Setting Up the Placement Machine From software version SC.708.0 Edition 12/2014 EN -DRAFT
286
Setting a Board Conveyor Height of 930 and 950 mm 5
You also need the spacer for the board conveyor heights 930 mm and 950 mm.
Make sure that the 122.5 mm side of the spacer is vertically aligned and the hole for the mid-
dle machine foot indicates downwards.
5
Fig. 5.5 - 5 Aligning the spacer for a conveyor heights of 930 and 950 mm
5
(1) Spacer height of 122.5 mm
(2) Machine foot
(3) Lock nut M24
(4) Hexagon socket head screw M12x80, 4
Screw the thread of the middle machine foot into the hole provided on the underside of the
spacer.
Align both spacers as follows:
– The spacer opening on the pneumatic unit side points in the direction of board conveyor
travel (see item 4 in fig. 5.5 - 3
, page 284).
– The spacer opening on the power supply side points in the opposite direction to that of
conveyor travel (see item 3 in fig. 5.5 - 3
, page 284).
Fasten each of the two spacers with four hexagon socket-head screws M12x80 (see item 4
in fig. 5.5 - 5
). Use the screwdriver bit of size 10 mm.
122.5 mm

User Manual SIPLACE CA-Series 5 Setting up and Commissioning
From software version SC.708.0 Edition 12/2014 EN -DRAFT 5.5 Setting Up the Placement Machine
287
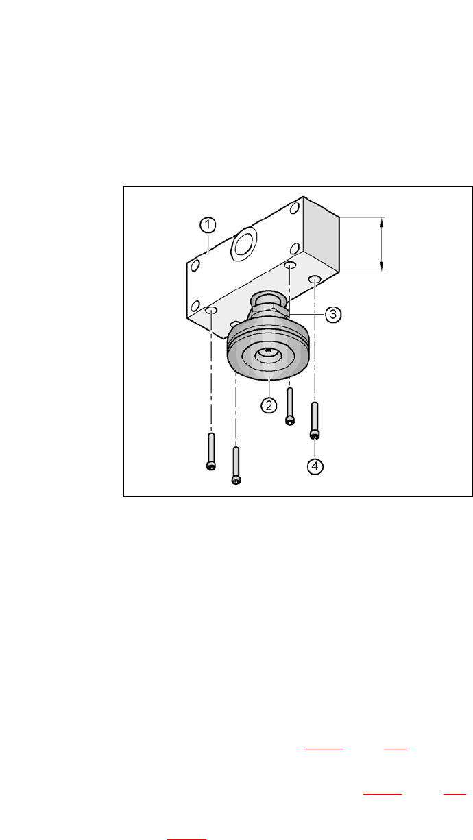
5.5.4.2 Presetting the Height of the Outer Machine Feet
5
Fig. 5.5 - 6 Presetting the height of the outer machine feet
(1) Machine feet, - 2 versions
(2) Hexagon socket-head screw M24x90
(3) M24x2x120 adjusting screw
Carefully loosen both hexagon socket-head screws M24x90 (item 2 in fig. 5.5 - 6, page 287)
with the screwdriver bit (size 19 mm) and let the outer machine foot (item 1 in fig. 5.5 - 6
, page
287
) slowly slide down as far as the end stop.

5 Setting up and Commissioning User Manual SIPLACE CA-Series
5.5 Setting Up the Placement Machine From software version SC.708.0 Edition 12/2014 EN -DRAFT
288
Insert the correct machine foot for the required PCB conveyor height.
The outer machine feet are available in two versions: 5
– Outer machine foot for PCB conveyor heights 900, 930 and 950 mm, Length 439 mm
[03000890-02] (item 2 in fig. 5.5 - 3
, page 284)
Perform this presetting for each of the outer machine feet.
The distance between the machine foot underside and the lower edge of the machine frame
should be as follows:
Adjust the setting screw M24x2x120 (item 3 in fig. 5.5 - 6, page 287) with the fork wrench SW
36, so that you achieve the distance values for the relevant conveyor height, as specified in
the table above.
Carefully lower the placement machine with the fork-lift truck, until the machine feet touch the
floor evenly. There should always be a second person present to ensure that the machine re-
mains stable while it is being lowered. You may need to loosen the outer machine feet clamp
slightly.
Continue to carefully lower the placement machine, until the outer machine feet touch the
height adjustment setting screws M24x2x120 (item 3 in fig. 5.5 - 6
, page 287).
Make sure that the middle machine feet (see item 2 in fig. 5.5 - 3, page 284) do not yet touch
the ground. If necessary, screw the middle machine feet further into the placement machine
or into the spacer.
5
PCB conveyor height Distance of machine foot underside to lower edge of
machine frame
900 mm 190 mm
930 mm 220 mm
950 mm 240 mm
PLEASE NOTE
For final adjustment of the machine, see section 5.5.17
, page 326.