JUKI_KE-2050-2060_MAINTE_CH维修要领 - 第56页
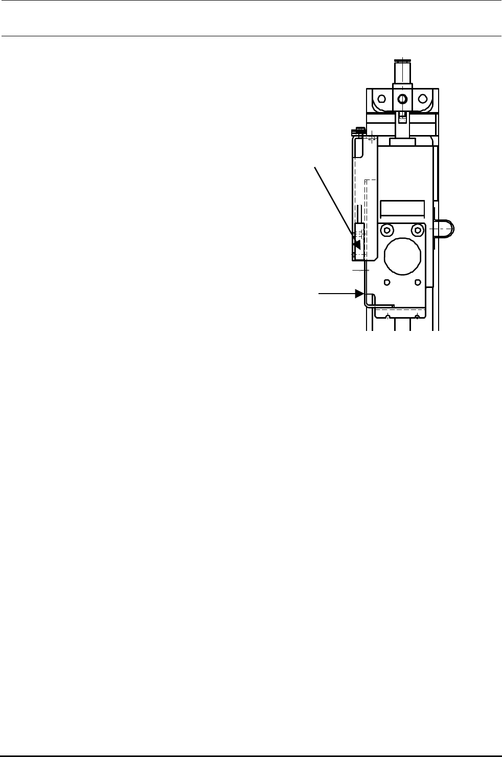
Rev2.00 维修调整要领书 Z 传感器配件 A Z 传感器 <程序> ① ⑯ 测定Z传感器和Z传感器配件IC 的 间隙。 上下移动Z传感器配件, 确认上 下的间隙均为0. 9±0. 2mm的范围。 (A尺寸) ② 如果在规格外时, 请拧松Z传感器座的安 装螺丝, 调整Z传感器的位置。 另外, 上 下移动IC θ马达,间 隙量变化时,请 拧松Z传感器配件的方向,进行调整。 ③ 在不装ICZ电动机和贴装头上升SP IC的状态下用弹簧秤检…

Rev2.00
维修调整要领书
2-12
2-2-4.ICθ马达(FMLA贴装头)
更换了马达之后,需要重新输入有关轴的高度以及激光、贴装头心距调整、贴装头偏差、贴装综合偏
差的MS参数。(输入项目请参照2-9项。)
1) 按照 2-1-1 项 1)~7)拆下贴装头部上部护盖。
2) 卸下贴装头上SP2个。
3)
⑭
卸下球螺丝的安装螺丝 (4个)。
4) 卸下ICθ
⑮
马达的安装螺丝 (4个)。
5) 从卸下的ICθ
⑯
马达卸下Z传感器配件IC 、
⑰
半总成 、吸嘴套轴IC。
7) 安装时、按照详单的顺序进行。
8) 按照以下的程序进行确认和调整。
注) 拆卸 IC 电动机时,作业时注意不要碰伤 LA 装置的
孔部。
同时,作业时要避免滑块从 LM 导轨脱出。
滑块内的球有可能弹出来。
图2-2-6
⑰
⑭
⑮
⑯

Rev2.00
维修调整要领书
Z传感器配件
A
Z传感器
<程序>
①
⑯
测定Z传感器和Z传感器配件IC 的
间隙。 上下移动Z传感器配件,确认上
下的间隙均为0.9±0.2mm的范围。
(A尺寸)
② 如果在规格外时,请拧松Z传感器座的安
装螺丝,调整Z传感器的位置。另外,上
下移动IC θ马达,间隙量变化时,请
拧松Z传感器配件的方向,进行调整。
③ 在不装ICZ电动机和贴装头上升SP
IC的状态下用弹簧秤检查,是否是以
0.75 kg滑动。
※用手关闭半总成之后,用扳手转动 1/6 圈。
※在ICθ
⑮
马达安装螺丝 (4个)上涂上锁定漆242后,用转矩1.3 Nm 拧紧固定。此时,
请让马达基准面和后导向器基准面没有间隙。
⑭
※在球螺丝的安装螺丝 (4 个)上涂上锁定漆242后,用转矩3.7 Nm 拧紧固定。
※请按照2-1-2项进行贴装头的安装。
然后,请进行贴装头心距调整。
2-13

Rev2.00
维修调整要领书
2-14
2-3.Z传感器的更换
更换了Z传感器后,进行原点复位确认动作是否正常。
2-3-1.MNLA贴装头
1) 按照2-1-2项的1)2)4)
7)卸下周边零件。
2)
⑱
卸下Z传感器座的安装螺丝 (2
个),从下侧下下Z传感器座。
3) 剪断束线带,更换 Z 传感器。
4) 安装时按照相反的顺序进行。
5) 按照以下的程序进行确认和调整。
<程序>
① 测定Z传感器和Z传感器配件的
间隙。(图A尺寸)
上下移动Z传感器配件,确认上下均在0.9±0.2mm的范围中。
② 如果在规格外时,Z请拧送传感器座的安装螺丝,调整
Z传感器的位置。
图2-3-1
图2-3-3
图2-3-2
⑱