Machine frame SIPLACE 80 F4_20211119_044530 - 第25页
Machine frame SIPLACE 80 F4 Page 25 / 33 19.11.2021

Machine frame SIPLACE 80 F4
Page 24 / 33 19.11.2021

Machine frame SIPLACE 80 F4
Page 25 / 33 19.11.2021

Machine frame SIPLACE 80 F4
Page 26 / 33 19.11.2021
Pos. Item no. Description Part marking
00320704-02 MACHINE FRAME SIPLACE 80 F 4
1 00320704-02 MACHINE FRAME SIPLACE 80 F 4
2 00320793-06 FRAME - BASE UNIT
3 00346032-04 CONTAINER, SMALL
4 00318664-06 WELDED PART FRAME SIPLACE 4
5 00351165-02 U-PROFILE WITH MOTOR CUTAWAY
6 00346047-05 U-PROFILE W. SOCKET
7 00346037-01 COVER
8 00350252-01 HOOD
9 00346050-01 PROTECTION
10 00345988-01 PROTECTION
11 00346000-03 U-PROFILE
12 00346031-03 U-PROFILE
13 00321224-02 MACHINE BASE NORMAL HEIGHT
SIPL
SPARE PART
14 00321245-01 SPRING TYPE STRAIGHT PIN
15 00321225-01 MACHINE BASE HOLDER
16 00321226-01 MACHINE BASE REWORK
17 00304184-01 LOCK WITH DOUBLE BIT / BAR
18 00304191-01 DIN 43668 - 3 - C35 STANDARD PARTS
19 00304400-02 COVER ANGLE SPARE
20 00346062-01 COVER
21 00304635-02 SLIDING PLATE
22 00322191-03 SLIDING PLATE
23 00322190-02 SLIDING PLATE
24 00315645-01 DISTANCE BOLT
25 00348952-03 PLUG-IN SEQUENCE COMPON.
TABLE S23/F5HM
SPARE PART
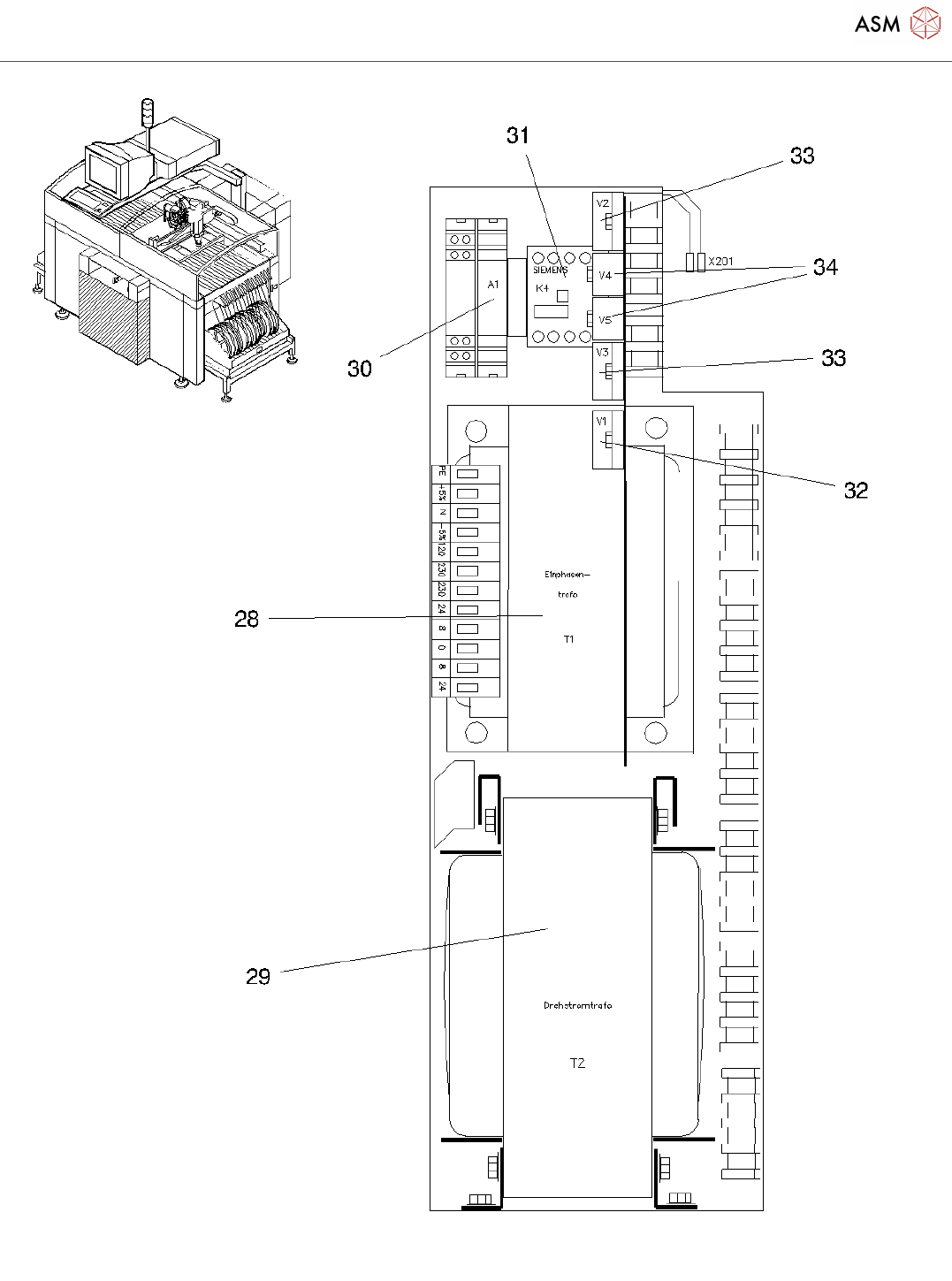
26 00321086S05 POWERSUPPLY Spare Part
27 00321435-02 MAIN SWITCH FOR POWER SUPPLY
S20/F4
28 00329498-01 TRANSFORMER (ONE-PHASE) TYPE
4AM52
29 00323840-03 TRANSFORMER (THREE-PHASE)
4AP2795-0AV70-
30 00342988-01 INRUSH CURRENT LIMITER ESB-S20 SPARE PART