文档中心
/
Machine frame D4_20211123_063905
Machine frame D4_20211123_063905 - 第15页
Machine frame D4 Page 15 / 21 23.11.2021
目录
100%
显示:宽度
宽度
1 / 21
回到旧版
旧版
?
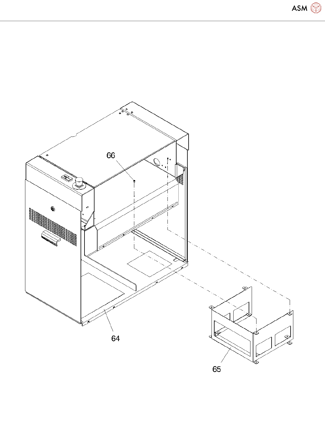
Machine frame D4
Page 14 / 21
23.11.2021
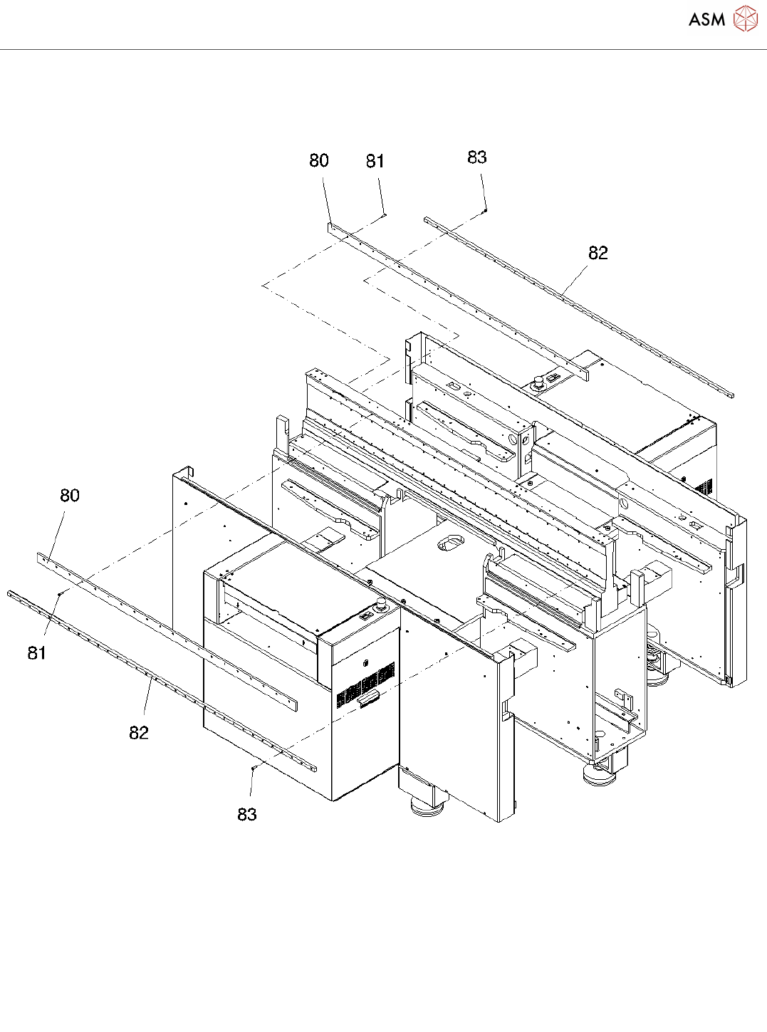
Machine frame D4
Page 15 / 21
23.11.2021
Machine frame D4
Page 16 / 21
23.11.2021
该页面需要启用 JavaScript 才能进行交互式预览。