KE-2000R_InstructionManual_C_Rev00说明 - 第369页
第1部 基本篇 第4章 生产程序制作 4-64 7) MTC/MTS/DTS ●MTC速度: 可指定滑梭的动作速度。 如果使速度变慢, 则向主体的元件供给会变得稳定, 但 生产速度会变慢。 ●吸取: 可指定MTC吸取侧垫片的种类(大、小)。 ●滑梭: 可指定MTC滑梭侧垫片的种类(大、小、机械)。 ※ 当为BGA等球形元件时,由于不能在 Μ TC滑梭的垫片上吸取(使用真空),因此,使用机 械吸取(夹住元件外形)。 ※ 在“附加信息”标签…

第1部 基本篇 第4章 生产程序制作
4-63
5) 激光识别算法
能指定供激光识别用的算法。主要用途如下:
表 4-3-5-2-5 算法
算法 操作 用途
1 找出阴宽度最小的边(第 1 最小阴性 A),从所找出
的最小宽度的边起旋转至 90 度,得到最小宽度(第
2最小阴性 B),对位置偏移、角度偏移进行修正并
贴片。
芯片元件
2 找出阴宽度最小的边(第 1 最小阴性 A),从所找出
的最小宽度的边起,在激光校正的同时,转动至正
方向,得到最小宽度(第2最小阴性 B),对位置偏
移、角度偏移进行修正并贴片。
SOP 等带引脚的元件
3 找出保持吸取姿势的阴极(第1最小阴性 A),从所
找出的最小宽度的边起旋转至 90 度,得到最小宽
度(第2最小阴性 B),对位置偏移、角度偏移进行
修正并贴片。
用于没有角的圆筒形芯片。
此时,忽视角度(极性被忽
视),仅求出元件的中心。
0 从吸取姿势起按贴片角度转动并贴片。 用于激光定心不稳定的元件
(超出规格的极薄的元件)。
此时不进行定心而直接进行
贴片。因此贴片位置受吸取
位置影响。
注意
算法的初始值根据元件种类而定。一般情况下,如果改变算法会
导致错误发生率增大。因此除特殊情况外,请绝对不要变更。
6) 预旋转角度
对已吸取的激光识别元件在定心前旋转多少度进行设置(预旋转角度)。
默认值在外形尺寸首次输入时被设置。变更外形尺寸时,默认值不被设置。
初始值被设置为30°(仅0603元件为40°)。如果变更,定心的稳定性会发生变化(大多数情况
下,定心会变得不稳定)。
注意
由于会影响贴片精度,因此没有 JUKI 的指示,请绝对不要变更角度。

第1部 基本篇 第4章 生产程序制作
4-64
7) MTC/MTS/DTS
●MTC速度: 可指定滑梭的动作速度。如果使速度变慢,则向主体的元件供给会变得稳定,但
生产速度会变慢。
●吸取: 可指定MTC吸取侧垫片的种类(大、小)。
●滑梭: 可指定MTC滑梭侧垫片的种类(大、小、机械)。
※ 当为BGA等球形元件时,由于不能在ΜTC滑梭的垫片上吸取(使用真空),因此,使用机
械吸取(夹住元件外形)。
※ 在“附加信息”标签的“元件废弃”中设置了“返回托盘”时,不能选择“机械”项。
◆ MTC垫片的初始值
画面标记 默认值
吸取 ·元件尺寸的纵横方向的短边
不足 16mm 时 :小
超过 16mm 时 :大
滑梭 ·元件种类为 BGA 时 :机械
·元件种类为 BGA 以外时,元件尺寸的纵横方向的短边
不足 16mm 时 :小
超过 16mm 时 :大
●MTS速度: 可指定MTS托盘的拉出速度。
●DTS速度: 可指定DTS托盘的拉出速度。

第1部 基本篇 第4章 生产程序制作
4-65
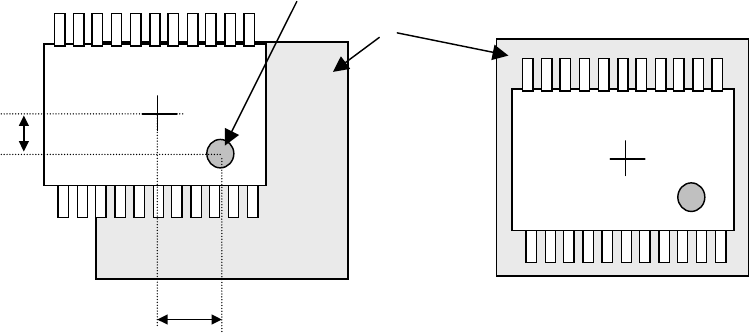
8) 识别中心偏移值(仅 KE-2055R、2060R 可输入)
图像定心是通过将吸取中心位置(通常是元件中心位置)移动到VCS的中心位置来进行。但象MC
M(Multi Chip Module)之类的元件,因不能吸取元件中心,如果超出VCS视角范围时,将不能
进行图像定心。此时,可通过输入如下图的偏移值(a、b),使识别得以正常进行。
吸取中心位置=VCS 中心位置
a
b
(俯视图)
VCS(的视角)
⇒