M4serviceManual_e - 第15页
1 Installation 1-7 ACTION: ① Locate the machine to the specified place. ② Turn the adjust feet so that the PCB transfer height is the same as the conveyor height (900 ± 20 mm (see Note)) of the reference equipment. In th…

1 Installation
1-6
Installing the Machine
Do not touch terminals of electric components when the power is on to prevent electric shock and machine
damage.
Make sure to ground the machine to prevent electric shock.
Note on Installation
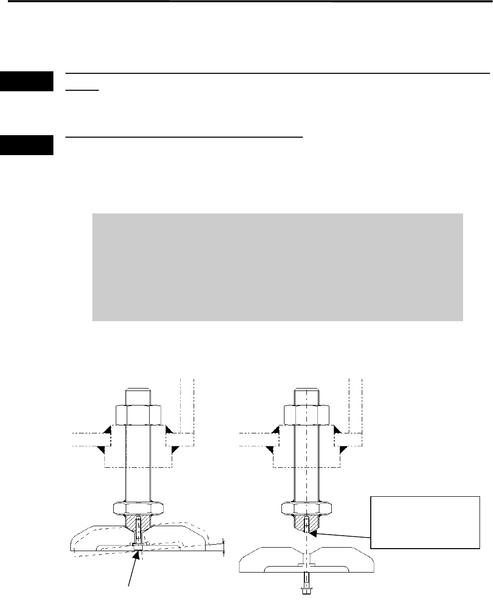
It is normal that the adjust foot can be slightly inclined (within 2-degree range).
Do not tighten the bolt forcedly trying to fix the foot.
When you move and/or install the mounter, be careful not to apply excessive
force on the adjust foot. This may cause the screw of the adjust foot to break.
When placing the mounter on the floor, be sure that the mounter is kept
horizontal.
Warning
Warning
2°
If excessive force is
applied, the screw may
break at this point.
Mounting Screw

1 Installation
1-7
ACTION:
① Locate the machine to the specified place.
② Turn the adjust feet so that the PCB transfer height is the same as the conveyor height (900±20mm
(see Note)) of the reference equipment. In the case of SMEMA interface spec, the height must be 950
±20mm.
900+/-20mm
or
950+/-20mm(SMEMA)
NOTE: The height must be 890 to 920mm in the case of CFB wagon spec.
NOTE: The adjust feet must be turned using a M30 single-head wrench (nominal: 46mm).
③ Place a level on the conveyor and adjust the height so that the machine is level lengthwise and
crosswise.
Level

1 Installation
1-8
④ After the machine is adjusted level, check again that the transfer height is correct, and then lock each
adjust foot nut.
NOTE: The adjust foot nuts must be locked with a closed wrench (nominal: 46mm).
⑤ The head assy. is fixed to the XY shafts with nylon ties. Take them off with nippers.
⑥ Connect the power cable and ground line independently of other machines which may be a noise
source, such as a compressor, welding machine.
⑦ Connect an intake-side air coupler 65SN or 85SN (Nitto Kohki) or equivalent to the air regulator
coupler located on the rear of the machine. After the coupler is connected, make sure that the air
regulator’s reading is 0.5MPa(5.1 ㎏ f/c ㎡).
Intake-side air coupler
65SN/85SN (Nitto Kohki) or equivalent
Air regulator
Air coupler