M4serviceManual_e - 第80页
5 Materials 5-6 Conveyor Section Part Name Part No. Qty. Remarks BELT 1 LC0-M9BA1-00X 2 No buffer, no extension at both ends BELT 2 LC0-M9BA2-00X 2 With buffer, for entrance side with no extension at entrance BELT 3 LC0-…

5 Materials
5-5
Replacement Parts
Head Manifold Section
Part Name Part No. M4a/M4s
Qty.
M4e
Qty.
Remarks
FILTER ELEMENT LC1-M71A9-00X 4 3
AIR FILTER ASSY. LC1-M71A4-00X 4 3
SILENCER ELEMENT LG0-M71A8-00X 4 3
GENERATOR,VACUUM LG0-M71A3-00X 4 3 Vacuum Generator
NOTE: “Qty.” indicates the quantity required for each machine.
Nozzle Related
Part Name Part No. Qty. Remarks
RUBB.PAD17 LG0-M77A0-00X 1 Rubber pad for M017
RUBB.PAD18 LG0-M77A1-00X 1 Rubber pad for M 018
RUBB.PAD19 LG0-M77A2-00X 1 Rubber pad for M 019
RUBB.PAD20 LG0-M77A9-00X 1 Rubber pad for M 020
PAD STOPPER M020 LG0-M770U-00X 1 Pad stopper for M 020
NOTE: “Qty.” indicates the quantity required for each nozzle.
Air Regulator Section
Part Name Part No. Qty. Remarks
FILTER ELEMENT LG0-M86A2-10X 1 For mist separator
NOTE: “Qty.” indicates the quantity required for each machine.
Grease
Part Name Part No. Qty. Remarks
GREASE,AFA LG0-M86A3-00X 1 AFA Grease (70g)
GREASE,AFB LG0-M86A4-00X 1 AFB Grease (70g)
GREASE SILICON LG0-M89AB-00X 1 Silicon Grease (10g)

5 Materials
5-6
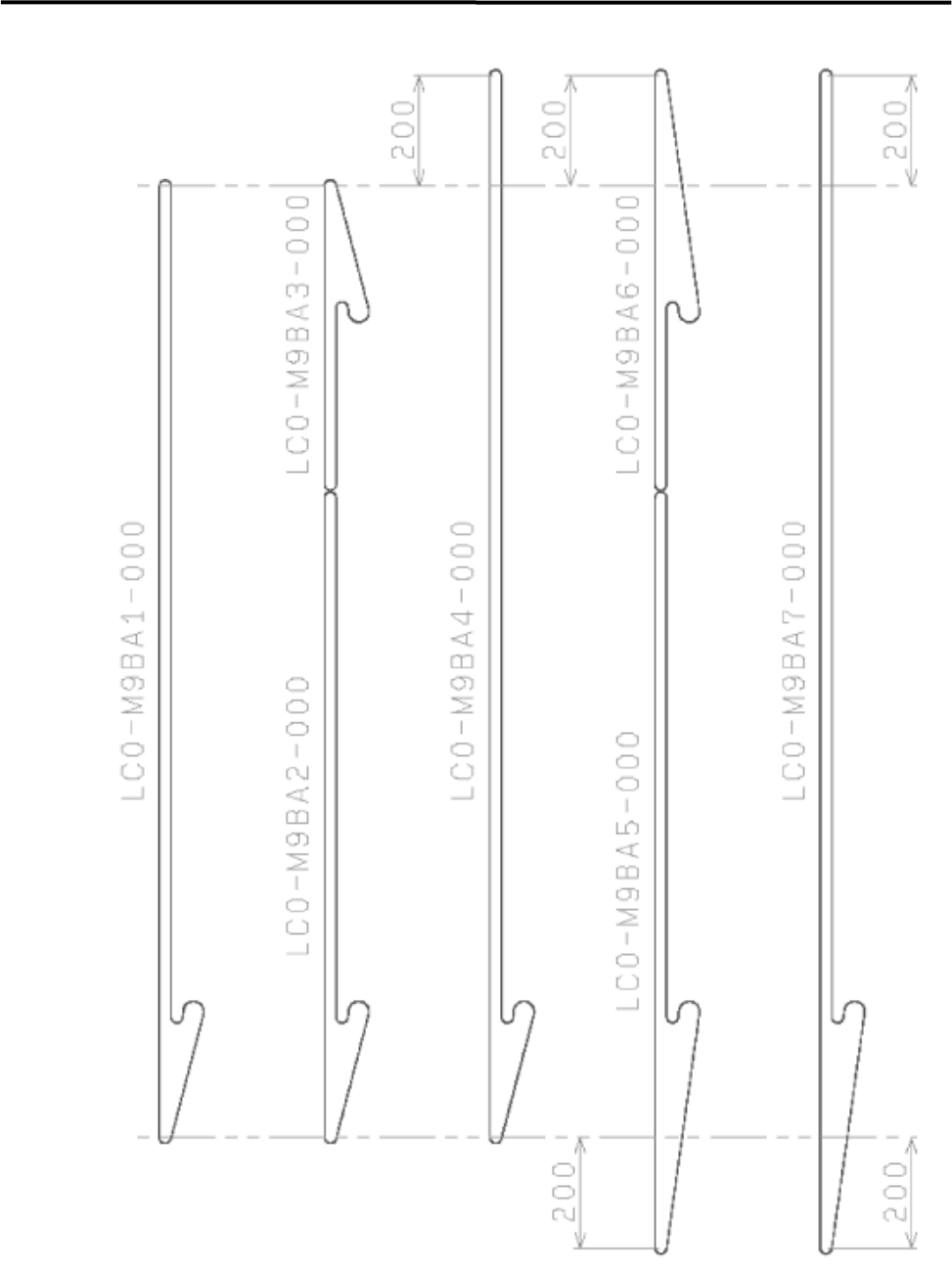
Conveyor Section
Part Name Part No. Qty. Remarks
BELT 1 LC0-M9BA1-00X 2
No buffer, no extension at both ends
BELT 2 LC0-M9BA2-00X 2
With buffer, for entrance side with no
extension at entrance
BELT 3 LC0-M9BA3-00X 2
With buffer, for exit side with no
extension at exit
BELT 4 LC0-M9BA4-00X 2
No buffer, 200mm extension at one
end
BELT 5 LC0-M9BA5-00X 2
With buffer, for entrance side with
200mm extension at entrance
BELT 6 LC0-M9BA6-00X 2
With buffer, for exit side with 200mm
extension at exit
BELT 7 LC0-M9BA7-00X 2
No buffer, 200mm extension at both
ends
Note: The belt to be used varies with the conveyor specifications of the machine.

5 Materials
5-7
Conveyor belt