Gantry system_20211124_033416 - 第12页
Gantry system Page 12 / 18 24.11.2021

Gantry system
Page 11 / 18 24.11.2021

Gantry system
Page 12 / 18 24.11.2021

Gantry system
Page 13 / 18 24.11.2021
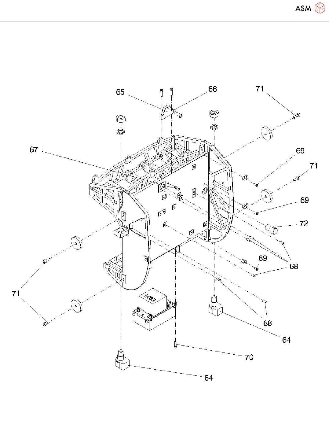
Pos. Item no. Description Part marking
1 03062383S06 GR GANTRY /P001 SPARE PART
2 03062383S06 GR GANTRY /P001 SPARE PART
3 03061618-04 GANTRY CPL.
4 03059084S01 RUNNER BLOCK MRC 25-25G2-V1 *
5 03051136-02 SUPPORT RSF-READ HEAD SPARE PART
6 03052657S01 READ HEAD RSF MS 20.XX M Y AXIS SPARE PART
7 03042542-01 ISO 4762 - M 3 X 8-A2-70 STANDARD PARTS
8 03062555-01 BUFFER SUPPORT
9 03058408-01 FINGER GUARD
10 03042553-01 ISO 4762 - M 4 X 12-A2-70 Spare Part
11 03085456-01 FAN X/Y MOTOR SPARE PART
12 03064193-01 PUFFER ACE TA28-12
13 03064262-01 BUFFER SUPPORT ACE TA28-12
14 03066675-02 DISTANCE WASHER SPARE PART
15 03066684-02 DISTANCE WASHER
16 03042540-01 ISO 4762 - M 3 X 5-A2-70
17 03062554-02 BUFFER SUPPORT
18 03058408-01 FINGER GUARD
19 03042553-01 ISO 4762 - M 4 X 12-A2-70 Spare Part
20 03085456-01 FAN X/Y MOTOR SPARE PART
21 03064193-01 PUFFER ACE TA28-12
22 03042540-01 ISO 4762 - M 3 X 5-A2-70
23 03064608-03 SENSOR MODULE Y AXIS SPARE PART
24 03077484-01 COVER PLATE
25 03064193-01 PUFFER ACE TA28-12
26 03012700-01 WARNING LABEL NO. 202 SHARED
03009341-02 WARNING SIGN NO. 202 - 4
PICTOGRAMS
28 03078126-01 SHEET FOR CABLES CPL.
29 03063546-02 CONNECTOR FASTENER
30 03065335-01 GANTRY INTERFACE Y SPARE PART
31 03065078-01 GANTRY INTERFACE X PASSIVE 1 SPARE PART
32 03060962-02 SENSOR INTERFACE SPARE PART
33 03060343-01 CONNECTOR FASTENER
34 03064780-02 BRACKET SPARE PART