文档中心
/
Gantry system_20211124_033416
Gantry system_20211124_033416 - 第8页
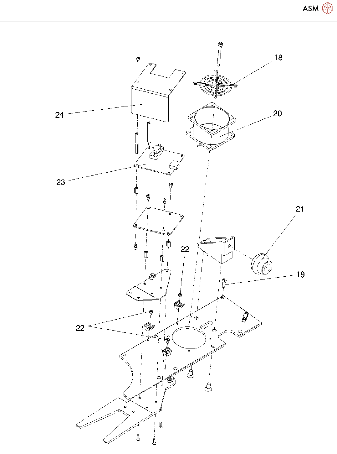
Gantry system Page 8 / 18 24.11.2021
目录
100%
显示:宽度
宽度
1 / 18
回到旧版
旧版
?
Gantry system
Page 7 / 18
24.11.2021
Gantry system
Page 8 / 18
24.11.2021
Gantry system
Page 9 / 18
24.11.2021
该页面需要启用 JavaScript 才能进行交互式预览。