JX-350-Rev03 - 第79页
- 74 - REF.NO NOTE PART NO D E S C R I P T I O N 品 名 Qty 1 400-45984 SOT CHECK B ASE SOTチェックベース 1 2 401-61642 SOT_CHECK_ BASE_SPACER SOT_検査台_ベース _スペーサ 1 3 SM-1031 001-SC SCREW M 3X0.5 L=10 皿小ねじ M3X0.5 L=10 2 4 PJ-3010405…

- 73 -
37. SOT CHECK TABLE & AUXILIARY MEMORY COMPONENTS
SOT 検査台・補助記憶装置関係
4
10
7
6
8
15
13
12
5
3
1
2
9
11
14
16
17
18
19
20
22
23
21

- 74 -
REF.NO NOTE PART NO D E S C R I P T I O N
品 名
Qty
1 400-45984 SOT CHECK BASE
SOTチェックベース
1
2 401-61642 SOT_CHECK_BASE_SPACER
SOT_検査台_ベース_スペーサ
1
3 SM-1031001-SC SCREW M3X0.5 L=10
皿小ねじ M3X0.5 L=10
2
4 PJ-3010405-05 HALF UNION
ハーフ ユニオン
1
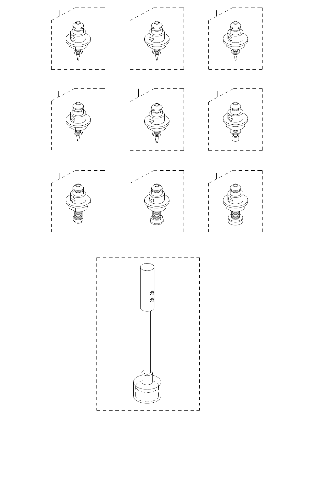
5 401-47666 SOT_VALVE_20VA_ASM
SOTバルブ20VA組
1
6 PV-1305410-00 3-PORT SOLENOID VALVE
3ポート電磁切替弁
(1)
7 PX-0505010-00 SILENCER
消音器
(1)
8 PJ-3010405-05 HALF UNION
ハーフ ユニオン
(1)
9 PJ-3040605-02 ELBOW UNION 6XM5
エルボ ユニオン 6XM5
(1)
10 SM-6031202-TN SCREW M3X12
六角穴ボルト M3X12
(2)
11 401-46942 CAL_VALVE_BRKT
CALバルブブラケット
(1)
12 PF-0100030-A0 AIR SUCTION FILTER
エア サクション フィルタ
(4)
13 SM-1030601-SC SCREW M3X6
皿ねじ M3X6
(2)
14 BT-0400251-EA URETHANE TUBE BLUE 4X2.5
ポリウレタン チューブ 青 4X2.5
(0.08)
15 SL-6030892-TN SCREW M3 L=8
座金付き六角穴ボルト M3 L=8
2
16 PJ-3080600-03 UNION Y
ユニオン ワイ
1
17 BT-0600400-EC URETHANE TUBE BLUE 6X4
ポリウレタン チューブ 青 6X4
0.15
18 BT-0400251-EA URETHANE TUBE BLUE 4X2.5
ポリウレタン チューブ 青 4X2.5
0.25
19 400-44524 PORTABLE DVD-ROM CD-R/RW DRIVE
ポータブルDVD−ROM CD−R/RWドライブ
1
20 400-52558 USB MEMORY
USBメモリ
1
21 400-71517 OPTION HOLDER ASSY
オプションホルダ組
1
22 400-93827 OPTION_HOLDER
オプションホルダ
(1)
23 SL-4040891-SC SCREW M4X8
座金付きなべ小ねじ M4 L=8
(2)

- 75 -
38. NOZZLE ASSEMBLY & SUPPORT PIN COMPONENTS
ノズルアッセンブリ・サポートピン関係
3
46
5
12
789
10