BM221 Parts list(Mechanical20140224) - 第55页
PART No. イラスト No. REF No. PART NAME REMARKS Q'TY 2 カバー 部(2) COVER S ECT.(2) 部 品 名 品 番 個数 備 考 R 1 R 2 2 007 1086212520 PLATE フ ゚レート 1 011 108620223602 BRACKE T(SWITCH) ブラケット(ス イッチ) 1 014 N210078484AB FRONT COVER(LE…

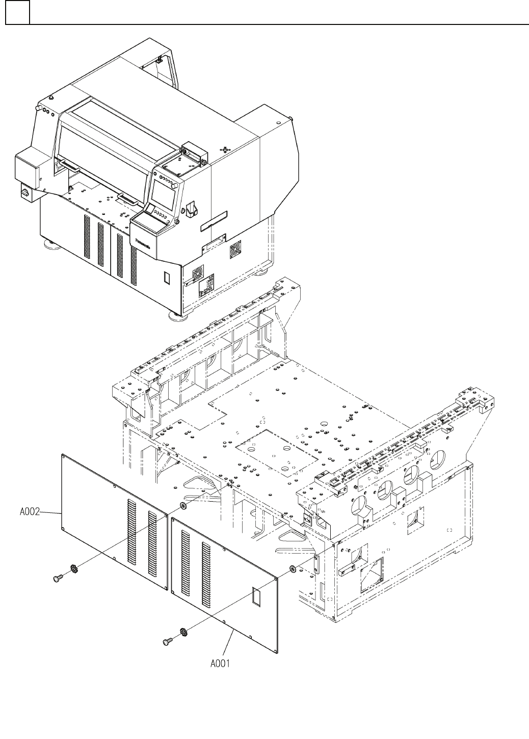
カバー部(2)
COVER SECT.(2)
2
FN610062200AA_10-2
M23

PART No.
イラスト
No.
REF
No.
PART NAME
REMARKS
Q'TY
2
カバー部(2)
COVER SECT.(2)
部 品 名 品 番 個数
備 考
R
1
R
2
2007 1086212520
PLATE フ
゚レート
1
011 108620223602
BRACKET(SWITCH) ブラケット(スイッチ)
1
014 N210078484AB
FRONT COVER(LEFT) フロントカバー(LEFT)
1016 N210078486AB
REAR COVER(LEFT) リアカハ
゙ー(LEFT)
1017 1086202519
GUIDE ガ
イド
1
019 108620252301
COVER カバー
1
034 N210160497AA
BRACKET ブラケット
1042 N210078492AA
SIDE COVER(LEFT) サイト
゙カバー(LEFT)
5 External toothed St
15
N002
N510018765AA
TOOTHED LOCK WASHER ハツキサ
゙ガネ
M5X8-4.8 A2J (Trivale
2
N003
N510018302AA
TRUSS HEAD SCREW トラスコネジ
SUB-M5X25
2
N006
N510019881AA
BOLT ボルト
JB-A M5X8 +
14
N007
N510038044AA
BOLT ホ
゙ルト
M5X12
14
N008
N986YYYY-814
CAP キャップ
P1-32/EA/SVB-SW S
1
N009
N302P132-553
SWITCH スイッチ
M22-PV/K02 S
1
N010
KXFP6FMNA00
SWITCH スイッチ
APN122DNS-TK2310
1
N018
KXFP6GAGA00
LAMP ランフ
゚
M4X8-4.8 A2J (Trivale
2
N021
N510018282AA
TRUSS HEAD SCREW トラスコネジ
C-30-SG-16A,WHITE
4
N022
N980C30S-034
GROMMET グロメット
EH0512 (Trivalent)
2
N027
N510024897AA
BOLT ボルト
D4NS-1BF S
1
N031
N510015338AA
SWITCH スイッチ
53015030-WM
1
N033
KXF06F4AA00
JOINT ジョイント
C-30-SG-22A,WHITE
1
N037
N980C30S-029
GROMMET グロメット
LSTD-2S
1V 1 N223LSTD2S
LED LED
M24
FN610062200AA_10-2

カバー部(3)
COVER SECT.(3)
2
FN610062200AA_10-3
M25