BM221 Parts list(Mechanical20140224) - 第89页
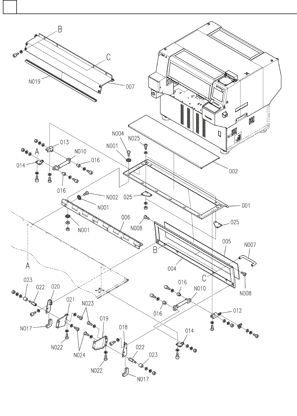
PART No. イラスト No. REF No. PART NAME REMARKS Q'TY 2 カバー部 (2)タイプC COVER S ECT.(2)TYPE-C 部 品 名 品 番 個数 備 考 R 1 R 2 S 1 A001 N610117100AA REAR C OVER(RIGHT) リアカハ ゙ー(RIGHT ) S 1 A002 N610117099AA REAR C OVER(LEFT) リアカバ…

カバー部(2)タイプC
COVER SECT.(2)TYPE-C
2
FN610063722AA_10-2
M57

PART No.
イラスト
No.
REF
No.
PART NAME
REMARKS
Q'TY
2
カバー部(2)タイプC
COVER SECT.(2)TYPE-C
部 品 名 品 番 個数
備 考
R
1
R
2
S
1
A001
N610117100AA
REAR COVER(RIGHT) リアカハ
゙ー(RIGHT)
S
1
A002
N610117099AA
REAR COVER(LEFT) リアカバー(LEFT)
1
010 N210029125AA
COVER カバー
1024 N210082742AA
BRACKET フ
゙ラケット
M58
FN610063722AA_10-2

カバー部(3)タイプC
COVER SECT.(3)TYPE-C
2
FN610063722AA_10-3
M59