BM221 Parts list(Mechanical20140224) - 第107页
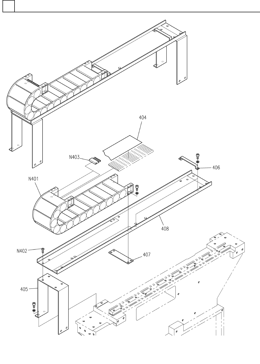
PART No. イラスト No. REF No. PA RT NAME REM ARKS Q'TY 4 Y軸部( 配線配管部) Y-AXIS SECT.(WIRING & PIPING SEC T.) 部 品 名 品 番 個数 備 考 R 1 R 2 1 10 86214400 WIRING & PIPING UNIT ハイセン ・ハイカンユニッ ト 1 404 108621440402 SHEET シート …

Y軸部(配線配管部)
Y-AXIS SECT.(WIRING & PIPING SECT.)
4
F10862-14-400-AE
M75

PART No.
イラスト
No.
REF
No.
PART NAME
REMARKS
Q'TY
4
Y軸部(配線配管部)
Y-AXIS SECT.(WIRING & PIPING SECT.)
部 品 名 品 番 個数 備 考
R
1
R
2
1 1086214400
WIRING & PIPING UNIT ハイセン
・ハイカンユニット
1
404 108621440402
SHEET シート
2
405 108620440502
STAND スタンド
2406 108620430502
BRACKET ブラケット
1407 108620440701
PLATE フ
゚レート
1
408 108621440803
GUIDE ガイド
280.12.075HF-13-2900.1
1
N401
N986280.-T39
FLEXIBLE DUCT フレキシブルダクト
M5X10,+,STEEL,Z.C.T
8
N402
XSS5+10FY
FLUSH HEAD SCREW サラコネシ
゙
3050.ZC
2
N403
N9863050.ZC
CLAMP クランフ
゚
M76
F10862-14-400-AE

Y軸部(ストロークチェンジ部)タイプB,C,D
Y-AXIS SECT.(STROKE CHANGE SECT.)TYPE-B,C,D
4
FN610060918AA_00
M77