BM221 Parts list(Mechanical20140224) - 第141页
PART No. イラスト No. REF No. PAR T NAME REMARKS Q'TY 11 ノズルチ ェンジ部 NOZZLE CHANGE SECT. 部 品 名 品 番 個数 備 考 R 1 R 2 1 1086219200 NOZZLE CHAN GE UNIT ノズ ルチェンジ ユニット 4 201 108621900102 STAND スタンド 1 202 N210048713AA PLATE …

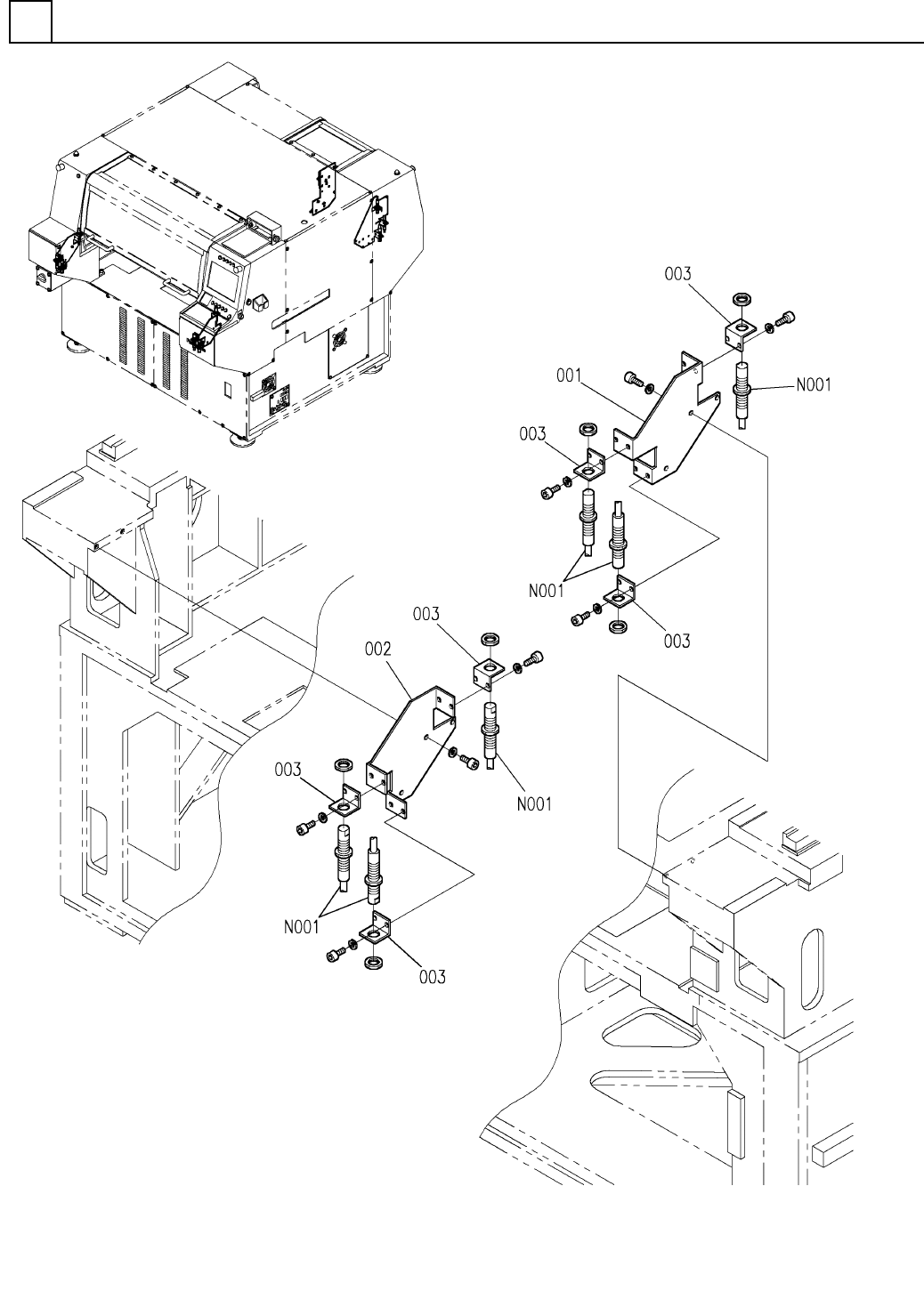
ノズルチェンジ部
NOZZLE CHANGE SECT.
11
F10862-19-200-AG_03
M109

PART No.
イラスト
No.
REF
No.
PART NAME
REMARKS
Q'TY
11
ノズルチェンジ部
NOZZLE CHANGE SECT.
部 品 名 品 番 個数
備 考
R
1
R
2
1 1086219200
NOZZLE CHANGE UNIT ノズ
ルチェンジユニット
4
201 108621900102
STAND スタンド
1
202 N210048713AA
PLATE プレート
1203 108621920301
BASE ヘ
゙ース
1204 1086289037
SHAFT シャフト
4
205 1086219005
LINK リンク
1
206 N610131425AA
VALVE バルブ
1207 1086219007
JOINT シ
゙ョイント
1208 1086219008
PLATE プレート
1
209 1086219209
PLATE プレート
1210 108621921001
PLATE プレート
1211 108621921101
PLATE フ
゚レート
1
212 N210048711AA
JOINT ジョイント
1
213 108621901302
PIN ピン
1214 1086219064
STOPPER ストッパー
2215 1086219014
SHEET シート
1
216 1086219066
SPRING バネ
1
217 1086289035
SHAFT シャフト
2218 1086289036
SHAFT シャフト
1219 1086219069
SPRING ハ
゙ネ
7
220 1086219020
COLLAR カラー
7
221 1086219071
PIN ピン
1223 1086219223
LABEL ラヘ
゙ル
MR105ZZ
2
N201
KXF05XVAA00
BEARING ベ
アリング
4,STEEL,T.T.C
10
N202
XUC4FT
RETAINING RING E-TYPE E ガタトメワ
CDU25-50D-A93
1
N203
N401CDU2-G77
CYLINDER シリンダ
AS1201F-M5-04
2
N204
N406AS12-014
SPEED CONTROLLER スピ
ードコントローラ
4X12,h7A,STEEL
2
N205
XPJ4C12FW
PARALLEL PIN ヘイコウピン
TU0425B
1
N206
N434TU0425B
TUBE チューブ
TU0425Y
1
N207
N434TU0425Y
TUBE チューブ
D-A93
2V 1 N401DA93
SENSOR センサ
VQZ1221B-5MO1-C4-X555
1
V 2 N510059432AA
VALVE バルブ
KJS06-M5
1
V 3 KXF029PAA00
FITTING ツギテ
AN120-M5
2V 4 KXF00WCAA00
SILENCER サイレンサ
M110
F10862-19-200-AG_03

エリアセンサ部(安全センサ部)
AREA SENSOR SECT.(SAFETY SENSOR SECT.)
12
FN610057717AA_00
M111