BM221 Parts list(Mechanical20140224) - 第144页
エリアセンサ 部(安全センサ 部) AREA S ENSOR SECT.(SA FETY SENSOR SECT.) 12 FN610057718AA_01 M113

PART No.
イラスト
No.
REF
No.
PART NAME
REMARKS
Q'TY
12
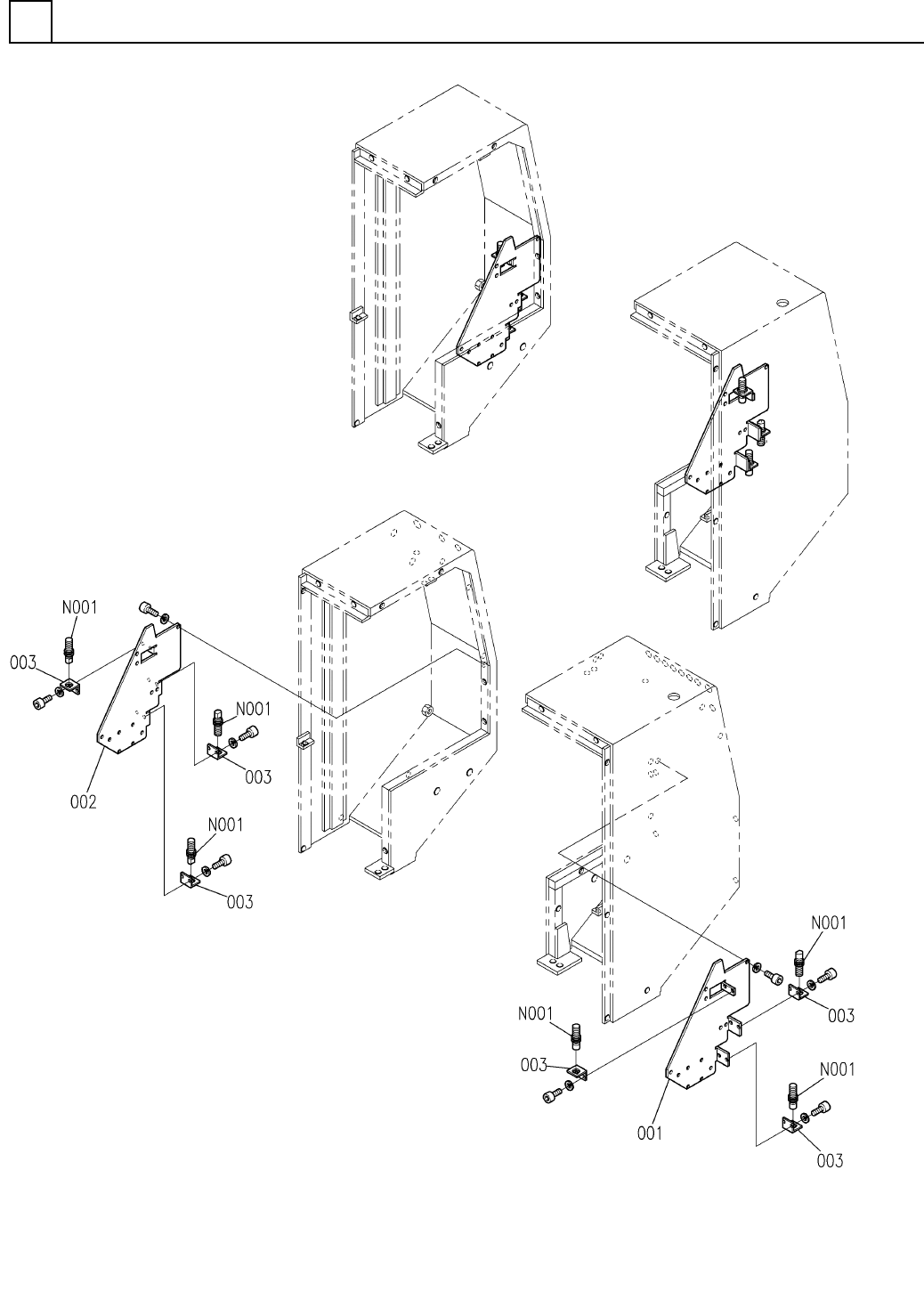
エリアセンサ部(安全センサ部)
AREA SENSOR SECT.(SAFETY SENSOR SECT.)
部 品 名 品 番 個数 備 考
R
1
R
2
1 N610057717AA
SENSOR UNIT センサユニット
1
001 108628965101
BRACKET ブラケット
1
002 108628965201
BRACKET ブラケット
6003 108628962401
BRACKET ブラケット
XU2-S18PP340WL5 S
3
N001
N310XU2S-102
SENSOR センサ
M112
FN610057717AA_00

エリアセンサ部(安全センサ部)
AREA SENSOR SECT.(SAFETY SENSOR SECT.)
12
FN610057718AA_01
M113

PART No.
イラスト
No.
REF
No.
PART NAME
REMARKS
Q'TY
12
エリアセンサ部(安全センサ部)
AREA SENSOR SECT.(SAFETY SENSOR SECT.)
部 品 名 品 番 個数 備 考
R
1
R
2
1 N610057718AA
SENSOR UNIT センサユニット
1
001 N210089133AA
BRACKET ブラケット
1
002 N210071588AB
BRACKET ブラケット
6003 108628962401
BRACKET ブラケット
XU2-S18PP340WL5 S
3
N001
N310XU2S-102
SENSOR センサ
M114
FN610057718AA_01