BM221 Parts list(Mechanical20140224) - 第147页
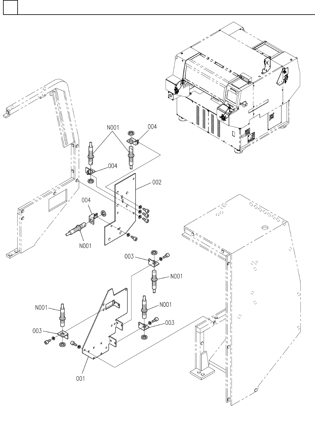
PART No. イラスト No. REF No. PA RT NAME REM ARKS Q'TY 12 エリアセンサ 部(安全センサ 部) AREA S ENSOR SECT.(SA FETY SENSOR SECT.) 部 品 名 品 番 個数 備 考 R 1 R 2 1 N610062260AA SENSOR U NIT センサユニット 1 001 N210089133AA BRACKET ブラケット 1 002 1…

エリアセンサ部(安全センサ部)
AREA SENSOR SECT.(SAFETY SENSOR SECT.)
12
FN610062260AA_01
M115

PART No.
イラスト
No.
REF
No.
PART NAME
REMARKS
Q'TY
12
エリアセンサ部(安全センサ部)
AREA SENSOR SECT.(SAFETY SENSOR SECT.)
部 品 名 品 番 個数 備 考
R
1
R
2
1 N610062260AA
SENSOR UNIT センサユニット
1
001 N210089133AA
BRACKET ブラケット
1
002 108628965402
BRACKET ブラケット
3003 108628962401
BRACKET ブラケット
3004 108628965301
BRACKET フ
゙ラケット
XU2-S18PP340WL5 S
3
N001
N310XU2S-102
SENSOR センサ
M116
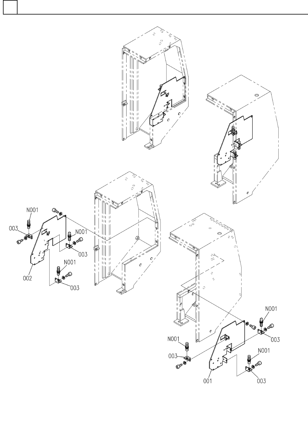
FN610062260AA_01

エリアセンサ部(安全センサ部)タイプC
AREA SENSOR SECT.(SAFETY SENSOR SECT.)TYPE-C
12
FN610062903AA_01
M117