BM221 Parts list(Mechanical20140224) - 第167页
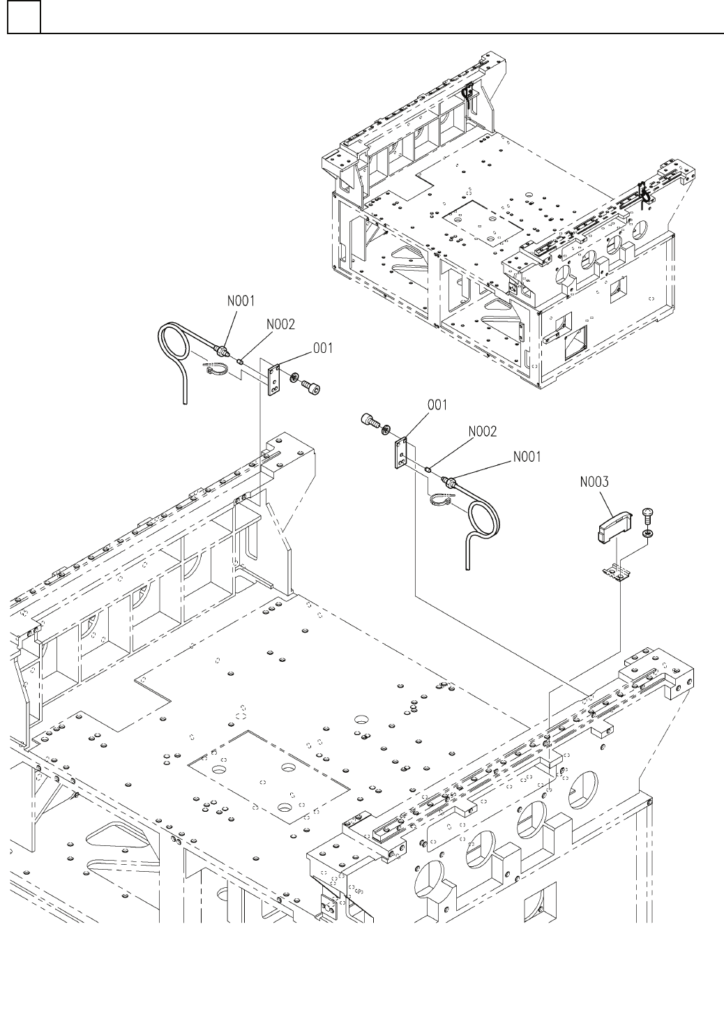
PART No. イラスト No. REF No. PART NAME REMARKS Q'TY 15 供給センサ部 (タイプC,E) SUPPLIE R SENSOR SECT. (TYPE-C,E) 部 品 名 品 番 個数 備 考 R 1 R 2 1 N610063362AA SUPPLY UNIT キョウキュウユニット 2 001 1086207151 BRACKE T ブラケット E32-T11R 1 N001 …

供給センサ部(タイプC,E)
SUPPLIER SENSOR SECT.(TYPE-C,E)
15
FN610063362AA_02
M135

PART No.
イラスト
No.
REF
No.
PART NAME
REMARKS
Q'TY
15
供給センサ部(タイプC,E)
SUPPLIER SENSOR SECT.(TYPE-C,E)
部 品 名 品 番 個数
備 考
R
1
R
2
1 N610063362AA
SUPPLY UNIT キョウキュウユニット
2
001 1086207151
BRACKET ブラケット
E32-T11R
1
N001
KXF0DZAPA00
SENSOR センサ
P916E
1
N002
N310P916E
SENSOR センサ
E3X-DA11-S-30
1
N003
N510059822AA
AMPLIFIER アンフ
゚
M136
FN610063362AA_02

トレイリフタ部(1)
TRAY LIFTER SECT.(1)
16
FN610065872AA_06-1
M137