BM221 Parts list(Mechanical20140224) - 第184页
T-W軸 部(1) T-W AX IS SECT.(1) 17 F10862-52-000-AK_0 1-1 M153

PART No.
イラスト
No.
REF
No.
PART NAME
REMARKS
Q'TY
16
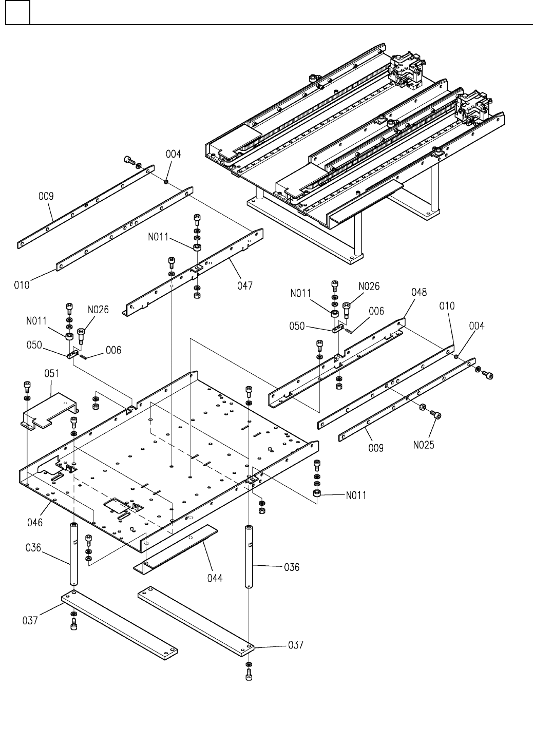
トレイリフタ部(8)
TRAY LIFTER SECT.(8)
部 品 名 品 番 個数
備 考
R
1
R
2
1064 1086201056
BRACKET フ
゙ラケット
1
065 1086201544
BRACKET ブラケット
1
066 108620154501
BRACKET ブラケット
4715KL-05W-B20-E00
2
N046
N510064313AA
FAN WITH MOTOR ファンモータ
PG-47-02(8130)
4
N047
N238PG47-091
COVER(FAN) カバー
(ファン)
M4X50-4.8 A2J (Trival
4
N048
N510018274AA
TRUSS HEAD SCREW トラスコネジ
M152
FN610065872AA_06-8

T-W軸部(1)
T-W AXIS SECT.(1)
17
F10862-52-000-AK_01-1
M153

PART No.
イラスト
No.
REF
No.
PART NAME
REMARKS
Q'TY
17
T-W軸部(1)
T-W AXIS SECT.(1)
部 品 名 品 番 個数 備 考
R
1
R
2
1 1086252000
TRAY DRAWING UNIT トレイヒキタ
゙シユニット
12
004 1086252004
COLLAR カラー
2
006 1086252006
SPRING スプリング
2009 108625200902
PLATE プレート
2010 108625201003
GUIDE カ
゙イド
4
036 1086252036
STAND スタンド
2
037 108625203701
PLATE プレート
1044 N210047491AA
COVER カハ
゙ー
1046 108625204601
FRAME フレーム
1
047 1086252047
BRACKET ブラケット
1048 1086252048
BRACKET ブラケット
2050 1086252050
LEVER レハ
゙ー
2
051 1086289726
COVER カバー
635ZZ
4
N011
XLC635ZZ
BALL BEARING ボールベアリング
M3X20-6G 4T A2J (Triva
1
N025
N510018847AA
HEXAGON HEAD BOLT ロッカクボルト
MSB5-10
2
N026
N986MSB510
BOLT ホ
゙ルト
M154
F10862-52-000-AK_01-1