BM221 Parts list(Mechanical20140224) - 第187页
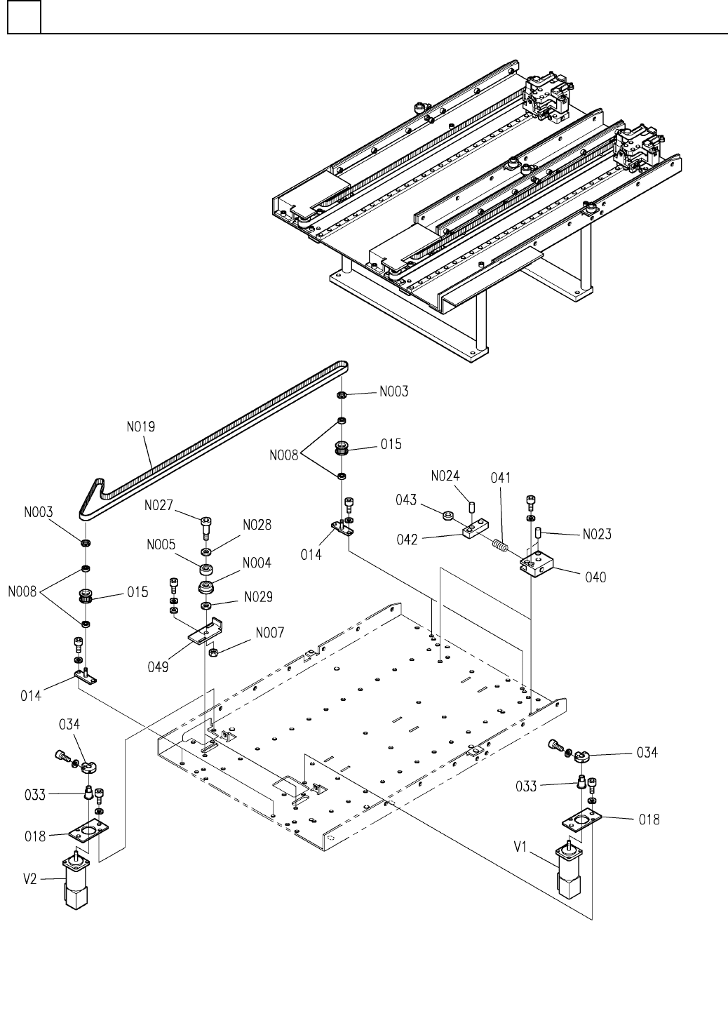
PART No. イラスト No. REF No. PA RT NAME REM ARKS Q'TY 17 T-W軸 部(2) T-W AX IS SECT.(2) 部 品 名 品 番 個数 備 考 R 1 R 2 12 004 1086252004 COLLAR カラー 2 009 108625200902 PLATE プレート 2 010 108625201003 GUIDE ガイ ド 2 021 108625202…

T-W軸部(2)
T-W AXIS SECT.(2)
17
F10862-52-000-AK_01-2
M155

PART No.
イラスト
No.
REF
No.
PART NAME
REMARKS
Q'TY
17
T-W軸部(2)
T-W AXIS SECT.(2)
部 品 名 品 番 個数 備 考
R
1
R
2
12004 1086252004
COLLAR カラー
2
009 108625200902
PLATE プレート
2
010 108625201003
GUIDE ガイド
2021 108625202103
BLOCK ブロック
2022 108625202205
BLOCK フ
゙ロック
2
023 104705232002
LEVER レバー
2
024 104705231902
LEVER レバー
2026 108625202601
CLAMPER クランハ
゚ー
4027 1086252027
PIN ヒ
゚ン
4
028 1086252028
PIN ピン
2029 1086252029
GUIDE ガイド
2030 108625203004
STOPPER ストッハ
゚
2
031 108625203101
LINEAR MOTION UNIT リニアモーションユニット
2
032 108625203201
LINEAR MOTION UNIT リニアモーションユニット
2035 108625203501
SPRING スプリング
2038 108628926701
BLOCK フ
゙ロック
M3X8
8
N012
N986YYYY-969
SCREW ネジ(テイトウロッカクアナツキ)
M5,2-TYPE,STAINLESS,ST
4
N014
XNGNU5YSZ
LOCK-NUT ロックナット
M3X8-4.8 A2J (Trivalen
4
N015
N510018161AA
FLUSH HEAD SCREW サラコネジ
CFS4
4
N016
N532CFS4
CAM FOLLOWER カムフォロア
M4,3-TYPE,STAINLESS(SU
4
N017
XNG4CYW5
HEXAGON NUT ロッカクナット
M5X12,STEEL,P.C,4T
4
N020
XVG5A12FP4
HEXAGON HEAD BOLT ロッカクボルト
M3X20-6G 4T A2J (Triva
1
N025
N510018847AA
HEXAGON HEAD BOLT ロッカクホ
゙ルト
M156
F10862-52-000-AK_01-2

T-W軸部(3)
T-W AXIS SECT.(3)
17
F10862-52-000-AK_01-3
M157