BM221 Parts list(Mechanical20140224) - 第197页
PART No. イラスト No. REF No. PAR T NAME REMARKS Q'TY 20 付属部品 部 ACCESS ORY PARTS SECT . 部 品 名 品 番 個数 備 考 R 1 R 2 1 1086201160 ACCESSORY P ARTS UNIT フゾ クブヒ ンユニット 1 161 1080731340 JIG ジグ 1 162 1086231138 PLATE プレ-ト 5…

付属部品部
ACCESSORY PARTS SECT.
20
F10862-01-160_02
M165

PART No.
イラスト
No.
REF
No.
PART NAME
REMARKS
Q'TY
20
付属部品部
ACCESSORY PARTS SECT.
部 品 名 品 番 個数
備 考
R
1
R
2
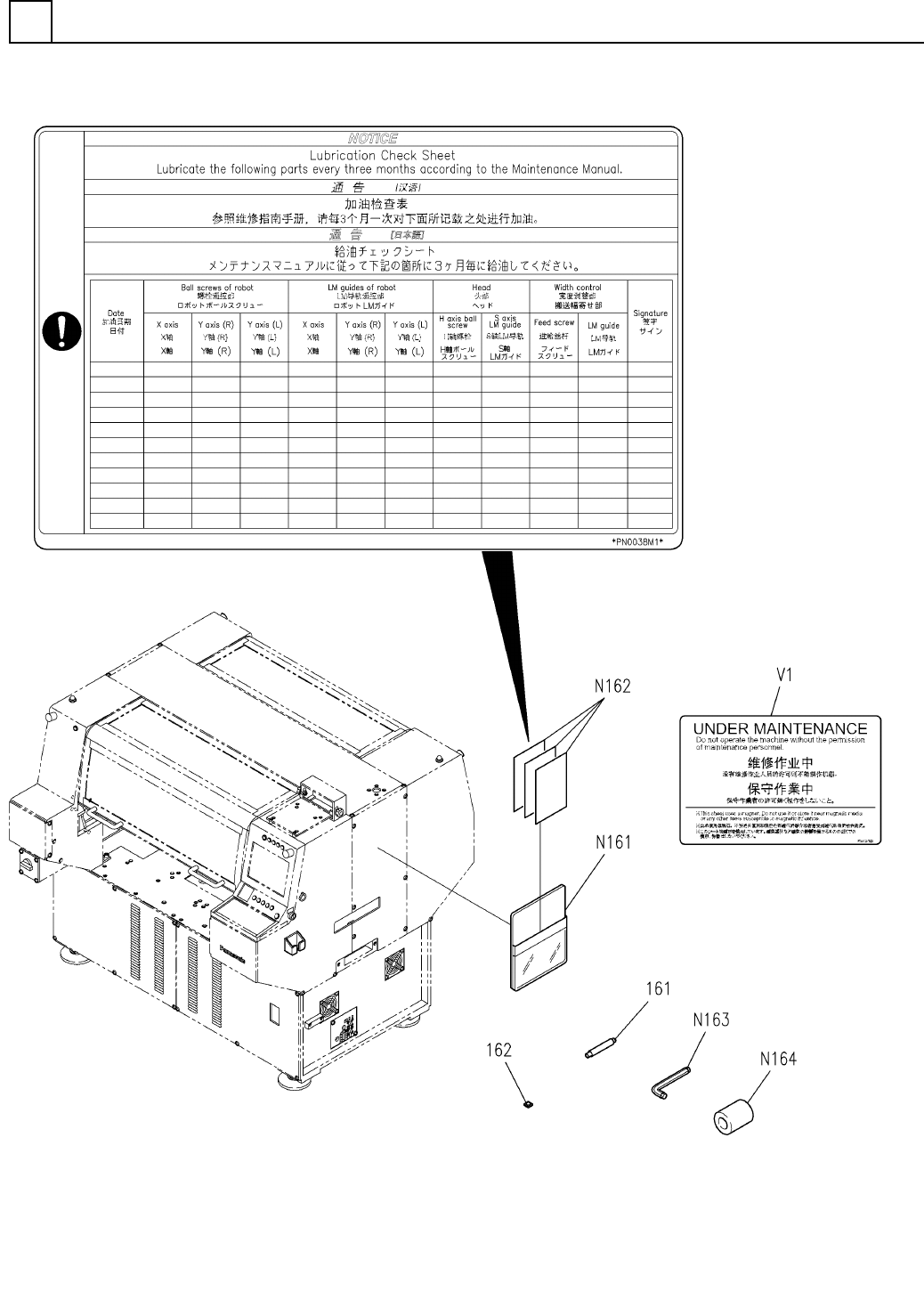
1 1086201160
ACCESSORY PARTS UNIT フゾ
クブヒンユニット
1
161 1080731340
JIG ジグ
1
162 1086231138
PLATE プレ-ト
500W
1
N161
N986YYYY-B55
POCKET ホ
゚ケット
PN0038M1
3
N162
N986PN0038M1
SHEET シート
LT10
1
N163
N510000061AA
WRENCH レンチ
ZCAT3035-1330 S
1
N164
J0KG00000014
FERRITE CORE フェライトコア
FN0024M1 S
2V 1 N510008559AA
LABEL ラヘ
゙ル
M166
F10862-01-160_02

付属部品部(1)
ACCESSORY PARTS SECT.(1)
20
F10862-01-650-AC_01-1
M167