BM221 Parts list(Mechanical20140224) - 第205页
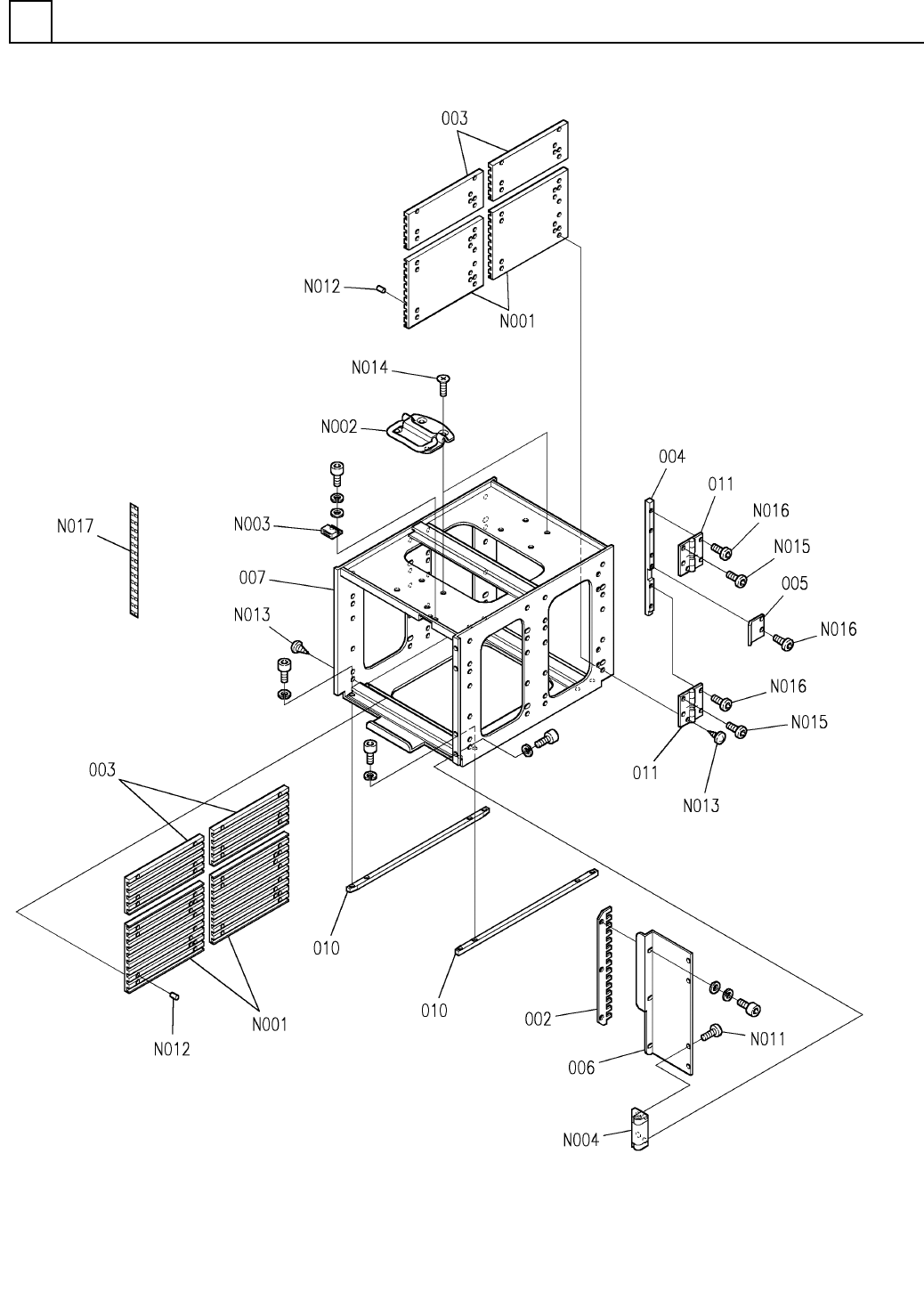
PART No. イラスト No. REF No. PA RT NAME REM ARKS Q'TY 21 連結部(本体 左側) JOINT SECT.(MAIN BOD Y LEFT SIDE) 部 品 名 品 番 個数 備 考 R 1 R 2 1 10 86287500 JOINT UN IT レンケツユニット 1 501 1086287002 BRACKET ブラケット M174 F10862-87-500

連結部(本体左側)
JOINT SECT.(MAIN BODY LEFT SIDE)
21
F10862-87-500
M173

PART No.
イラスト
No.
REF
No.
PART NAME
REMARKS
Q'TY
21
連結部(本体左側)
JOINT SECT.(MAIN BODY LEFT SIDE)
部 品 名 品 番 個数 備 考
R
1
R
2
1 1086287500
JOINT UNIT レンケツユニット
1
501 1086287002
BRACKET ブラケット
M174
F10862-87-500

マガジン部
MAGAZINE SECT.
22
FN610040946AA_05
M175