BM221 Parts list(Mechanical20140224) - 第214页
プリント基 板搬送部(手 動幅寄せ部) P.C.B. TRANSFER SECT .(MANUAL WID TH ADJUSTM ENT SECT.) 25 F10862-05-700-AB_0 2 M183

PART No.
イラスト
No.
REF
No.
PART NAME
REMARKS
Q'TY
24
シグナルタワー部(黄/白/緑)
SIGNAL TOWER SECT.(YELLOW/WHITE/GREEN)
部 品 名 品 番 個数
備 考
R
1
R
2
N610166657AA
1 1048152050
SIGNAL TOWER UNIT シグナルタワーユニット
LCE-302AFBW-YCG+B0910
1
N052
N510020875AC
SIGNAL TOWER シグナルタワー
SZ-80L-25+O0097
1
N053
N510068807AA
POLE ポール
SZ-011
1
N054
N224SZ011
STAND スタンド
B72100189-2F1
1V 1 N510068690AA
GLOBE(YELLOW) グローブ(キ)
B72100189-7F1
1
V 2 N510068693AA
GLOBE(WHITE) グローブ(シロ)
B72100189-3F1
1
V 3 N510068691AA
GLOBE(GREEN) グローブ(ミドリ)
M182
F10481-52-050_03

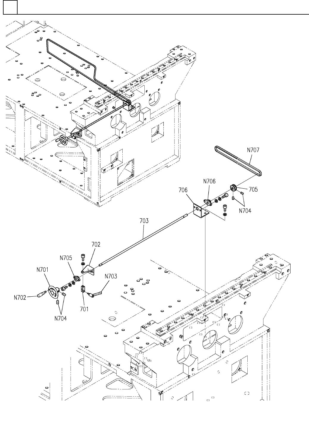
プリント基板搬送部(手動幅寄せ部)
P.C.B. TRANSFER SECT.(MANUAL WIDTH ADJUSTMENT SECT.)
25
F10862-05-700-AB_02
M183

PART No.
イラスト
No.
REF
No.
PART NAME
REMARKS
Q'TY
25
プリント基板搬送部(手動幅寄せ部)
P.C.B. TRANSFER SECT.(MANUAL WIDTH ADJUSTMENT SECT.)
部 品 名 品 番 個数 備 考
R
1
R
2
1 1086205700
MANUAL WIDTH CONTROL UNIT シュト
゙ウハバヨセユニット
1
701 1086205701
BLOCK ブロック
1
702 108620570201
BRACKET ブラケット
1703 N210028036AA
SHAFT シャフト
1705 N210028038AA
PULLEY フ
゚ーリー
1
706 108620570601
BRACKET ブラケット
D-80-AHC10
1
N701
N510033386AA
HANDLE ハンドル
GHR-16XM5
1
N702
N986GHR16M5
KNOB ノフ
゙
CLMS6-16-B
1
N703
N510012832AA
LEVER レハ
゙ー
M5X8-45H A2J (Trivalen
4
N704
N510018384AA
HEX. SOCKET SET SCREW ロッカクアナツキトメネジ
80FL-10
1
N705
N50580FL10
FLANGE UNIT オイレスピロ-
KFL000
1
N706
N505KFL000A
BEARING UNIT ベアリンク
゙ユニット
2100-3GT-9
1
N707
N64121003GT9
BELT ベルト
M184
F10862-05-700-AB_02