BM221 Parts list(Mechanical20140224) - 第229页
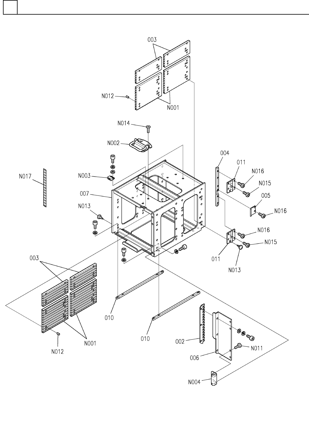
PART No. イラスト No. REF No. PA RT NAME REM ARKS Q'TY 28 マガシ ゙ン部 MAGAZI NE SECT. 部 品 名 品 番 個数 備 考 R 1 R 2 1 N6 10040946AA MAGAZINE UNIT マカ ゙ジンユニット 1 002 N210056592AA PLATE プレート 4 003 N210056586AA RACK ラック 1 004 N210…

マガジン部
MAGAZINE SECT.
28
FN610040946AA_05
M197

PART No.
イラスト
No.
REF
No.
PART NAME
REMARKS
Q'TY
28
マガジン部
MAGAZINE SECT.
部 品 名 品 番 個数 備 考
R
1
R
2
1 N610040946AA
MAGAZINE UNIT マカ
゙ジンユニット
1
002 N210056592AA
PLATE プレート
4
003 N210056586AA
RACK ラック
1004 N210078093AA
BLOCK ブロック
1005 N210056588AA
BRACKET フ
゙ラケット
1
006 N210068634AA
DOOR ドア
1
007 N210056590AB
RACK ラック
2010 N210068076AA
PLATE フ
゚レート
2011 N210064300AA
HINGE ヒンシ
゙
8
N001
108625102101
RACK(GUIDE) ラック(ガイド)
A-6-2
2
N002
N510023325AA
DRAWER PULL トッテ
TL-105S(1202)
1
N003
N982TL10-013
MAGNET マク
゙ネット
TH-84D-1(2528)
2
N004
N982TH2528
HINGE ヒンジ
TH-FH-M4X5L Trivalent
4
N011
N510028566AA
SCREW ネジ
3X8,h8B,STEEL
16
N012
XPJ3E8FW
PARALLEL PIN ヘイコウピン
3X8 A2J (Trivalent)
40
N013
N510018741AA
PAN HEAD TAPPING SCREW ナベ
タップタイトネジ
M5X6-4.8 A2J (Trivalen
8
N014
N510018196AA
FLUSH HEAD SCREW サラコネジ
TH-FH-M3X6L Trivalent
4
N015
N510028693AA
SCREW ネジ
TH-FH-M4X10L Trivalent
5
N016
N510028692AA
SCREW ネジ
1
N017
N510034205AA
LABEL ラヘ
゙ル
M198
FN610040946AA_05

ノズルチェンジ部
NOZZLE CHANGE SECT.
29
F10862-19-200-AG_03
M199