BM221 Parts list(Mechanical20140224) - 第234页
ノズル 部(専用部) NOZZLE SECT.(EXCLUSI VE SECT.) 30 F10862-89-890_01 M203

PART No.
イラスト
No.
REF
No.
PART NAME
REMARKS
Q'TY
30
ノズル部(0402ノズル部)
NOZZLE SECT.(0402 NOZZLE SECT.)
部 品 名 品 番 個数 備 考
R
1
R
2
1 N610061436AA
NOZZLE UNIT ノス
゙ルユニット
1
A001
1081709810AF
NOZZLE UNIT ノズルユニット
NON SUPPLY
1
A002
1086289890
NOZZLE UNIT ノズルユニット
M202
FN610061436AA_00

ノズル部(専用部)
NOZZLE SECT.(EXCLUSIVE SECT.)
30
F10862-89-890_01
M203

PART No.
イラスト
No.
REF
No.
PART NAME
REMARKS
Q'TY
30
ノズル部(専用部)
NOZZLE SECT.(EXCLUSIVE SECT.)
部 品 名 品 番 個数 備 考
R
1
R
2
NON SUPPLY
1 1086289890
NOZZLE UNIT ノス
゙ルユニット
1
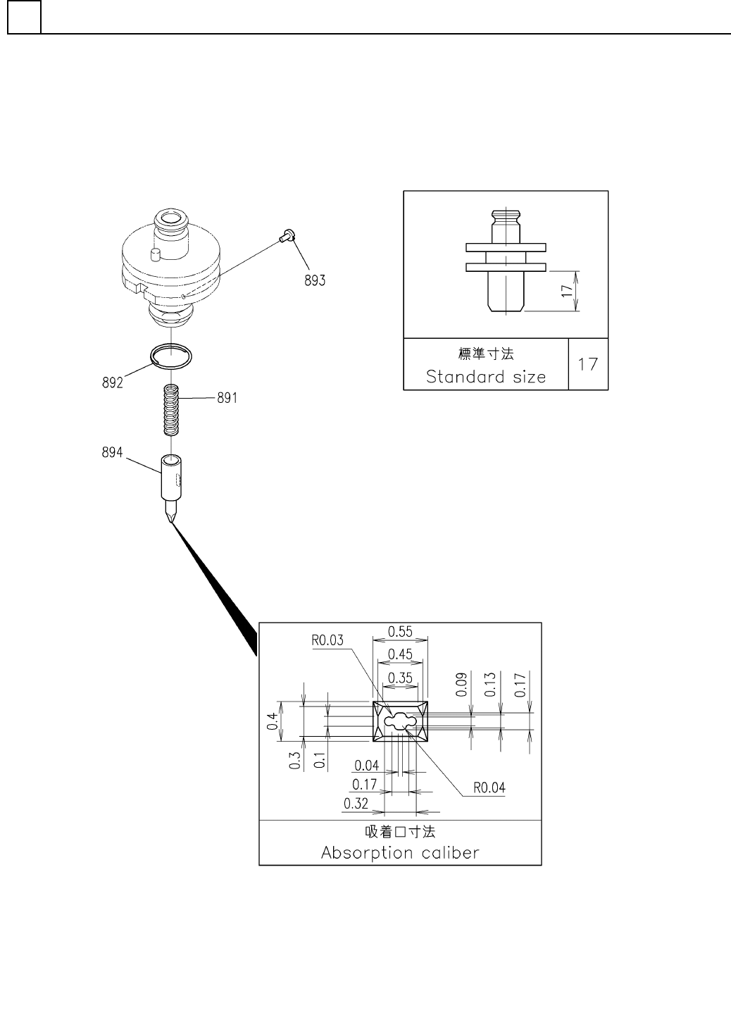
891 1081789771
SPRING バネ
1
892 1080708602
RING リング
1893 108070860301
GUIDE PIN ガイドピン
1894 1086289894
NOZZLE ノス
゙ル
M204
F10862-89-890_01