BM221 Parts list(Mechanical20140224) - 第243页
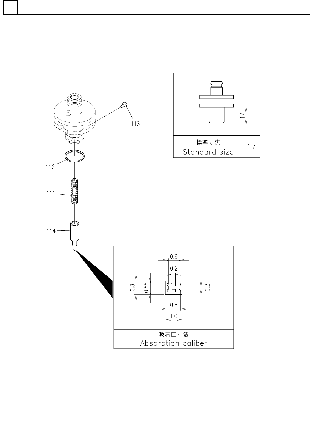
PART No. イラスト No. REF No. PA RT NAME REM ARKS Q'TY 30 ノズル 部(専用部) NOZZLE SECT.(EXCLUSI VE SECT.) 部 品 名 品 番 個数 備 考 R 1 R 2 NON SUPPLY 1 10 80788110 NOZZLE U NIT ノス ゙ルユニット 1 111 1081789771 SPRING バネ 1 112 1080708602 …

ノズル部(専用部)
NOZZLE SECT.(EXCLUSIVE SECT.)
30
F10807-88-110-AA_A
M211

PART No.
イラスト
No.
REF
No.
PART NAME
REMARKS
Q'TY
30
ノズル部(専用部)
NOZZLE SECT.(EXCLUSIVE SECT.)
部 品 名 品 番 個数 備 考
R
1
R
2
NON SUPPLY
1 1080788110
NOZZLE UNIT ノス
゙ルユニット
1
111 1081789771
SPRING バネ
1
112 1080708602
RING リング
1113 108070860301
GUIDE PIN ガイドピン
1114 104590800405
NOZZLE(SS) ノス
゙ル(SS)
M212
F10807-88-110-AA_A

ノズル部(S)
NOZZLE SECT.(S)
30
F10807-GH-812-AG
M213