BM221 Parts list(Mechanical20140224) - 第361页
PART No. イラスト No. REF No. PA RT NAME REM ARKS Q'TY 32 メカニカルチ ャック部(共通部 ) MECHANICAL CHUCK SECT.(CO MMON SE CT.) 部 品 名 品 番 個数 備 考 R 1 R 2 NON SUPPLY 1 10 81728400 MECHANIC AL CHUCK UNIT メカニカルチ ャックユニット 1 402 1047028502…

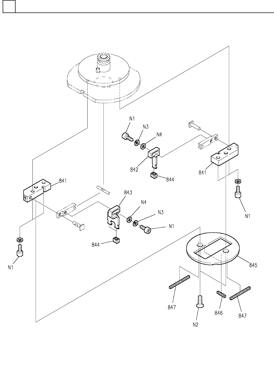
メカニカルチャック部(共通部)
MECHANICAL CHUCK SECT.(COMMON SECT.)
32
F10817-28-400-AL
M329

PART No.
イラスト
No.
REF
No.
PART NAME
REMARKS
Q'TY
32
メカニカルチャック部(共通部)
MECHANICAL CHUCK SECT.(COMMON SECT.)
部 品 名 品 番 個数 備 考
R
1
R
2
NON SUPPLY
1 1081728400
MECHANICAL CHUCK UNIT メカニカルチャックユニット
1
402 1047028502
SPRING バネ
1
403 1047028925
PIN ピン
1404 1047028926
PISTON ピストン
2405 1047028415
LEVER レハ
゙ー
1
406 1080709901
FILTER フィルタ
2
407 104702841601
PIN ピン
M4X3,STEEL,P.C
1N 2 XXE4C3FP
HEX. SOCKET SET SCREW ロッカクアナツキトメネシ
゙
M1.6X2,STEEL,P.C
3N 3 XXE16C02FP
HEX. SOCKET SET SCREW ロッカクアナツキトメネシ
゙
1
S 1 10817S0031
CHUCK FLANGE SET チャックフランジセット
M330
F10817-28-400-AL

メカニカルチャック部(専用部)
MECHANICAL CHUCK SECT.(EXCLUSIVE SECT.)
32
F10817-28-840-AB
M331