BM221 Parts list(Mechanical20140224) - 第390页
回収コ ンベア部 (4<3 2mm>) RECOVE RY CONVEYER SE CT.(4<32mm>) 39 F10896-80-400-AD_A -4 M359

PART No.
イラスト
No.
REF
No.
PART NAME
REMARKS
Q'TY
39
回収コンベア部(3<32mm>)
RECOVERY CONVEYER SECT.(3<32mm>)
部 品 名 品 番 個数 備 考
R
1
R
2
3404 1089680004
PIN ヒ
゚ン
1
407 104880800703
PIN ピン
1
408 104880800804
PIN ピン
1409 104979818002
BLOCK ブロック
1415 1089680015
JOINT シ
゙ョイント
1
416 1089680416
BLOCK(FRONT) ブロック(フロント)
1
417 104979812703
CLAMP クランプ
1418 1048808031
PIN ヒ
゚ン
1419 104880802802
PIN ヒ
゚ン
1
421 108968002101
PLATE プレート
1425 1089680025
BLOCK ブロック
1426 1089680426
RAIL レール
1
445 1089680445
COVER カバー
1
448 1089680448
BLOCK ブロック
3449 1089680005
COLLAR カラー
CCP-8030-682HC
2
N404
N322CCP8-385
CONNECTOR コネクタ
M3X8,+,STAINLESS(SUS30
2
N405
XSN3+8YW
PAN HEAD SCREW ナベコネジ
FSM3X0.5
4
N406
N986FSM30.5
NUT ナット
M3X6-4.8 A2J (Trivalen
6
N407
N510018253AA
TRUSS HEAD SCREW トラスコネジ
M3X6-4.8 A2J (Trivalen
18
N410
N510018158AA
FLUSH HEAD SCREW サラコネシ
゙
M3X10-4.8 A2J (Trivale
2
N411
N510018036AA
PAN HEAD SCREW ナベコネジ
M4X8-4.8 A2J (Trivalen
8
N417
N510018180AA
FLUSH HEAD SCREW サラコネジ
M3X6-4.8 A2J (Trivalen
4
N423
N510018056AA
PAN HEAD SCREW ナヘ
゙コネジ
3X10,m6A,STEEL
2
N429
XPJ3A10FW
PARALLEL PIN ヘイコウヒ
゚ン
CU-511
3
N430
N986CU511
SPACER スペーサ
CIMRS5-8-0.5
3
N431
N986C1MR-U16
SHIM シム
M358
F10896-80-400-AD_A-3

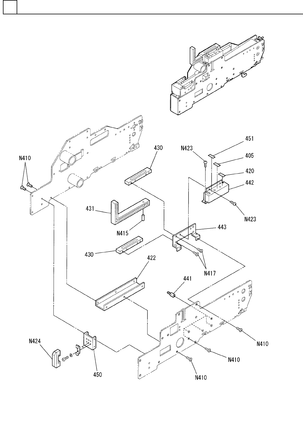
回収コンベア部(4<32mm>)
RECOVERY CONVEYER SECT.(4<32mm>)
39
F10896-80-400-AD_A-4
M359

PART No.
イラスト
No.
REF
No.
PART NAME
REMARKS
Q'TY
39
回収コンベア部(4<32mm>)
RECOVERY CONVEYER SECT.(4<32mm>)
部 品 名 品 番 個数 備 考
R
1
R
2
1405 1089680270
LABEL ラヘ
゙ル
1
420 1089680269
LABEL ラベル
1
422 1089680022
COVER カバー
2430 108968003001
PLATE プレート
1431 108968003101
GRIP ク
゙リップ
5
441 1089680041
PIN ピン
1
442 108968004201
COVER カバー
1443 108968004301
BRACKET フ
゙ラケット
1450 1089680450
BRACKET フ
゙ラケット
1
451 1089680552
LABEL ラベル
M3X6-4.8 A2J (Trivalen
14
N410
N510018158AA
FLUSH HEAD SCREW サラコネジ
8X30,H8B,STEEL
1
N415
XPJ8E30FW
PARALLEL PIN ヘイコウヒ
゚ン
M4X8-4.8 A2J (Trivalen
4
N417
N510018180AA
FLUSH HEAD SCREW サラコネジ
M3X6-4.8 A2J (Trivalen
6
N423
N510018056AA
PAN HEAD SCREW ナベコネジ
FS-V21
2
N424
N310FSV21
AMPLIFIER FOR SENSOR アンプユニット
M360
F10896-80-400-AD_A-4